Запчасти Komatsu WA70-1 ГИДРОЛИНИЯ ТРАНСМИССИИ (/)(№-999) ТРАНСМИССИЯ

Схема запчастей Komatsu WA70-1 - ГИДРОЛИНИЯ ТРАНСМИССИИ (/)(№-999) ТРАНСМИССИЯ
FIT
1:1
100%

Артикул

Название

Примечание

Количество

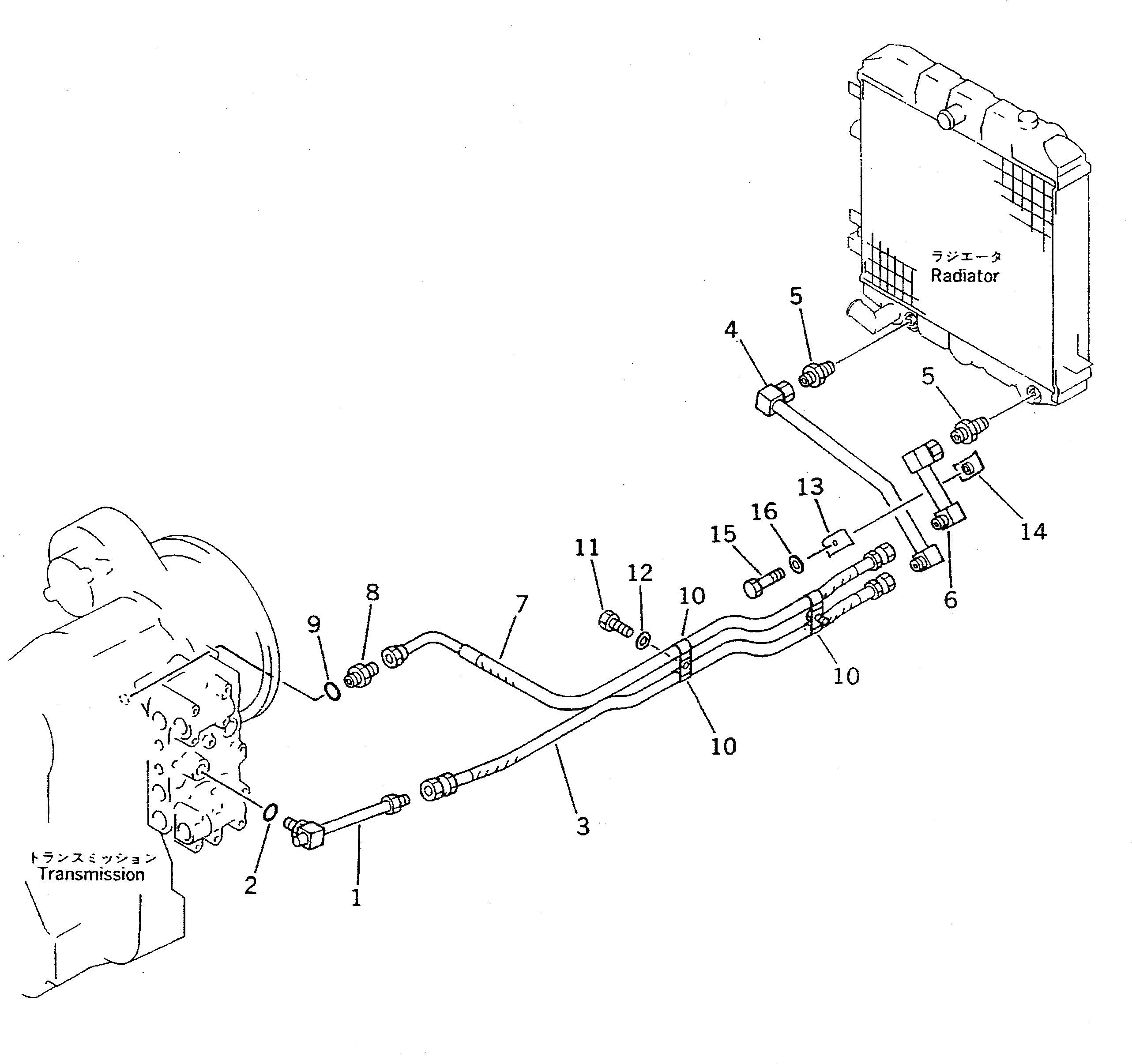
1

415-16-11460

TUBE

SN: 10001-11999

1шт.

2

07002-12434

O-RING

SN: 10001-@

1шт.

3

07102-20608

HOSE

SN: 10001-11999

1шт.

4

415-16-11481

TUBE

SN: 10001-11999

1шт.

5

415-16-11520

UNION

SN: 10001-11999

2шт.

6

416-16-11531

TUBE

SN: 10001-11999

1шт.

7

415-16-11540

HOSE

SN: 10001-11999

1шт.

8

07230-20628

UNION

SN: 10001-@

1шт.

9

07002-12434

O-RING

SN: 10001-@

1шт.

10

08036-03014

CLIP

SN: 10001-11999

4шт.

11

01010-51016

BOLT

SN: 10001-11999

2шт.

12

01643-31032

WASHER

SN: 10001-11999

2шт.

13

415-16-11560

CLIP

SN: 10001-11999

1шт.

14

415-16-11570

CLIP

SN: 10001-11999

1шт.

15

01010-51020

BOLT

SN: 10001-11999

1шт.

16

01643-31032

WASHER

SN: 10001-11999

1шт.

Выбрано товаров: 16