Запчасти Komatsu WA70-1-SN ОБОГРЕВАТЕЛЬ. (/)(№-999) СПЕЦ. APPLICATION ЧАСТИ

Схема запчастей Komatsu WA70-1-SN - ОБОГРЕВАТЕЛЬ. (/)(№-999) СПЕЦ. APPLICATION ЧАСТИ
FIT
1:1
100%

Артикул

Название

Примечание

Количество

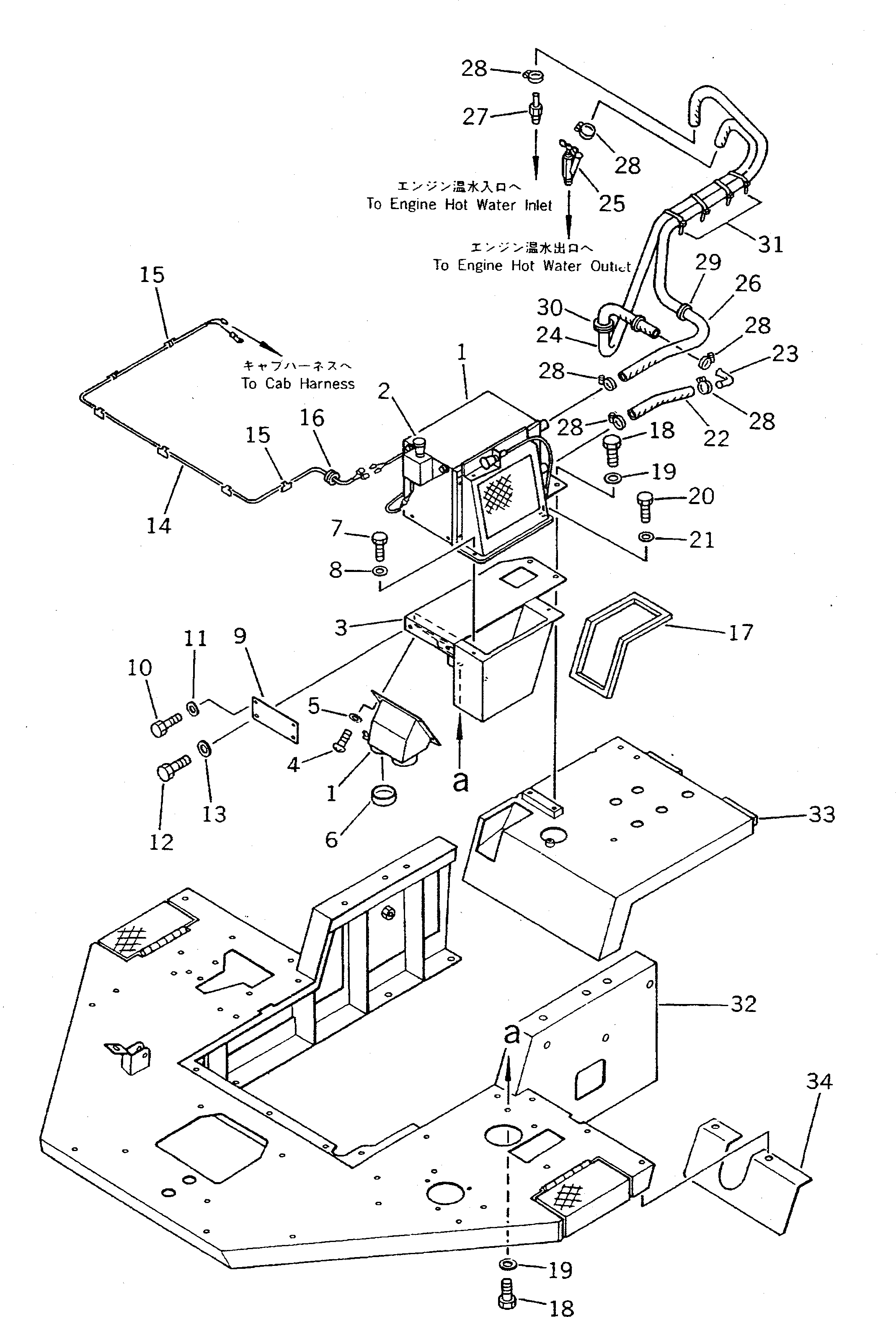
1

415-943-1110

HEATER ASS'Y

SN: 10001-@

1шт.

2

416-942-1160

SWITCH

SN: 10001-@

1шт.

3

415-943-1210

BRACKET

SN: 10001-11999

1шт.

4

01220-40308

SCREW

SN: 10001-@

4шт.

5

01641-20305

WASHER

SN: 10001-@

4шт.

6

416-942-1630

CAP

SN: 10001-@

1шт.

7

01010-50820

BOLT

SN: 10001-11999

1шт.

8

01643-30823

WASHER

SN: 10001-11999

1шт.

9

415-943-1220

PLATE

SN: 10001-@

1шт.

10

01010-50612

BOLT

SN: 10001-11999

2шт.

11

01643-30623

WASHER

SN: 10001-11999

2шт.

12

01010-51020

BOLT

SN: 10001-11999

2шт.

13

01643-31032

WASHER

SN: 10001-11999

2шт.

14

415-943-1610

WIRE ASS'Y

SN: 10001-@

1шт.

15

421-54-15520

CLIP

SN: 10001-11999

6шт.

16

08037-01610

GROMMET

SN: 10001-@

1шт.

17

415-943-1230

SHEET

SN: 10001-@

1шт.

18

01010-51020

BOLT

SN: 10001-11999

4шт.

19

01643-31032

WASHER

SN: 10001-11999

4шт.

20

01010-50820

BOLT

SN: 10001-11999

1шт.

21

01643-30823

WASHER

SN: 10001-11999

1шт.

22

09483-00502

HOSE

SN: 10001-11999

1шт.

23

415-943-1320

PIPE

SN: 10001-11999

1шт.

24

09483-00509

HOSE

SN: 10001-11999

1шт.

25

415-943-1310

CONNECTOR

SN: 10001-@

1шт.

26

09483-00512

HOSE

SN: 10001-11999

1шт.

27

416-942-1560

CONNECTOR

SN: 10001-@

1шт.

28

07281-00259

CLAMP

SN: 10001-@

6шт.

29

08037-02512

GROMMET

SN: 10001-@

2шт.

30

08037-03614

GROMMET

SN: 10001-11999

1шт.

31

08034-00536

BAND

SN: 10001-11999

5шт.

32

415-943-1651

FRAME,FLOOR (MODIFIED PART)

SN: 10001-11999

1шт.

33

415-943-1621

FENDER,L.H. (MODIFIED PART)

SN: 10001-11999

1шт.

34

415-943-1770

PLATE,(MODIFIED PART)

SN: 10001-11999

1шт.

Выбрано товаров: 34