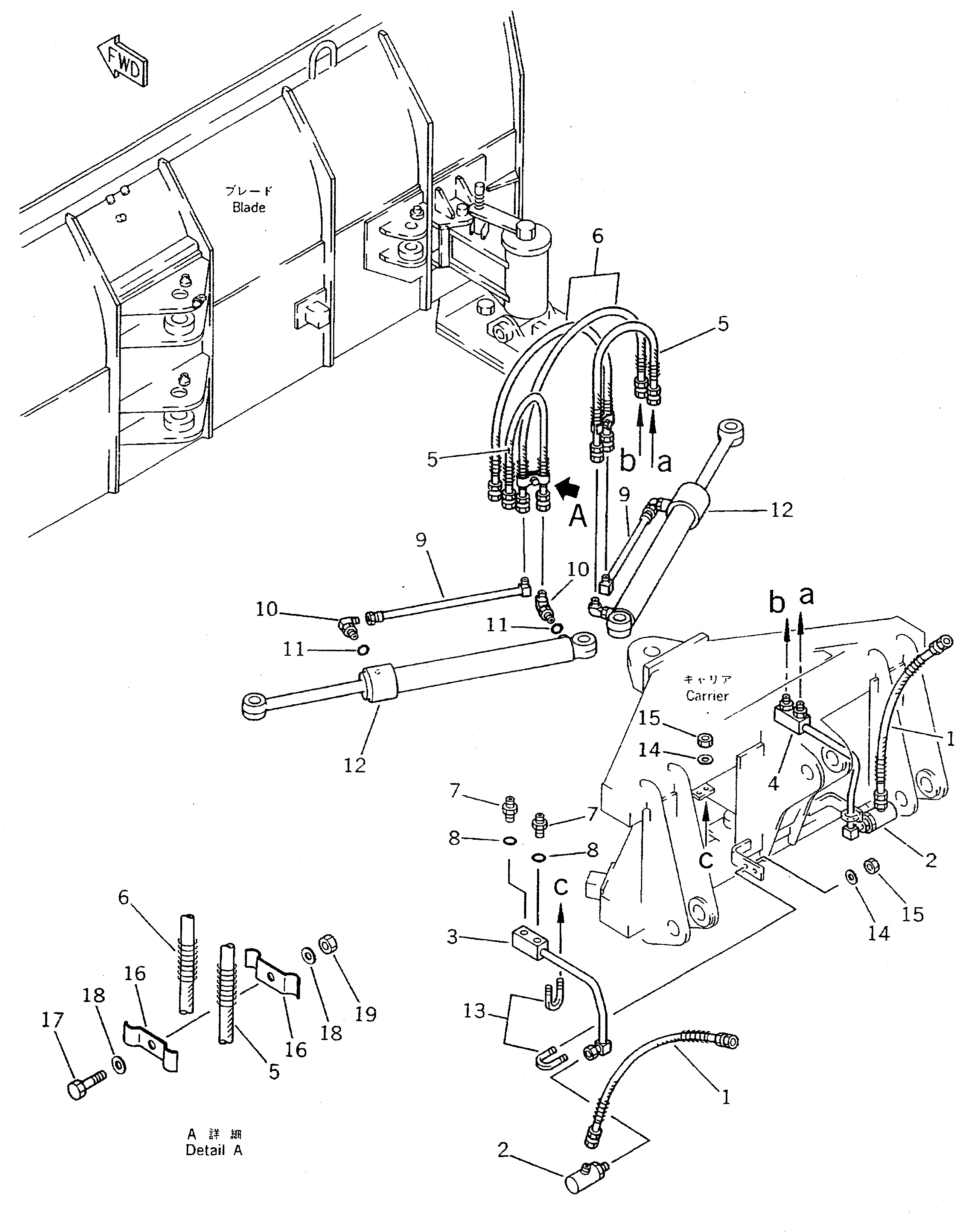
Запчасти Komatsu WA70-1-SN PITCH И ANGLE SNOW PНИЗ. (/) (ЦИЛИНДР НАКЛОНА ЛИНИЯ) СПЕЦ. APPLICATION ЧАСТИ

Схема запчастей Komatsu WA70-1-SN - PITCH И ANGLE SNOW PНИЗ. (/) (ЦИЛИНДР НАКЛОНА ЛИНИЯ) СПЕЦ. APPLICATION ЧАСТИ
FIT
1:1
100%

Артикул

Название

Примечание

Количество

1

415-904-1220

HOSE

SN: .-UP

2шт.

|1

07123-20307

HOSE

SN: 10001-.

2шт.

2

41H-879-1600

JOINT,SWIVEL

SN: .-UP

2шт.

|2

07129-10300

JOINT,SWIVEL

SN: 10001-.

2шт.

3

415-904-1311

TUBE,L.H.

SN: .-UP

1шт.

|3

415-904-1310

TUBE,L.H.

SN: 10001-.

1шт.

4

415-904-1321

TUBE,R.H.

SN: .-UP

1шт.

|4

415-904-1320

TUBE,R.H.

SN: 10001-.

1шт.

5

07123-20306

HOSE

SN: 10001-UP

2шт.

6

07123-20308

HOSE

SN: 10001-UP

2шт.

7

07230-10315

UNION

SN: 10001-UP

4шт.

8

07002-12034

O-RING

SN: 10001-UP

4шт.

9

415-904-1331

TUBE

SN: 10001-UP

2шт.

10

07235-10315

ELBOW

SN: 10001-UP

4шт.

11

07002-12034

O-RING

SN: 10001-UP

4шт.

12

707-00-50511

CYLINDER ASS'Y,ANGLE

SN: (016)-UP

2шт.

|12

0

CYLINDER ASS'Y,ANGLE

SN: 10001-(0015)

2шт.

13

07283-21529

CLIP

SN: 10001-UP

4шт.

14

01643-30823

WASHER

SN: 10001-UP

8шт.

15

01598-00809

NUT

SN: 10001-UP

8шт.

16

112-901-1250

CLAMP

SN: 10001-UP

4шт.

17

01010-31030

BOLT

SN: 10001-UP

2шт.

18

01643-31032

WASHER

SN: 10001-UP

4шт.

19

01580-01008

NUT

SN: 10001-UP

2шт.

Выбрано товаров: 0