Запчасти Komatsu WA70-1-SN УПРАВЛЯЮЩ. КЛАПАН (ДЛЯ S.P.A.P.)(№-999) СПЕЦ. APPLICATION ЧАСТИ

Схема запчастей Komatsu WA70-1-SN - УПРАВЛЯЮЩ. КЛАПАН (ДЛЯ S.P.A.P.)(№-999) СПЕЦ. APPLICATION ЧАСТИ
FIT
1:1
100%

Артикул

Название

Примечание

Количество

|1

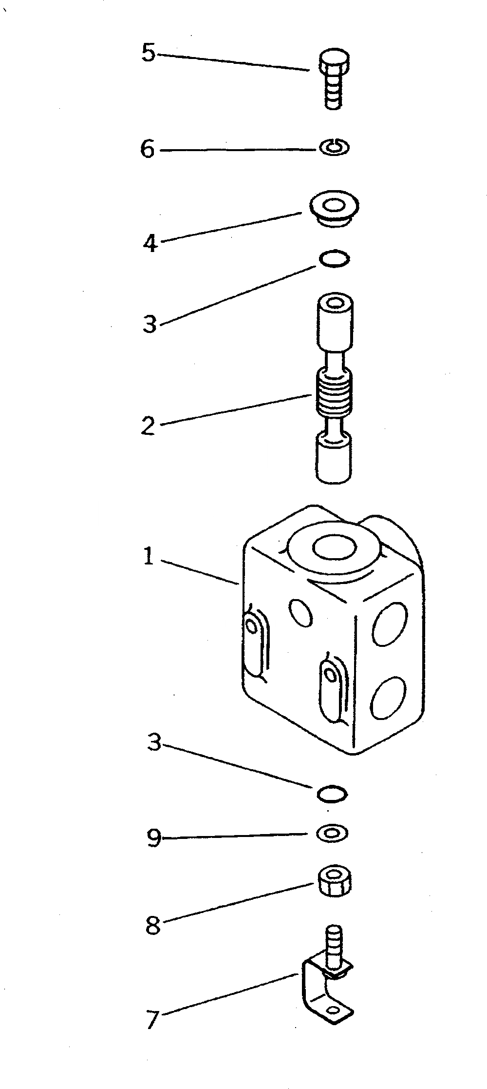
416-878-1511

VALVE ASS'Y

SN: 10001-11999

1шт.

1

416-878-1710

BODY

SN: 10001-@

1шт.

2

416-878-1721

SPOOL

SN: 10001-@

1шт.

3

07000-13035

O-RING

SN: 10001-@

2шт.

4

416-878-1740

STOPPER

SN: 10001-11999

1шт.

5

01252-40820

BOLT

SN: 10001-@

1шт.

6

01602-20825

WASHER,SPRING

SN: 10001-@

1шт.

7

416-878-1480

JOINT

SN: 10001-11999

1шт.

8

02216-10808

NUT

SN: 10001-@

1шт.

9

416-878-1730

WASHER

SN: 10001-@

1шт.

Выбрано товаров: 0