Запчасти Komatsu WA70-1-SN SLED СПЕЦ. APPLICATION ЧАСТИ

Схема запчастей Komatsu WA70-1-SN - SLED СПЕЦ. APPLICATION ЧАСТИ
FIT
1:1
100%

Артикул

Название

Примечание

Количество

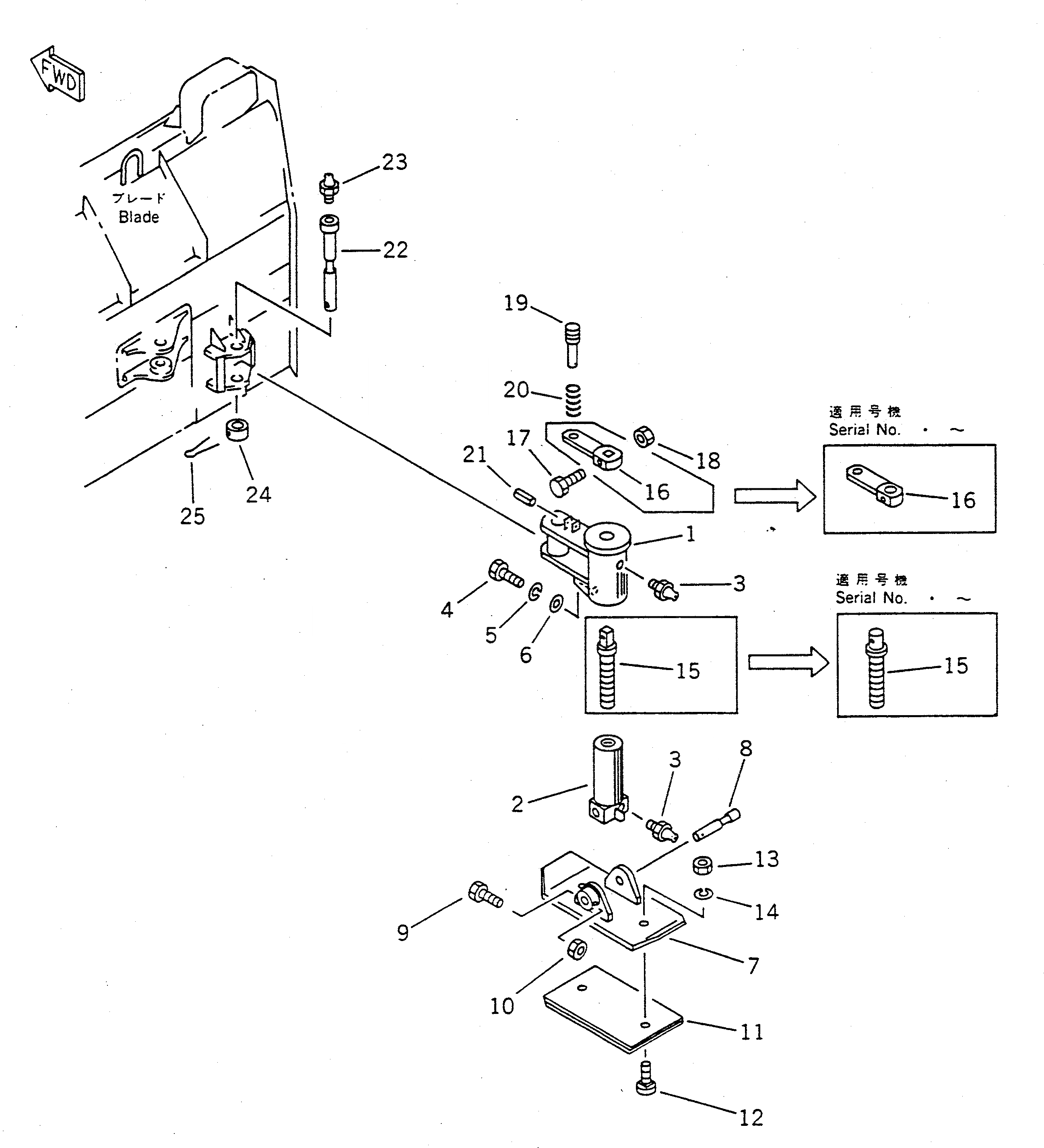
|1

415-904-1400

SLED ASS'Y

SN: 10001-UP

2шт.

1

415-904-1410

SUPPORT

SN: 10001-UP

1шт.

2

415-904-1420

HOLDER

SN: 10001-UP

1шт.

3

07020-00000

FITTING,GREASE

SN: 10001-UP

2шт.

4

01010-31230

BOLT

SN: 10001-UP

1шт.

5

01602-21236

WASHER,SPRING

SN: 10001-UP

1шт.

6

01643-31232

WASHER

SN: 10001-UP

1шт.

7

415-904-1430

SLED

SN: 10001-UP

1шт.

8

423-904-1470

PIN

SN: 10001-UP

1шт.

9

01010-61075

BOLT

SN: 10001-UP

1шт.

10

01598-01011

NUT

SN: 10001-UP

1шт.

11

415-904-1451

PLATE

SN: .-UP

1шт.

|11

0

PLATE

SN: 10001-.

1шт.

12

02090-10840

BOLT

SN: 10001-UP

2шт.

13

02290-10813

NUT

SN: 10001-UP

2шт.

14

01602-01338

WASHER,SPRING

SN: 10001-UP

2шт.

15

423-904-1461

SCREW,SET

SN: .-UP

1шт.

|15

0

SCREW,SET

SN: 10001-.

1шт.

|$$19

(423-904-1461{423-904-1441¤}

-1шт.

|$$20

01010-31270{01598-01214)}

-1шт.

16

423-904-1441

LEVER

SN: .-UP

1шт.

|16

0

LEVER

SN: 10001-.

1шт.

|$$23

(423-904-1441{423-904-1461¤}

-1шт.

|$$24

01010-31270{01598-01214)}

-1шт.

17

01010-61270

BOLT

SN: .-UP

1шт.

|17

01010-31070

BOLT

SN: 10001-.

1шт.

18

01596-01211

NUT

SN: .-UP

1шт.

|18

01596-01009

NUT

SN: 10001-.

1шт.

19

423-904-1491

PIN

SN: 10001-UP

1шт.

20

423-904-1520

SPRING

SN: 10001-UP

1шт.

21

04025-00650

PIN,SPRING

SN: 10001-UP

1шт.

22

415-904-1480

PIN

SN: 10001-UP

1шт.

23

07020-00000

FITTING,GREASE

SN: 10001-UP

1шт.

24

423-904-1510

COLLAR

SN: 10001-UP

1шт.

25

04050-16070

PIN,COTTER

SN: 10001-UP

1шт.

Выбрано товаров: 35