Запчасти Komatsu WA70-5 AXIAL ПОРШЕНЬ НАСОС, С SPEED УПРАВЛ-Е AXIAL ПОРШЕНЬ НАСОС, С SPEED УПРАВЛ-Е

Схема запчастей Komatsu WA70-5 - AXIAL ПОРШЕНЬ НАСОС, С SPEED УПРАВЛ-Е AXIAL ПОРШЕНЬ НАСОС, С SPEED УПРАВЛ-Е
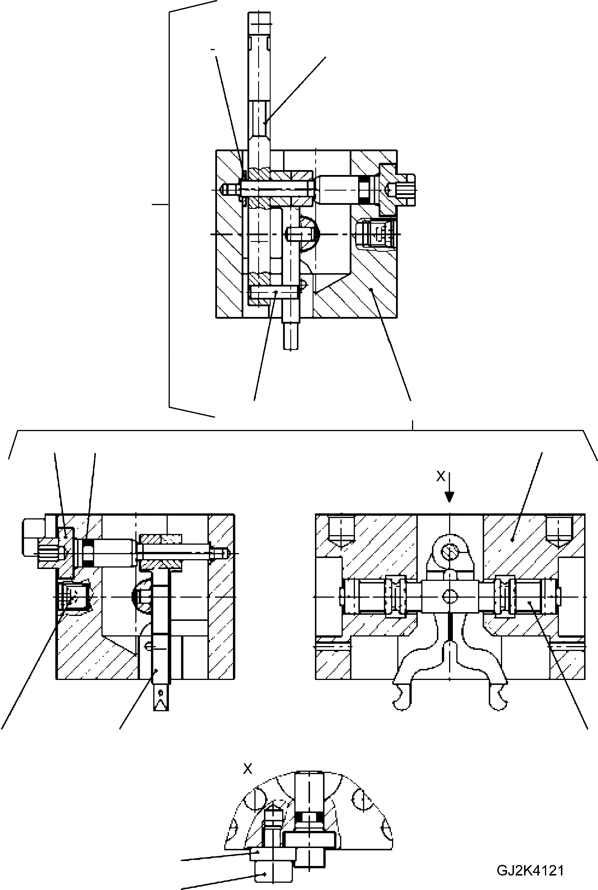
13
18
11
1
12
2
3
6
10
5
4
7
9
8
FIT
1:1
100%

Артикул

Название

Примечание

Количество

1

42U-17-H0S80

ACTUATER

1шт.

2

42R-17-H0T10

TIMING GEAR CASE

1шт.

3

42U-17-H0S87

HOUSING

1шт.

4

42U-17-H0S88

PISTON

1шт.

5

42U-17-H0S89

LEVER

1шт.

6

42U-17-H0S90

PEG

1шт.

7

42U-17-H0S73

PLUG

2шт.

8

42U-17-H0S91

SCREW

1шт.

9

42U-17-H0S92

DISC

1шт.

10

42R-17-H0R25

O-RING

1шт.

11

42U-17-H0S81

LEVER

1шт.

12

42R-17-H0T12

PEG

1шт.

13

42R-17-H0T13

DISC

1шт.

14

42U-17-H0S82

DISC

1шт.

15

42U-17-H0S83

DISC

1шт.

16

42U-17-H0S84

DISC

1шт.

17

42U-17-H0S85

DISC

1шт.

18

42U-17-H0S86

DISC

1шт.

Выбрано товаров: 18