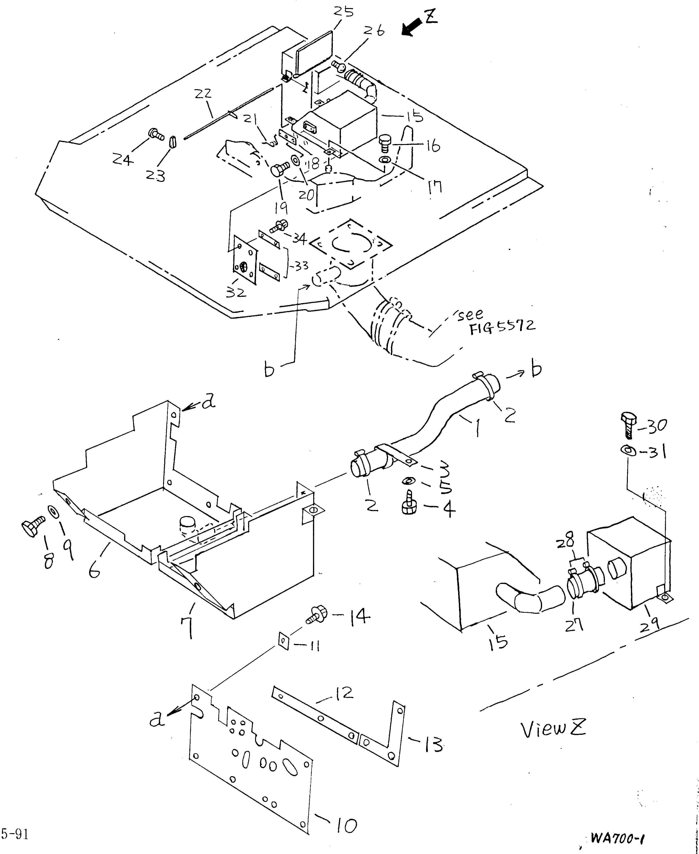
Запчасти Komatsu WA700-1 ТОПЛИВН. FIRE ОБОГРЕВАТЕЛЬ. (/) РАМА И ЧАСТИ КОРПУСА

Схема запчастей Komatsu WA700-1 - ТОПЛИВН. FIRE ОБОГРЕВАТЕЛЬ. (/) РАМА И ЧАСТИ КОРПУСА
FIT
1:1
100%

Артикул

Название

Примечание

Количество

1

428-W93-1530

HOSE

SN: 10001-UP

1шт.

2

07281-00549

CLAMP

SN: 10001-UP

2шт.

3

427-W93-1490

CLIP

SN: 10001-UP

1шт.

4

01010-51016

BOLT

SN: 10001-UP

1шт.

5

01643-31032

WASHER

SN: 10001-UP

1шт.

6

428-W93-1310

COVER

SN: 10001-UP

1шт.

7

428-W93-1290

COVER

SN: 10001-UP

1шт.

8

01010-51016

BOLT

SN: 10001-UP

6шт.

9

01643-31032

WASHER

SN: 10001-UP

6шт.

10

428-W93-1320

RUBBER

SN: 10001-UP

1шт.

11

428-W93-1350

PLATE

SN: 10001-UP

1шт.

12

428-W93-1340

PLATE

SN: 10001-UP

1шт.

13

428-W93-1330

PLATE

SN: 10001-UP

1шт.

14

01435-01016

BOLT

SN: 10001-UP

7шт.

15

41E-W93-1990

BOX

SN: 10001-UP

1шт.

16

01010-51020

BOLT

SN: 10001-UP

3шт.

17

01643-31032

WASHER

SN: 10001-UP

3шт.

18

41E-W93-2130

PLATE

SN: 10001-UP

1шт.

19

01010-51020

BOLT

SN: 10001-UP

2шт.

20

01643-31032

WASHER

SN: 10001-UP

2шт.

21

417-963-1910

SPRING

SN: 10001-UP

1шт.

22

428-W93-1580

BAR

SN: 10001-UP

1шт.

23

416-942-1920

LEVER

SN: 10001-UP

1шт.

24

01235-40308

SCREW

SN: 10001-UP

1шт.

25

41E-W93-2110

PLATE

SN: 10001-UP

1шт.

26

01235-40306

SCREW

SN: 10001-UP

4шт.

27

07260-33210

HOSE

SN: 10001-UP

1шт.

28

07281-00609

CLAMP

SN: 10001-UP

2шт.

29

428-W93-1490

BOX

SN: 10001-UP

1шт.

30

01010-50816

BOLT

SN: 10001-UP

3шт.

31

01643-30823

WASHER

SN: 10001-UP

3шт.

32

428-W93-1510

RUBBER

SN: 10001-UP

1шт.

33

428-W93-1520

PLATE

SN: 10001-UP

2шт.

34

01435-01020

BOLT

SN: 10001-UP

4шт.

Выбрано товаров: 0