Запчасти Komatsu WA700-1 ГИДРОЛИНИЯ (ЛИНИЯ ОХЛАЖДЕНИЯ) (/) УПРАВЛ-Е РАБОЧИМ ОБОРУДОВАНИЕМ

Схема запчастей Komatsu WA700-1 - ГИДРОЛИНИЯ (ЛИНИЯ ОХЛАЖДЕНИЯ) (/) УПРАВЛ-Е РАБОЧИМ ОБОРУДОВАНИЕМ
FIT
1:1
100%

Артикул

Название

Примечание

Количество

|$0

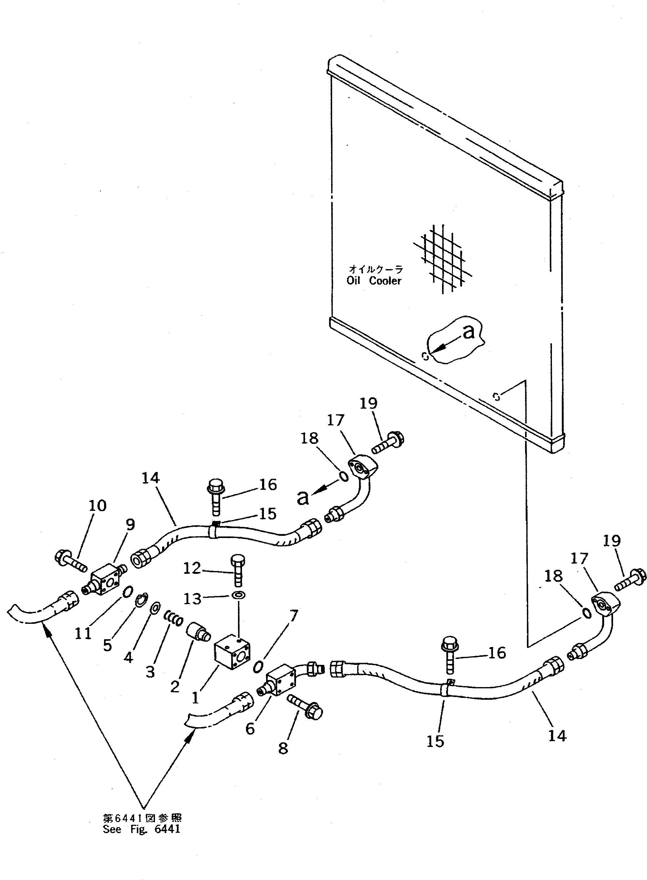
427-62-15420

VALVE ASS'Y

SN: 10001-UP

1шт.

1

427-62-15430

BODY

SN: 10001-UP

1шт.

2

427-62-15440

POPPET

SN: 10001-UP

1шт.

3

427-62-15450

SPRING

SN: 10001-UP

1шт.

4

427-62-15460

SEAT

SN: 10001-UP

1шт.

5

04065-05020

RING,SNAP

SN: 10001-UP

1шт.

6

428-62-15331

BLOCK

SN: 10001-UP

1шт.

7

07000-F2060

O-RING

SN: 10001-UP

1шт.

8

01435-01270

BOLT

SN: 10001-UP

4шт.

9

428-62-15360

BLOCK

SN: 10001-UP

1шт.

10

01435-01270

BOLT

SN: 10001-UP

4шт.

11

07000-F2060

O-RING

SN: 10001-UP

1шт.

12

01010-81295

BOLT

SN: 10001-UP

2шт.

13

01643-31232

WASHER

SN: 10001-UP

2шт.

14

07102-21410

HOSE

SN: 10001-UP

2шт.

15

419-09-11150

CLIP

SN: 10001-UP

2шт.

16

01435-01220

BOLT

SN: 10001-UP

2шт.

17

428-62-15310

TUBE

SN: 10001-UP

2шт.

18

07000-F3045

O-RING

SN: 10001-UP

2шт.

19

01435-01270

BOLT

SN: 10001-UP

4шт.

Выбрано товаров: 20