Запчасти Komatsu WA700-1 КОВШ¤ 8.M (БЕЗ TOOTH) РАБОЧЕЕ ОБОРУДОВАНИЕ

Схема запчастей Komatsu WA700-1 - КОВШ¤ 8.M (БЕЗ TOOTH) РАБОЧЕЕ ОБОРУДОВАНИЕ
FIT
1:1
100%

Артикул

Название

Примечание

Количество

|$0

428-806-1201

BUCKET ASS'Y

SN: 10001-UP

1шт.

|$1

0

BUCKET ASS'Y

SN: (10001-.)

1шт.

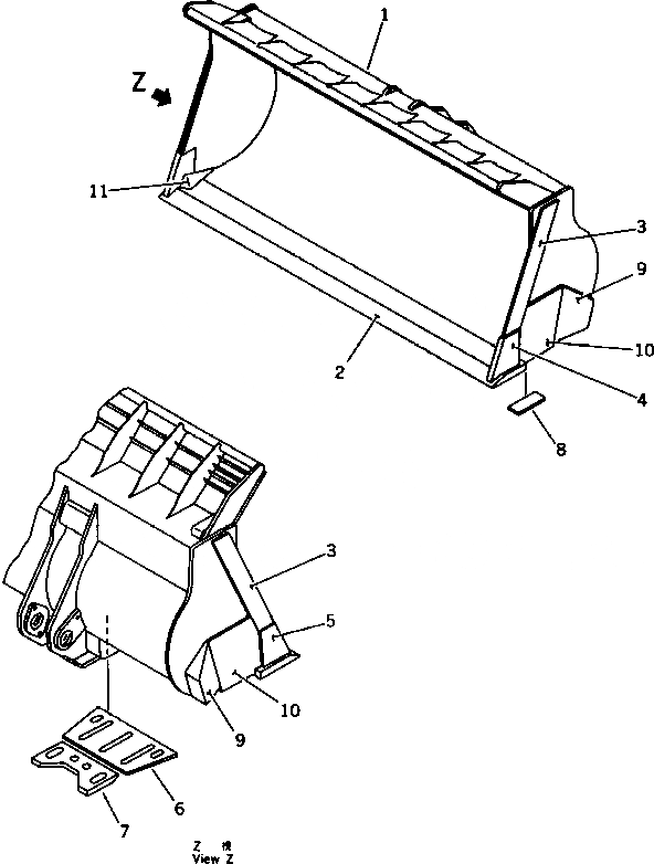
1

428-806-1111

BUCKET

SN: 10001-UP

1шт.

1

0

BUCKET

SN: (10001-.)

1шт.

2

428-806-1121

EDGE (WELDED)

SN: .-UP

1шт.

2

428-806-1120

EDGE (WELDED)

SN: 10001-.

1шт.

3

428-70-12132

PLATE (WELDED)

SN: 10001-UP

2шт.

4

428-70-12151

PLATE,L.H. (WELDED)

SN: .-UP

1шт.

4

428-70-12150

PLATE,L.H. (WELDED)

SN: 10001-.

1шт.

5

428-70-12161

PLATE,R.H. (WELDED)

SN: .-UP

1шт.

5

428-70-12160

PLATE,R.H. (WELDED)

SN: 10001-.

1шт.

6

428-70-12243

PLATE (WELDED)

SN: 10001-UP

2шт.

6

0

PLATE (WELDED)

SN: (10001-.)

2шт.

7

428-70-12250

PLATE (WELDED)

SN: 10001-UP

2шт.

8

428-70-12D70

PLATE,L.H. (WELDED)

SN: .-UP

1шт.

8

428-70-12D80

PLATE,R.H. (WELDED)

SN: .-UP

1шт.

8

428-70-12262

PLATE (WELDED)

SN: 10001-.

2шт.

9

428-816-1330

PLATE (WELDED)

SN: 10001-UP

2шт.

10

426-809-1320

GUSSET (WELDED)

SN: 10001-UP

2шт.

Выбрано товаров: 19