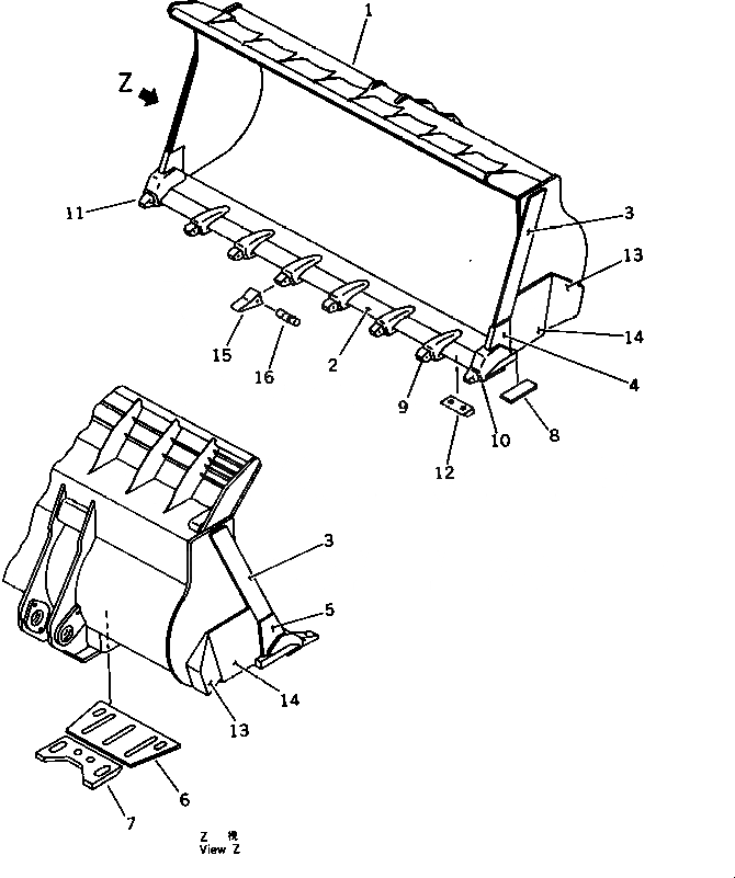
Запчасти Komatsu WA700-1 КОВШ¤ 8.M (С ЗУБЬЯМИ) РАБОЧЕЕ ОБОРУДОВАНИЕ

Схема запчастей Komatsu WA700-1 - КОВШ¤ 8.M (С ЗУБЬЯМИ) РАБОЧЕЕ ОБОРУДОВАНИЕ
FIT
1:1
100%

Артикул

Название

Примечание

Количество

|$0

428-816-1202

BUCKET ASS'Y

SN: .-UP

1шт.

|$1

428-816-1201

BUCKET ASS'Y

SN: 10001-.

1шт.

|$2

428-816-1212

BUCKET,(WITH ADAPTER TOOTH)

SN: .-UP

1шт.

|$3

0

BUCKET,(WITH ADAPTER TOOTH)

SN: 10001-.

1шт.

|$4

0

BUCKET,(WITH ADAPTER TOOTH)

SN: (10001-.)

1шт.

1

428-806-1111

BUCKET

SN: 10001-UP

1шт.

1

0

BUCKET

SN: (10001-.)

1шт.

2

428-806-1121

EDGE (WELDED)

SN: .-UP

1шт.

2

428-806-1120

EDGE (WELDED)

SN: 10001-.

1шт.

3

428-70-12132

PLATE (WELDED)

SN: 10001-UP

3шт.

4

428-70-12151

PLATE,L.H. (WELDED)

SN: .-UP

1шт.

4

428-70-12150

PLATE,L.H. (WELDED)

SN: 10001-.

1шт.

5

428-70-12161

PLATE,R.H. (WELDED)

SN: .-UP

1шт.

5

428-70-12160

PLATE,R.H. (WELDED)

SN: 10001-.

1шт.

6

428-70-12243

PLATE (WELDED)

SN: 10001-UP

2шт.

6

0

PLATE (WELDED)

SN: (10001-.)

2шт.

7

428-70-12250

PLATE (WELDED)

SN: 10001-UP

2шт.

8

428-70-12D70

PLATE,L.H. (WELDED)

SN: .-UP

1шт.

8

428-70-12262

PLATE (WELDED)

SN: 10001-.

1шт.

8A

428-70-12D80

PLATE,R.H. (WELDED)

SN: .-UP

1шт.

8A

428-70-12262

PLATE (WELDED)

SN: 10001-UP

1шт.

9

427-70-13743

ADAPTER (WELDED)

SN: .-UP

6шт.

9

427-70-13742

ADAPTER (WELDED)

SN: 10001-.

6шт.

10

427-70-13754

ADAPTER,L.H. (WELDED)

SN: .-UP

1шт.

10

427-70-13753

ADAPTER,L.H. (WELDED)

SN: 10001-.

1шт.

11

427-70-13764

ADAPTER,R.H. (WELDED)

SN: .-UP

1шт.

11

427-70-13763

ADAPTER,R.H. (WELDED)

SN: 10001-.

1шт.

12

428-70-12411

PLATE (WELDED)

SN: 10001-UP

7шт.

13

428-816-1330

PLATE (WELDED)

SN: 10001-UP

2шт.

14

427-70-13731

TOOTH

SN: 10001-UP

8шт.

15

427-70-13770

PIN

SN: 10001-UP

8шт.

Выбрано товаров: 31