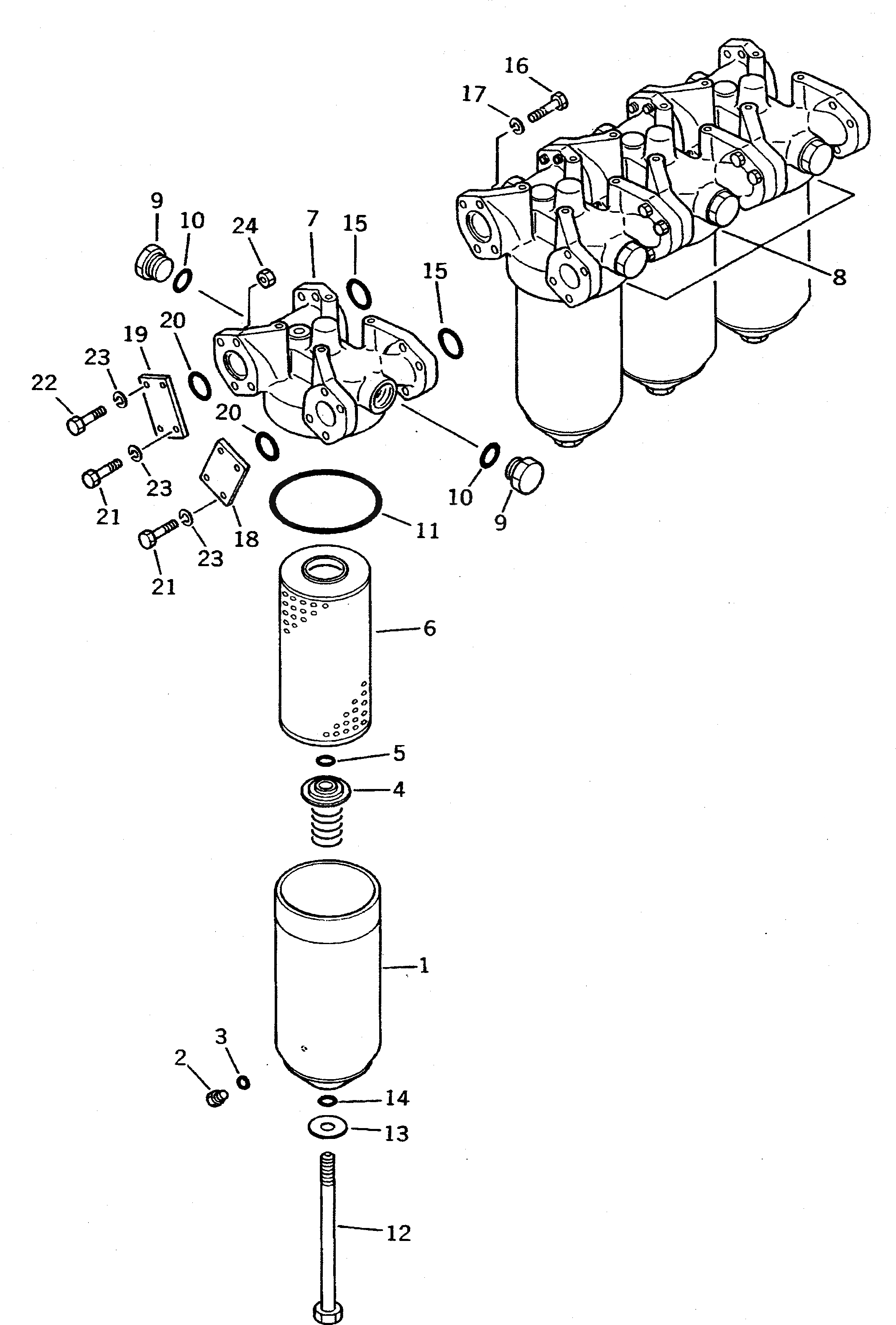
Запчасти Komatsu WA700-1 ТОРКФЛОУ МАСЛ. ФИЛЬТР ГИДРОТРАНСФОРМАТОР И ТРАНСМИССИЯ

Схема запчастей Komatsu WA700-1 - ТОРКФЛОУ МАСЛ. ФИЛЬТР ГИДРОТРАНСФОРМАТОР И ТРАНСМИССИЯ
FIT
1:1
100%

Артикул

Название

Примечание

Количество

|$0

428-16-11151

OIL FILTER ASS'Y

SN: 10001-UP

1шт.

1

424-16-11161

CASE

SN: 10001-UP

4шт.

2

07040-11209

PLUG

SN: 10001-UP

4шт.

3

07002-11223

O-RING

SN: 10001-UP

4шт.

4

424-16-11191

SPRING

SN: 10001-UP

4шт.

5

424-16-11630

O-RING

SN: 10001-UP

4шт.

6

424-16-11140

ELEMENT

SN: 10001-UP

4шт.

7

425-16-11282

COVER,HEAD

SN: 10001-UP

1шт.

8

425-16-11132

COVER,HEAD

SN: 10001-UP

3шт.

9

425-16-11240

PLUG

SN: 10001-UP

4шт.

10

07002-13334

O-RING

SN: 10001-UP

4шт.

11

424-16-11130

O-RING

SN: 10001-UP

4шт.

12

424-16-11171

BOLT

SN: 10001-UP

4шт.

13

424-16-11621

WASHER

SN: 10001-UP

4шт.

14

424-16-11630

O-RING

SN: 10001-UP

4шт.

15

07000-13038

O-RING

SN: 10001-UP

6шт.

16

01010-81040

BOLT

SN: 10001-UP

18шт.

17

01602-21030

WASHER,SPRING

SN: 10001-UP

18шт.

18

425-16-11260

PLATE

SN: 10001-UP

1шт.

19

425-16-11270

PLATE

SN: 10001-UP

1шт.

20

07000-13038

O-RING

SN: 10001-UP

2шт.

21

01010-81025

BOLT

SN: 10001-UP

5шт.

22

01010-81040

BOLT

SN: 10001-UP

3шт.

23

01602-21030

WASHER,SPRING

SN: 10001-UP

8шт.

24

01580-11008

NUT

SN: 10001-UP

3шт.

Выбрано товаров: 25