Запчасти Komatsu WA700-1L ГИДРОЛИНИЯ (ВОЗВРАТН. ЛИНИЯ) (/) УПРАВЛ-Е РАБОЧИМ ОБОРУДОВАНИЕМ

Схема запчастей Komatsu WA700-1L - ГИДРОЛИНИЯ (ВОЗВРАТН. ЛИНИЯ) (/) УПРАВЛ-Е РАБОЧИМ ОБОРУДОВАНИЕМ
22
11
10
13
12
6
7
9
24
8
23
25
19
21
20
8
9
7
15
17
18
4
5
14
3
26
1
6
2
16
FIT
1:1
100%

Артикул

Название

Примечание

Количество

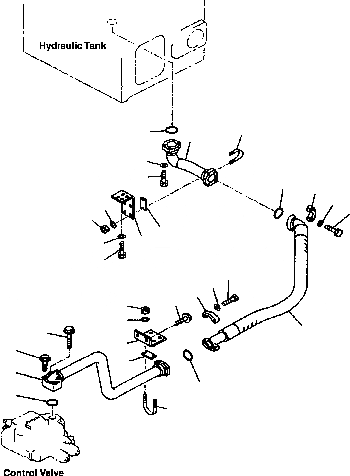
1

428-62-13640

TUBE

1шт.

2

07000-F2060

O-RING

1шт.

3

01435-01270

BOLT

2шт.

4

01435-01285

BOLT

2шт.

5

07114-02016

HOSE

1шт.

6

07000-12060

O-RING

2шт.

7

07371-32076

FLANGE, SPLIT

4шт.

8

07372-21240

BOLT

8шт.

9

01643-51232

WASHER

8шт.

10

428-62-14121

TUBE

1шт.

11

07000-F2060

O-RING

1шт.

12

07372-21240

BOLT

4шт.

13

01643-51232

WASHER

4шт.

14

428-62-13722

PLATE

1шт.

15

01435-01240

BOLT

2шт.

16

07283-36163

CLIP

2шт.

17

01597-01009

NUT

4шт.

18

01643-31032

WASHER

2шт.

19

428-62-13833

PLATE

1шт.

20

01010-81030

BOLT

4шт.

21

01643-31032

WASHER

4шт.

22

07283-36163

CLIP

2шт.

23

01597-01009

NUT

4шт.

24

01643-31032

WASHER

4шт.

25

07283-56170

SEAT

2шт.

26

07283-56170

SEAT

2шт.

Выбрано товаров: 26