Запчасти Komatsu WA700-3 КАБИНА (ПОГРУЗ. METER УПРАВЛ-Е)(№-7) КАБИНА ОПЕРАТОРА И СИСТЕМА УПРАВЛЕНИЯ

Схема запчастей Komatsu WA700-3 - КАБИНА (ПОГРУЗ. METER УПРАВЛ-Е)(№-7) КАБИНА ОПЕРАТОРА И СИСТЕМА УПРАВЛЕНИЯ
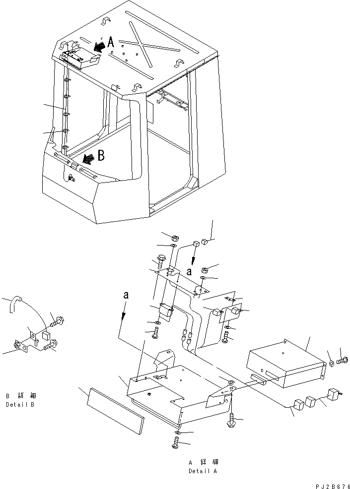
1
2
2
3
3
4
5
6
7
7
8
8
9
10
11
12
12
13
14
15
15
15
16
17
18
18
19
20
21
22
23
24
25
FIT
1:1
100%

Артикул

Название

Примечание

Количество

1

7822-04-2002

CONTROL BOX,LOAD METER

SN: 51001-UP

1шт.

1

7822-03-3003

CONTROL BOX,LOAD METER

SN: 50001-51000

1шт.

2

01220-40616

SCREW

SN: 50001-UP

6шт.

3

01643-30623

WASHER

SN: 50001-UP

6шт.

4

207-06-31160

BUZZER

SN: 50001-UP

1шт.

5

01220-40412

SCREW

SN: 50001-UP

2шт.

6

01580-60403

NUT

SN: 50001-UP

2шт.

7

01640-20408

WASHER

SN: 50001-UP

4шт.

8

569-06-61960

RELAY

SN: 50001-UP

2шт.

9

287-06-16420

BRACKET

SN: 50001-UP

2шт.

10

01220-40616

SCREW

SN: 50001-UP

2шт.

11

01580-10605

NUT

SN: 50001-UP

2шт.

12

01643-30623

WASHER

SN: 50001-UP

4шт.

13

421-06-11561

SWITCH

SN: 50001-UP

1шт.

14

426-U94-2160

WIRING HARNESS

SN: 51001-UP

1шт.

14

425-U94-2140

WIRING HARNESS

SN: 50001-51000

1шт.

15

421-U94-2541

WIRING HARNESS

SN: 50001-UP

1шт.

16

08053-00912

CLIP

SN: 50001-UP

1шт.

17

426-01-11310

BRACKET

SN: 50001-UP

1шт.

18

01435-01016

BOLT

SN: 50001-UP

2шт.

19

08034-20519

BAND

SN: 50001-UP

5шт.

20

42C-U94-1210

BOX

SN: 50001-UP

1шт.

21

01435-01225

BOLT

SN: 50001-UP

2шт.

22

01643-01232

WASHER

SN: 50001-UP

2шт.

23

421-U94-2520

COVER

SN: 50001-UP

1шт.

24

01435-00612

BOLT

SN: 50001-UP

4шт.

25

421-U94-2590

PLATE

SN: 50001-UP

1шт.

Выбрано товаров: 0