Запчасти Komatsu WA700-3 КРЕПЛЕНИЕ И ПАТРУБКИ КОНДИЦИОНЕРА (КРЕПЛЕНИЕ КОНДИЦИОНЕРА)(№-) КАБИНА ОПЕРАТОРА И СИСТЕМА УПРАВЛЕНИЯ

Схема запчастей Komatsu WA700-3 - КРЕПЛЕНИЕ И ПАТРУБКИ КОНДИЦИОНЕРА (КРЕПЛЕНИЕ КОНДИЦИОНЕРА)(№-) КАБИНА ОПЕРАТОРА И СИСТЕМА УПРАВЛЕНИЯ
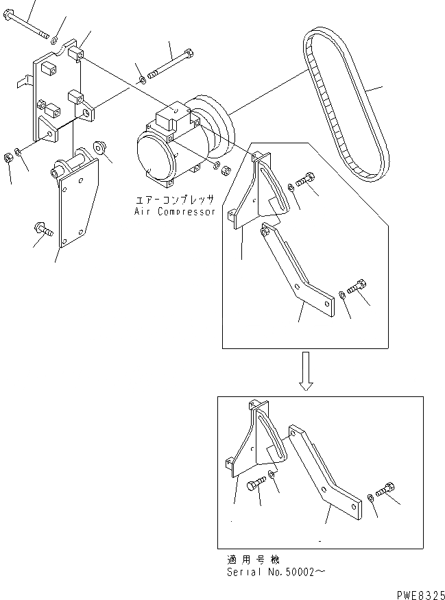
1
2
3
4
4
5
5
6
6
7
7
8
8
9
9
10
11
12
13
14
14
15
16
FIT
1:1
100%

Артикул

Название

Примечание

Количество

1

426-S62-1192

BRACKET

SN: 50001-51000

1шт.

2

6204-81-6810

BOLT

SN: 50001-51000

4шт.

3

01643-30823

WASHER

SN: 50001-51000

4шт.

4

426-S62-2180

BRACKET

SN: 50002-51000

1шт.

4

428-S62-1330

BRACKET

SN: 50001-50001

1шт.

5

426-S62-2190

BRACKET

SN: 50002-51000

1шт.

5

426-T46-1211

PLATE

SN: 50001-50001

1шт.

6

01011-81200

BOLT

SN: 50002-51000

2шт.

6

01010-81295

BOLT

SN: 50001-50001

2шт.

7

01643-51232

WASHER

SN: 50001-51000

2шт.

8

01010-81040

BOLT

SN: 50002-51000

1шт.

8

01010-81035

BOLT

SN: 50001-50001

1шт.

9

01643-31032

WASHER

SN: 50001-51000

1шт.

10

426-963-1122

BRACKET

SN: 50001-51000

1шт.

11

01435-01020

BOLT

SN: 50001-51000

4шт.

12

6206-81-6920

BOLT

SN: 50001-51000

1шт.

13

419-07-11761

COLLAR

SN: 50001-@

1шт.

14

01643-31232

WASHER

SN: 50001-@

2шт.

15

01580-11210

NUT

SN: 50001-@

1шт.

16

04120-21738

V-BELT

SN: 50001-51000

1шт.

Выбрано товаров: 20