Качественные детали и логистика
Оригинальные и аналоговые запчасти с доставкой по России, Казахстану и Беларуси
©2022 PartSell ООО "Система" ИНН 2463123282 ОГРН 1212400004838
Центральный офис: г. Красноярск, Академика Киренского, д.87, пом.4
Телефон: 8 (800) 777-65-74 Email: zakaz@partsell.ru
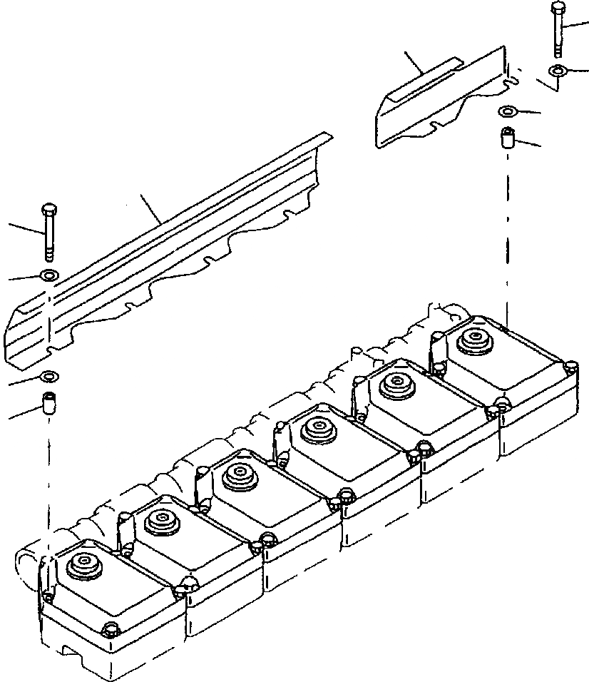
FIG. A7-AA ТЕРМОЗАЩИТА
№
Артикул
Название
Примечание
Количество
1
6162-14-5360
PLATE, SHIELD
1шт.
2
6162-14-5370
3
203-54-11170
SPACER
6шт.
4
01010-E1095
BOLT
5
6130-32-9170
PLATE
12шт.
Выбрано товаров: 0