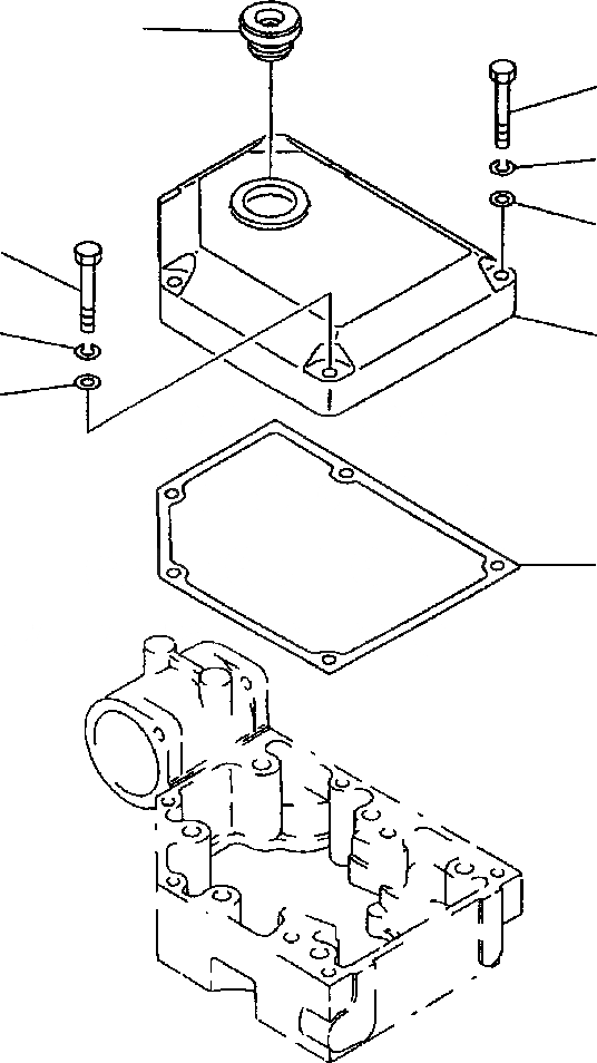
Запчасти Komatsu WA700-3L FIG. A-AA КЛАПАН COVER ДВИГАТЕЛЬ

Схема запчастей Komatsu WA700-3L - FIG. A-AA КЛАПАН COVER ДВИГАТЕЛЬ
6
3
4
5
3
4
1
5
2
FIT
1:1
100%

Артикул

Название

Примечание

Количество

1

6162-13-8112

COVER

6шт.

2

6162-13-8812

GASKET

6шт.

3

01010-81055

BOLT

28шт.

4

01602-01030

WASHER, SPRING

28шт.

5

01640-01016

WASHER

28шт.

6

6162-13-8181

PACKING

6шт.

|$6

-1шт.

|$7

F1 - THESE ITEMS ARE FOUND IN THE CYLINDER HEAD GASKET KIT (SEE FIG. A8118-A6A3).

-1шт.

|$8

-1шт.

Выбрано товаров: 9