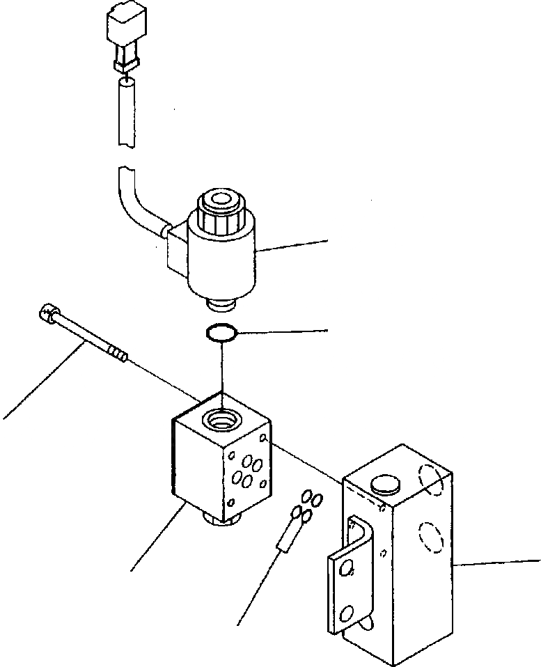
Запчасти Komatsu WA700-3L FIG. K7-A ТОРМОЗНАЯ ГИДРОЛИНИЯ - СОЛЕНОИДНЫЙ КЛАПАН ASSEMBLY КАБИНА ОПЕРАТОРА И СИСТЕМА УПРАВЛЕНИЯ

Схема запчастей Komatsu WA700-3L - FIG. K7-A ТОРМОЗНАЯ ГИДРОЛИНИЯ - СОЛЕНОИДНЫЙ КЛАПАН ASSEMBLY КАБИНА ОПЕРАТОРА И СИСТЕМА УПРАВЛЕНИЯ
2
3
5
6
1
4
FIT
1:1
100%

Артикул

Название

Примечание

Количество

|$0

426-43-27301

VALVE ASSEMBLY

SN: A50001 --UP

1шт.

1

23W-60-28230

VALVE ASSEMBLY,SOLENOID

SN: A50001 --UP

1шт.

2

22T-60-13610

SOLENOID ASSEMBLY

SN: A50001 --UP

1шт.

3

07000-12018

O-RING

SN: A50001 --UP

1шт.

4

07000-11009

O-RING

SN: A50001 --UP

4шт.

5

01252-40545

BOLT

SN: A50001 --UP

4шт.

6

426-43-27131

BLOCK

SN: A50001 --UP

1шт.

Выбрано товаров: 0