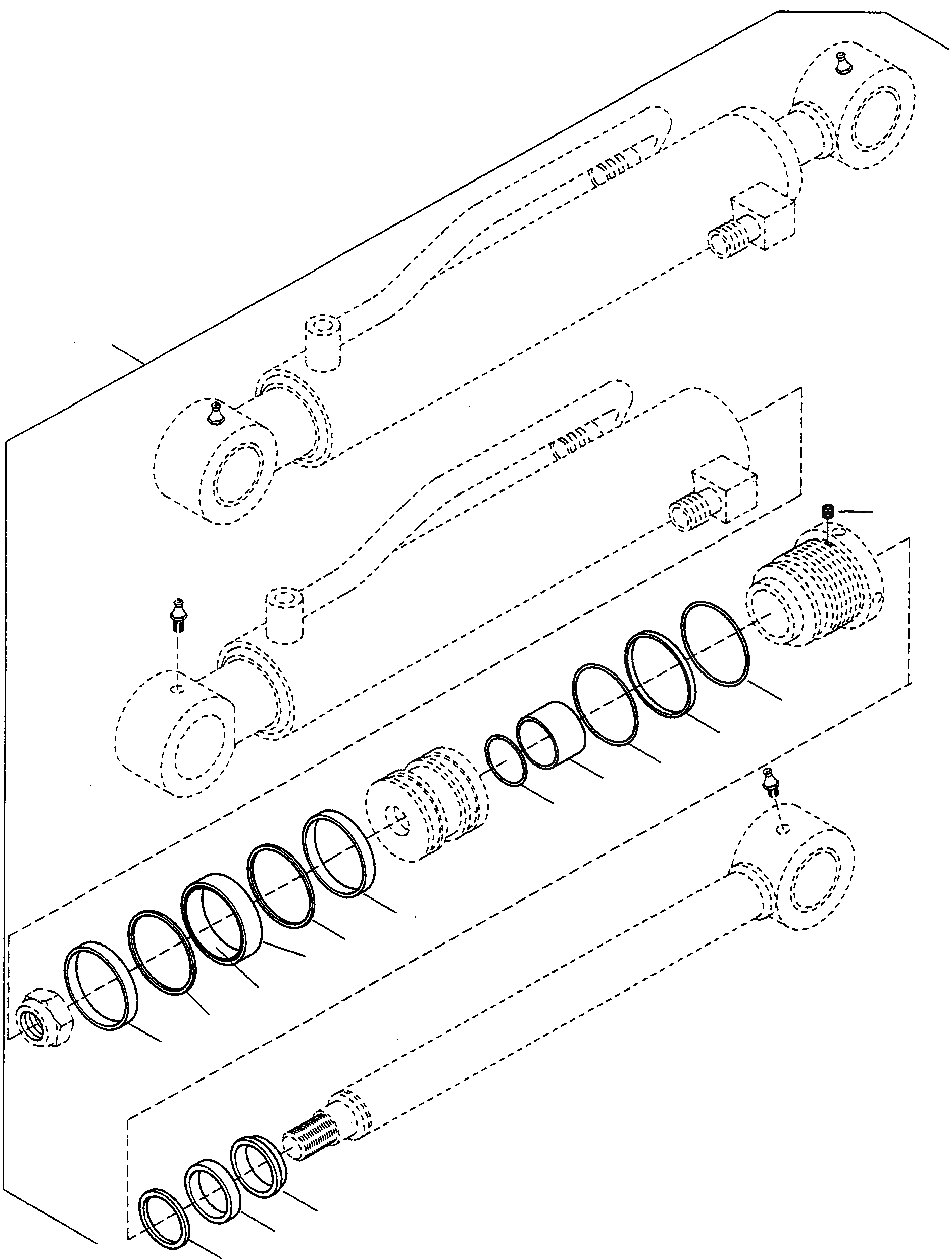
Запчасти Komatsu WA75-1 ЦИЛИНДР КОВША, КОМПЛЕКТ ПРОКЛАДОК ЦИЛИНДР КОВША

Схема запчастей Komatsu WA75-1 - ЦИЛИНДР КОВША, КОМПЛЕКТ ПРОКЛАДОК ЦИЛИНДР КОВША
1
14
13
6
7
5
8
9
10
12
11
10
9
2
3
4
FIT
1:1
100%

Артикул

Название

Примечание

Количество

1

4917352M91

GASKET KIT

1шт.

2

4917534M1

STRIPPER

1шт.

3

4917535M1

SEAL

1шт.

4

4917536M1

SEAL

1шт.

5

4917537M1

PILOT

1шт.

6

367104X1

BACK-UP RING

1шт.

7

359190X1

O-RING

1шт.

8

359181X1

O-RING

1шт.

9

4917539M1

PILOT

2шт.

10

4917540M1

BACK-UP RING

2шт.

11

4909989M1

RING

1шт.

12

4909988M1

SEAL

1шт.

13

4917407M1

O-RING

1шт.

14

3228380M1

PLUG

1шт.

Выбрано товаров: 14