Запчасти Komatsu WA80-3-CB ТОПЛИВН. БАК.(№-) ТОПЛИВН. БАК. AND КОМПОНЕНТЫ

Схема запчастей Komatsu WA80-3-CB - ТОПЛИВН. БАК.(№-) ТОПЛИВН. БАК. AND КОМПОНЕНТЫ
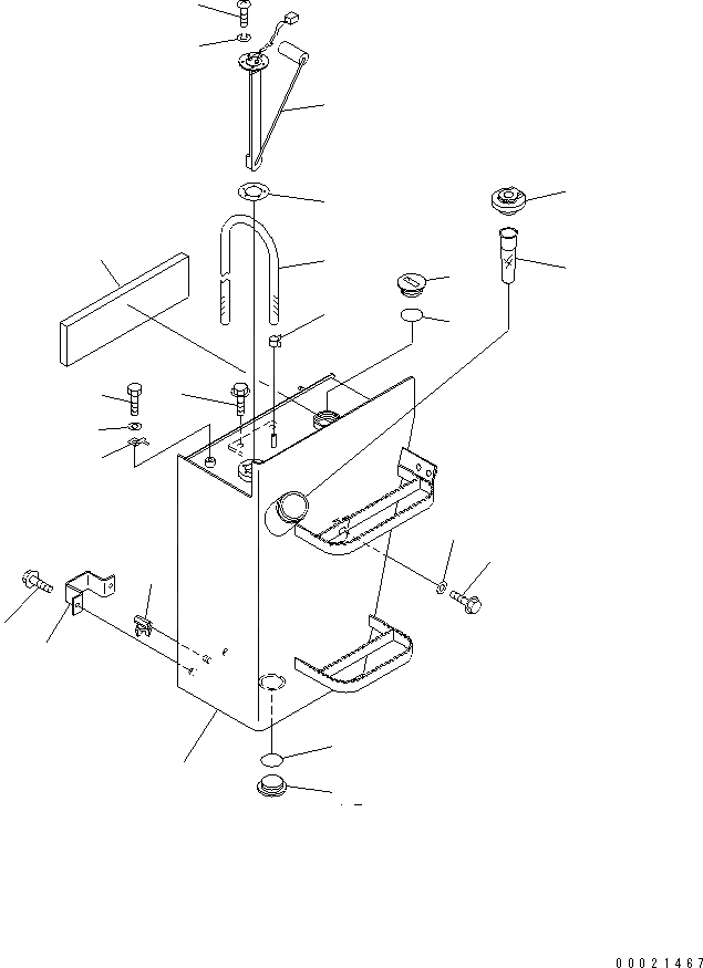
1
2
3
4
5
6
7
8
9
10
11
12
12
13
13
14
15
16
17
18
19
20
21
FIT
1:1
100%

Артикул

Название

Примечание

Количество

1

415-04-21610

TANK,FUEL

SN: 12001-UP

1шт.

2

363-04-31180

CAP,FUEL

SN: 12001-UP

1шт.

3

07056-10045

STRAINER

SN: 12001-UP

1шт.

4

363-04-11130

VALVE,DRAIN

SN: 12001-UP

1шт.

5

415-04-11230

COVER

SN: 12001-UP

1шт.

6

01435-00816

BOLT

SN: 12001-UP

2шт.

7

01435-01230

BOLT

SN: 12001-UP

2шт.

8

01435-01225

BOLT

SN: 12001-UP

1шт.

9

01643-31232

WASHER

SN: 12001-UP

1шт.

10

07270-21040

TUBE

SN: 12001-UP

1шт.

11

07285-00125

CLIP

SN: 12001-UP

1шт.

12

363-60-21310

PLUG

SN: 12001-UP

2шт.

13

07002-15234

O-RING

SN: 12001-UP

2шт.

14

415-54-31140

SHEET

SN: 12001-UP

1шт.

15

415-04-21620

SENSOR,FUEL LEVEL

SN: 12001-UP

1шт.

16

419-04-10140

GASKET

SN: 12001-UP

1шт.

17

01220-40512

SCREW

SN: 12001-UP

5шт.

18

01601-20513

WASHER,SPRING

SN: 12001-UP

5шт.

19

08193-20010

CLIP

SN: 12001-UP

1шт.

20

01010-81016

BOLT

SN: 12001-UP

1шт.

21

01643-31032

WASHER

SN: 12001-UP

1шт.

Выбрано товаров: 21