Запчасти Komatsu WA80-3 HST НАСОС (ВНУТР. ЧАСТИ¤ /7)(№-9) СИЛОВАЯ ПЕРЕДАЧА

Схема запчастей Komatsu WA80-3 - HST НАСОС (ВНУТР. ЧАСТИ¤ /7)(№-9) СИЛОВАЯ ПЕРЕДАЧА
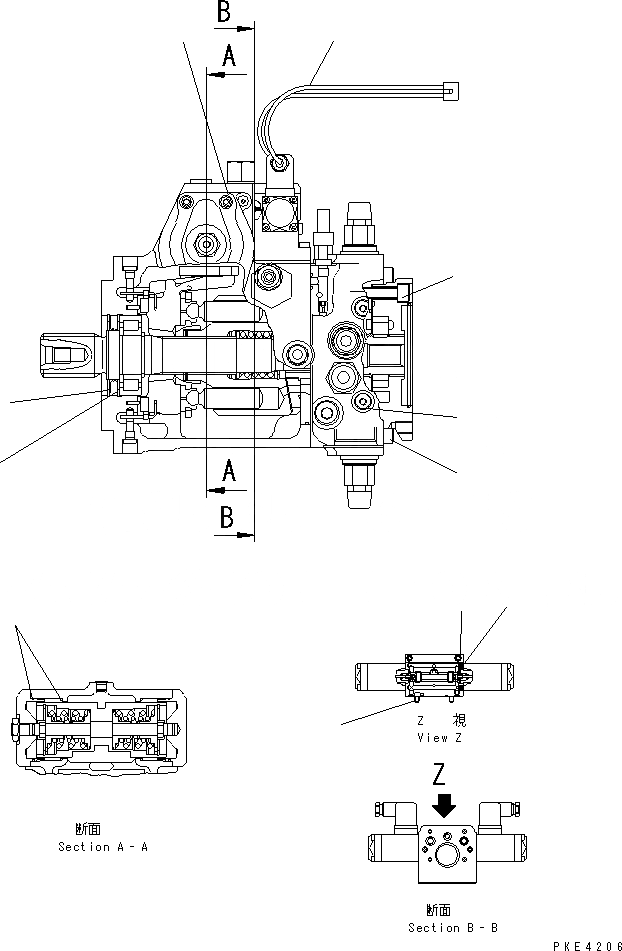
1
2
3
4
5
6
7
8
9
10
11
FIT
1:1
100%

Артикул

Название

Примечание

Количество

|$2

415-17-21101

PUMP ASS'Y,VALIABLE

SN: 10001-12019

1шт.

|$$2

THIS ASSEMBLY CONSISTS OF ALL PARTS SHOWN IN FIGS.F2430-01A0 TO F2430-07A0.

-1шт.

1

02891-02075

O-RING

SN: 10001-12019

4шт.

2

23S-60-46260

PLUG ASS'Y

SN: 10001-12019

2шт.

3

01252-70620

BOLT

SN: 10001-12019

2шт.

4

01252-70650

BOLT

SN: 10001-12019

4шт.

5

01252-70820

BOLT

SN: 10001-12019

8шт.

6

01252-71240

BOLT

SN: 10001-12019

4шт.

7

01252-71690

BOLT

SN: 10001-12019

4шт.

8

01310-20606

SCREW

SN: 10001-12019

2шт.

9

415-17-21360

RING,SNAP

SN: 10001-12019

1шт.

10

415-17-21390

RING,SNAP

SN: 10001-12019

1шт.

11

415-17-21460

CABLE

SN: 10001-12019

1шт.

Выбрано товаров: 13