Запчасти Komatsu WA80-3 КОНДИЦ. ВОЗДУХА (КРЕПЛЕНИЕ КОНДИЦИОНЕРА)(№-) OPERATIORS ОБСТАНОВКА И СИСТЕМА УПРАВЛЕНИЯ

Схема запчастей Komatsu WA80-3 - КОНДИЦ. ВОЗДУХА (КРЕПЛЕНИЕ КОНДИЦИОНЕРА)(№-) OPERATIORS ОБСТАНОВКА И СИСТЕМА УПРАВЛЕНИЯ
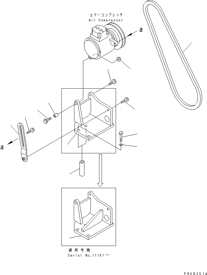
1
1
2
3
4
5
6
6
7
8
9
10
11
FIT
1:1
100%

Артикул

Название

Примечание

Количество

1

415-S62-2152

BRACKET

SN: 11181-12000

1шт.

1

415-S62-2151

BRACKET

SN: 10001-11180

1шт.

2

415-S62-2380

COLLAR

SN: 10001-12000

2шт.

3

01011-81005

BOLT

SN: 10001-12000

2шт.

4

01643-31032

WASHER

SN: 10001-12000

2шт.

5

42A-43-16290

COLLAR

SN: 10001-12000

1шт.

6

01435-00835

BOLT

SN: 10001-12000

2шт.

7

01584-00806

NUT

SN: 10001-@

1шт.

8

415-S62-2160

PLATE

SN: 10001-12000

1шт.

9

01435-00830

BOLT

SN: 10001-12000

1шт.

10

01435-00825

BOLT

SN: 10001-12000

1шт.

11

04120-21752

V-BELT

SN: 10001-12000

1шт.

Выбрано товаров: 12