Запчасти Komatsu WA80-5 30 km WINDЗАЩИТН. ДВОРНИКИ-ОМЫВАТЕЛЬ СИСТЕМА ЭЛЕКТРИЧ. СИСТЕМА

Схема запчастей Komatsu WA80-5 30 km - WINDЗАЩИТН. ДВОРНИКИ-ОМЫВАТЕЛЬ СИСТЕМА ЭЛЕКТРИЧ. СИСТЕМА
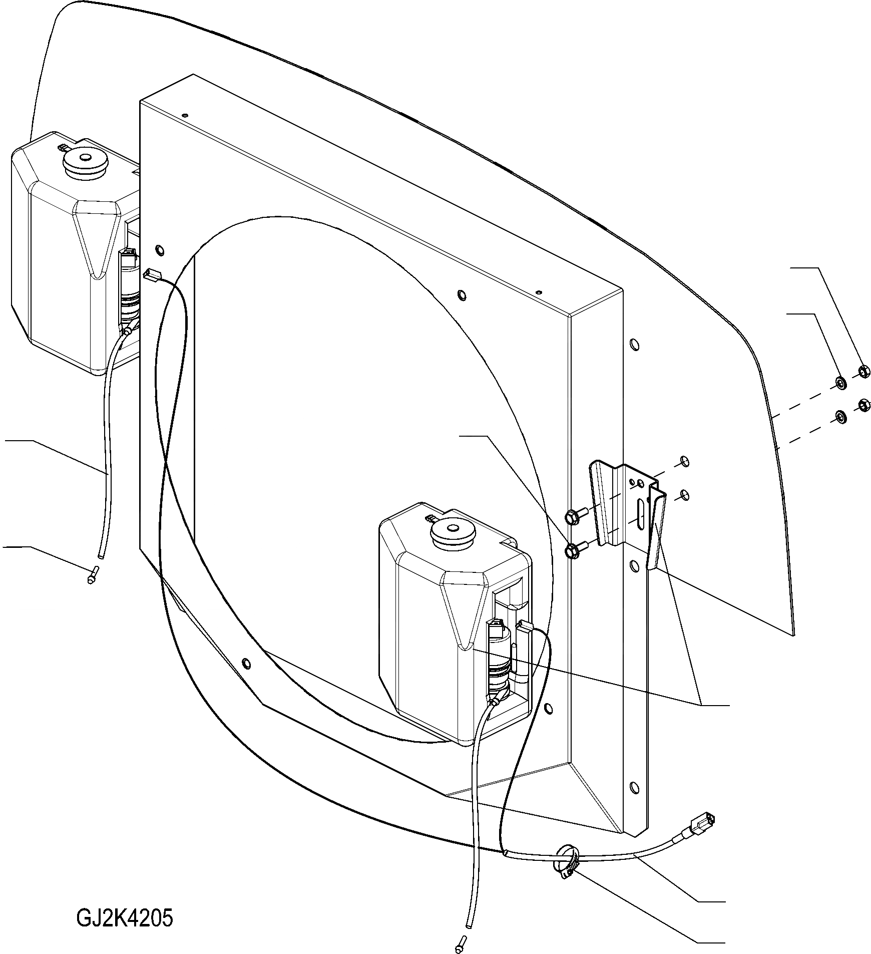
4
3
2
7
8
1
5
6
FIT
1:1
100%

Артикул

Название

Примечание

Количество

1

42R-07-16100

CONTAINER

2шт.

2

01435-00616

SCREW

4шт.

3

423-00-H1200

PLAIN WASHER

4шт.

4

01580-10605

NUT

4шт.

5

42T-06-22060

HARNESS

1шт.

6

08034-20834

BAND

3шт.

7

42T-09-H3370

HOSE

2шт.

8

421-07-H6160

CONNECTION

2шт.

Выбрано товаров: 8