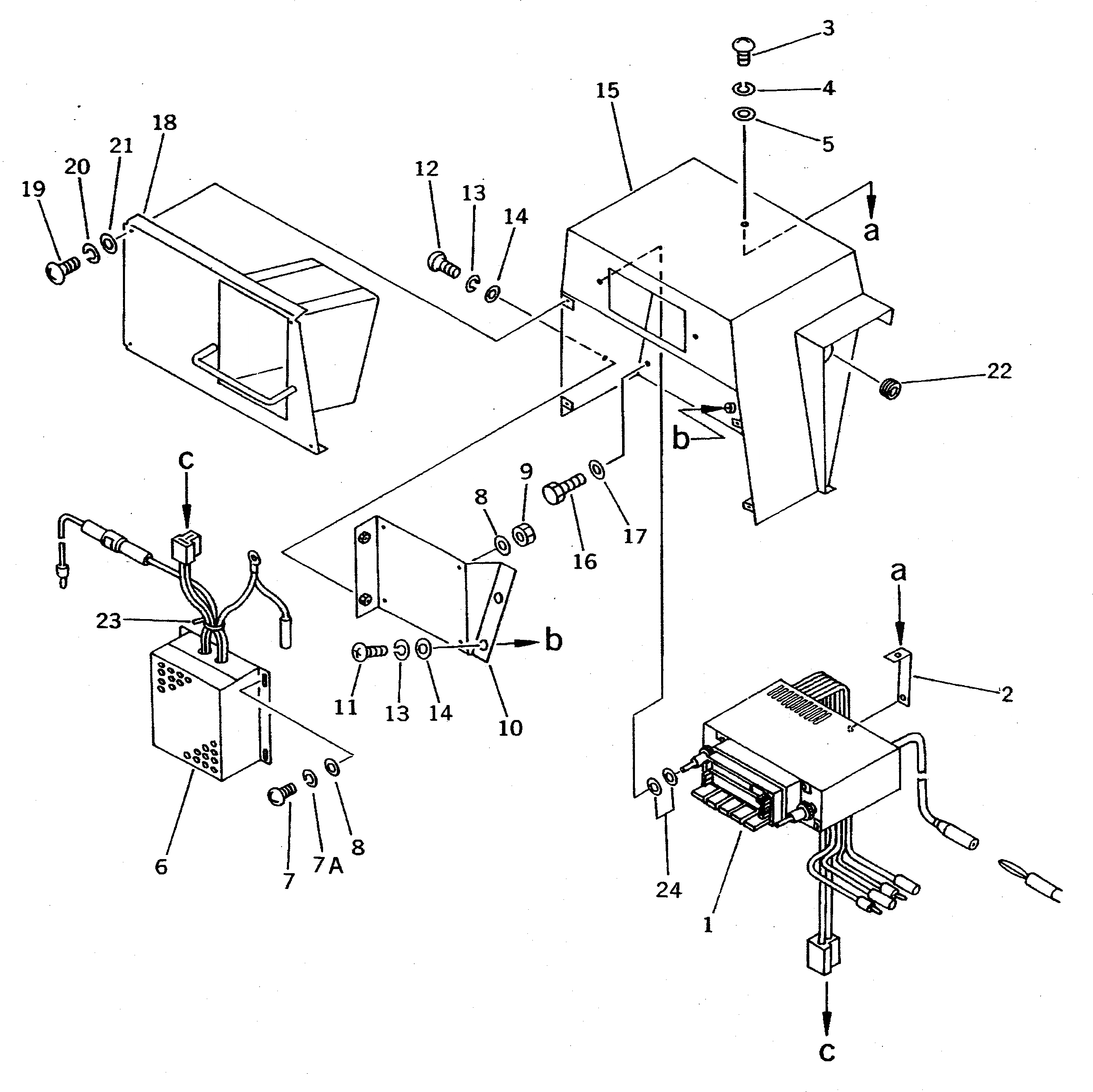
Запчасти Komatsu WA800-1-13 CAR STEREO РАМА И ЧАСТИ КОРПУСА

Схема запчастей Komatsu WA800-1-13 - CAR STEREO РАМА И ЧАСТИ КОРПУСА
FIT
1:1
100%

Артикул

Название

Примечание

Количество

1

175-911-6150

STEREO CASSETTE A.

SN: 10001-UP

1шт.

2

427-07-14141

PLATE

SN: 10001-UP

1шт.

|2

0

PLATE

SN: (10001-10031)

1шт.

3

01220-40616

SCREW

SN: 10001-UP

1шт.

4

01602-20619

WASHER,SPRING

SN: 10001-UP

1шт.

5

01643-30623

WASHER

SN: 10001-UP

1шт.

6

175-911-6120

CONVERTER

SN: 10001-UP

1шт.

7

01220-40410

SCREW

SN: 10001-UP

4шт.

7A

01601-20410

WASHER,SPRING

SN: 10001-UP

4шт.

8

01641-20405

WASHER

SN: 10001-UP

8шт.

9

01580-60403

NUT

SN: 10001-UP

4шт.

10

427-07-14130

PLATE

SN: 10001-UP

1шт.

11

01220-40612

SCREW

SN: 10001-UP

2шт.

12

01220-40616

SCREW

SN: 10001-UP

2шт.

13

01602-20619

WASHER,SPRING

SN: 10001-UP

4шт.

14

01643-30623

WASHER

SN: 10001-UP

4шт.

15

427-07-14112

BOX

SN: 10501-UP

1шт.

|15

0

BOX

SN: 10001-10499

1шт.

|15

0

BOX

SN: (10001-10011)

1шт.

16

01010-80825

BOLT

SN: 10001-UP

4шт.

17

01643-30823

WASHER

SN: 10001-UP

4шт.

18

427-07-14121

COVER

SN: 10001-UP

1шт.

|18

0

COVER

SN: (10001-10031)

1шт.

19

01220-40612

SCREW

SN: 10001-UP

4шт.

20

01602-20619

WASHER,SPRING

SN: 10001-UP

4шт.

21

01643-30623

WASHER

SN: 10001-UP

4шт.

22

08037-02512

GROMMET

SN: 10001-UP

1шт.

23

08034-20536

BAND

SN: 10590-UP

2шт.

|23

0

BAND

SN: 10001-10589

2шт.

24

01643-31032

WASHER

SN: 10001-UP

4шт.

Выбрано товаров: 30