Запчасти Komatsu WA800-1-13 ЭЛЕКТРИКА (КОНСОЛЬН. БЛОК¤ ПРАВ.)(№-) КОМПОНЕНТЫ ДВИГАТЕЛЯ И ЭЛЕКТРИКА

Схема запчастей Komatsu WA800-1-13 - ЭЛЕКТРИКА (КОНСОЛЬН. БЛОК¤ ПРАВ.)(№-) КОМПОНЕНТЫ ДВИГАТЕЛЯ И ЭЛЕКТРИКА
FIT
1:1
100%

Артикул

Название

Примечание

Количество

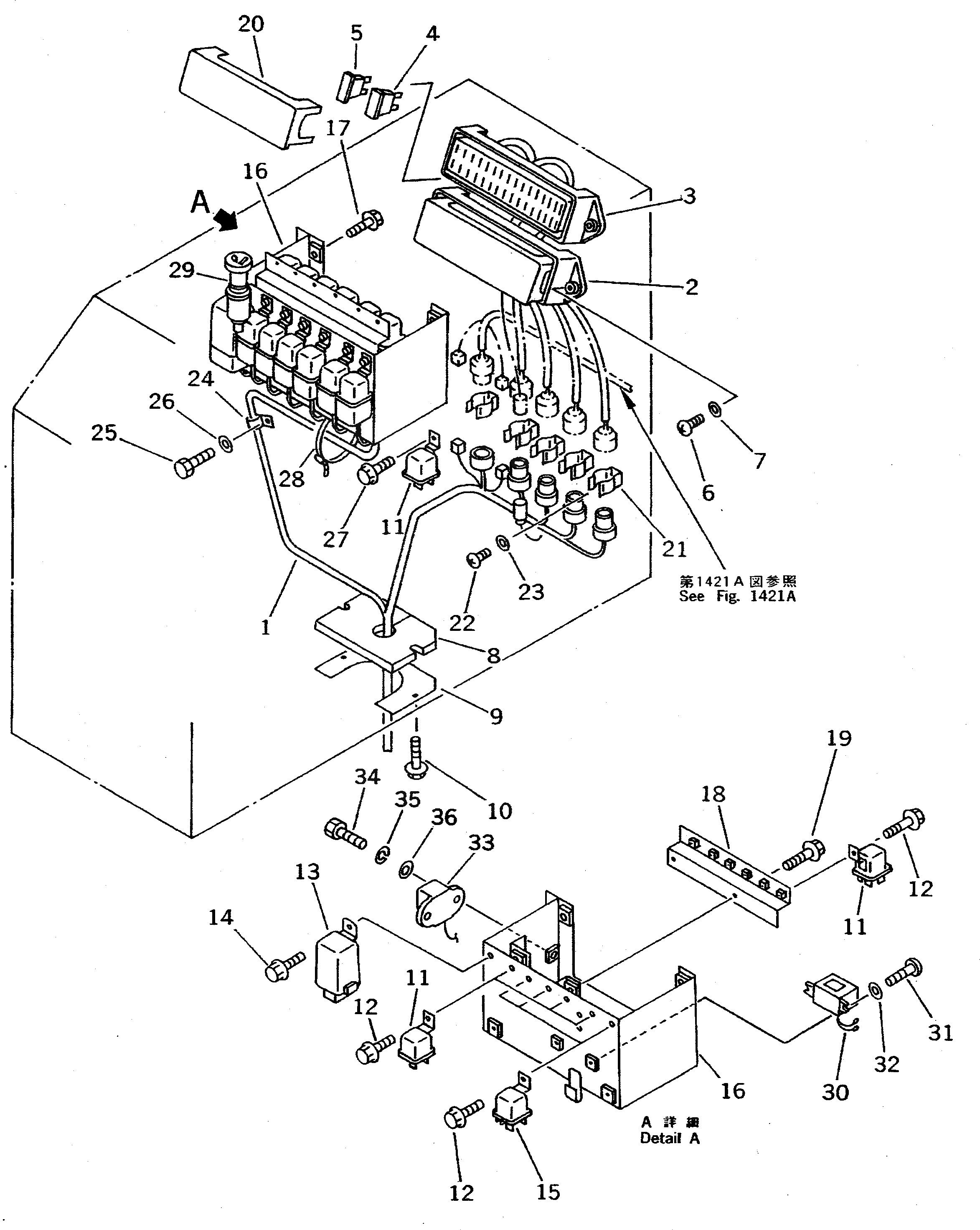
1

427-06-12916

WIRING HARNESS

SN: 10703-UP

1шт.

|1

0

WIRING HARNESS

SN: 10701-10702

1шт.

|1

0

WIRING HARNESS

SN: 10664-10700

1шт.

|1

0

WIRING HARNESS

SN: 10598-10663

1шт.

|1

427-06-12912

WIRING HARNESS

SN: 10547-10597

1шт.

|1

0

WIRING HARNESS

SN: 10530-10546

1шт.

|1

427-06-12910

WIRING HARNESS

SN: 10501-10529

1шт.

|1

421-06-11970

DIODE

SN: 10501-UP

17шт.

2

424-06-12420

BOX ASS'Y

SN: 10501-UP

1шт.

3

424-06-12431

BOX ASS'Y

SN: 10501-UP

1шт.

4

22W-06-13160

FUSE¤ 20A

SN: 10501-UP

7шт.

5

283-06-16190

FUSE¤ 10A

SN: 10501-UP

26шт.

6

01220-40516

SCREW

SN: 10501-UP

4шт.

7

01641-20508

WASHER

SN: 10501-UP

4шт.

8

419-06-12651

SHEET

SN: 10501-UP

1шт.

|8

427-S33-2880

SHEET,(FOR JOY STICK STEERING)

SN: 10501-UP

1шт.

9

418-944-1420

PLATE

SN: 10501-UP

1шт.

10

01435-00612

BOLT

SN: 10501-UP

2шт.

11

287-06-16410

RELAY

SN: 10001-UP

10шт.

|11

287-06-16420

BRACKET

SN: 10001-UP

10шт.

12

01435-00610

BOLT

SN: 10501-UP

13шт.

13

08077-22401

FLASHER

SN: 10001-UP

1шт.

14

01435-00610

BOLT

SN: 10501-UP

1шт.

15

421-06-11940

RELAY

SN: 10501-UP

3шт.

|15

287-06-16420

BRACKET

SN: 10501-UP

3шт.

16

424-06-11732

BOX

SN: 10501-UP

1шт.

17

01435-00612

BOLT

SN: 10501-UP

4шт.

18

423-06-11220

PLATE

SN: 10501-UP

1шт.

19

01435-00614

BOLT

SN: 10501-UP

2шт.

20

283-06-16120

COVER

SN: 10501-UP

2шт.

21

08052-02711

CLIP

SN: 10001-UP

5шт.

22

01220-40608

SCREW

SN: 10001-UP

5шт.

23

01641-20608

WASHER

SN: 10001-UP

5шт.

24

08036-01814

CLIP

SN: 10001-UP

1шт.

25

01010-81016

BOLT

SN: 10001-UP

1шт.

26

01643-31032

WASHER

SN: 10001-UP

1шт.

27

01435-00608

BOLT

SN: 10501-UP

1шт.

28

08034-00823

BAND

SN: 10501-UP

5шт.

29

08913-02400

LIGHTER

SN: 10528-UP

1шт.

|29

0

LIGHTER

SN: 10501-10527

1шт.

30

207-06-31160

BUZZER

SN: 10001-UP

1шт.

31

01220-40412

SCREW

SN: 10048-UP

2шт.

32

01641-20405

WASHER

SN: 10048-UP

2шт.

33

423-06-11212

TIMER¤ BI-METAL

SN: 10501-UP

1шт.

34

01010-80612

BOLT

SN: 10501-UP

2шт.

35

01602-20619

WASHER,SPRING

SN: 10501-UP

2шт.

36

01642-20608

WASHER

SN: 10501-UP

2шт.

Выбрано товаров: 47