Запчасти Komatsu WA800-1-13 ТОРМОЗ. МАСЛОПРОВОДЯЩАЯ ЛИНИЯ (ТОРМОЗ. МАСЛ. БАК)(№-) ВЕДУЩ. ВАЛ¤ ДИФФЕРЕНЦ. И КОЛЕСА

Схема запчастей Komatsu WA800-1-13 - ТОРМОЗ. МАСЛОПРОВОДЯЩАЯ ЛИНИЯ (ТОРМОЗ. МАСЛ. БАК)(№-) ВЕДУЩ. ВАЛ¤ ДИФФЕРЕНЦ. И КОЛЕСА
FIT
1:1
100%

Артикул

Название

Примечание

Количество

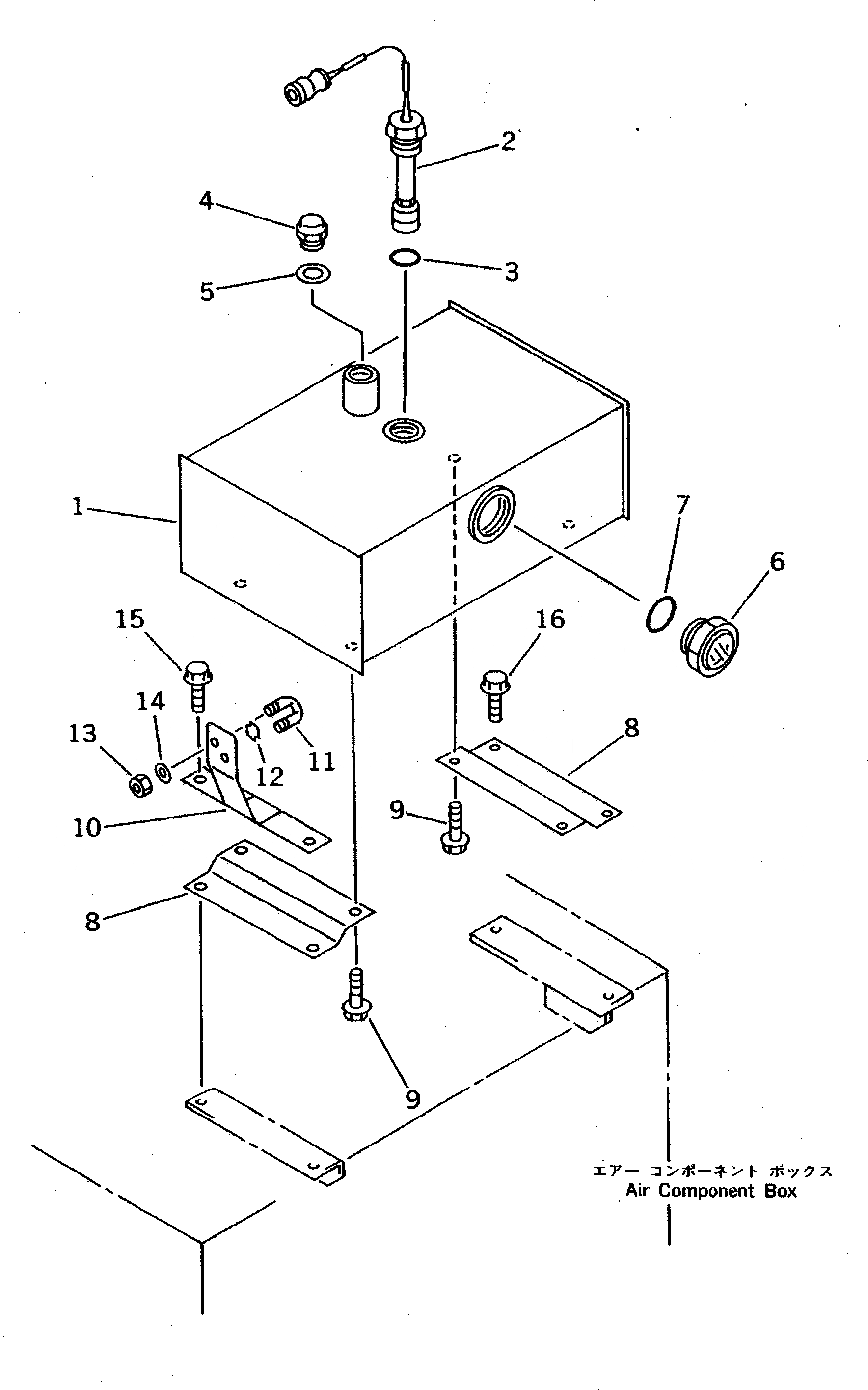
1

427-35-15250

RESERVOIR,TANK

SN: 10501-UP

1шт.

2

7861-91-4510

SENSOR

SN: 10034-UP

1шт.

3

07002-23634

O-RING

SN: 10034-UP

1шт.

4

07030-03034

BREATHER

SN: 10034-UP

1шт.

5

07005-03016

GASKET

SN: 10034-UP

1шт.

6

421-60-11622

GAUGE,SIGHT

SN: 10034-UP

1шт.

7

07002-15234

O-RING

SN: 10034-UP

1шт.

8

427-35-15260

PLATE

SN: 10501-UP

2шт.

9

01435-01220

BOLT

SN: 10501-UP

4шт.

10

427-35-11950

BRACKET

SN: 10501-UP

1шт.

11

07283-31529

CLIP

SN: 10501-UP

1шт.

12

07283-51523

SEAT

SN: 10501-UP

1шт.

13

01596-00807

NUT

SN: 10501-UP

2шт.

14

01643-30823

WASHER

SN: 10501-UP

2шт.

15

01435-01230

BOLT

SN: 10501-UP

2шт.

16

01435-01225

BOLT

SN: 10501-UP

4шт.

Выбрано товаров: 16