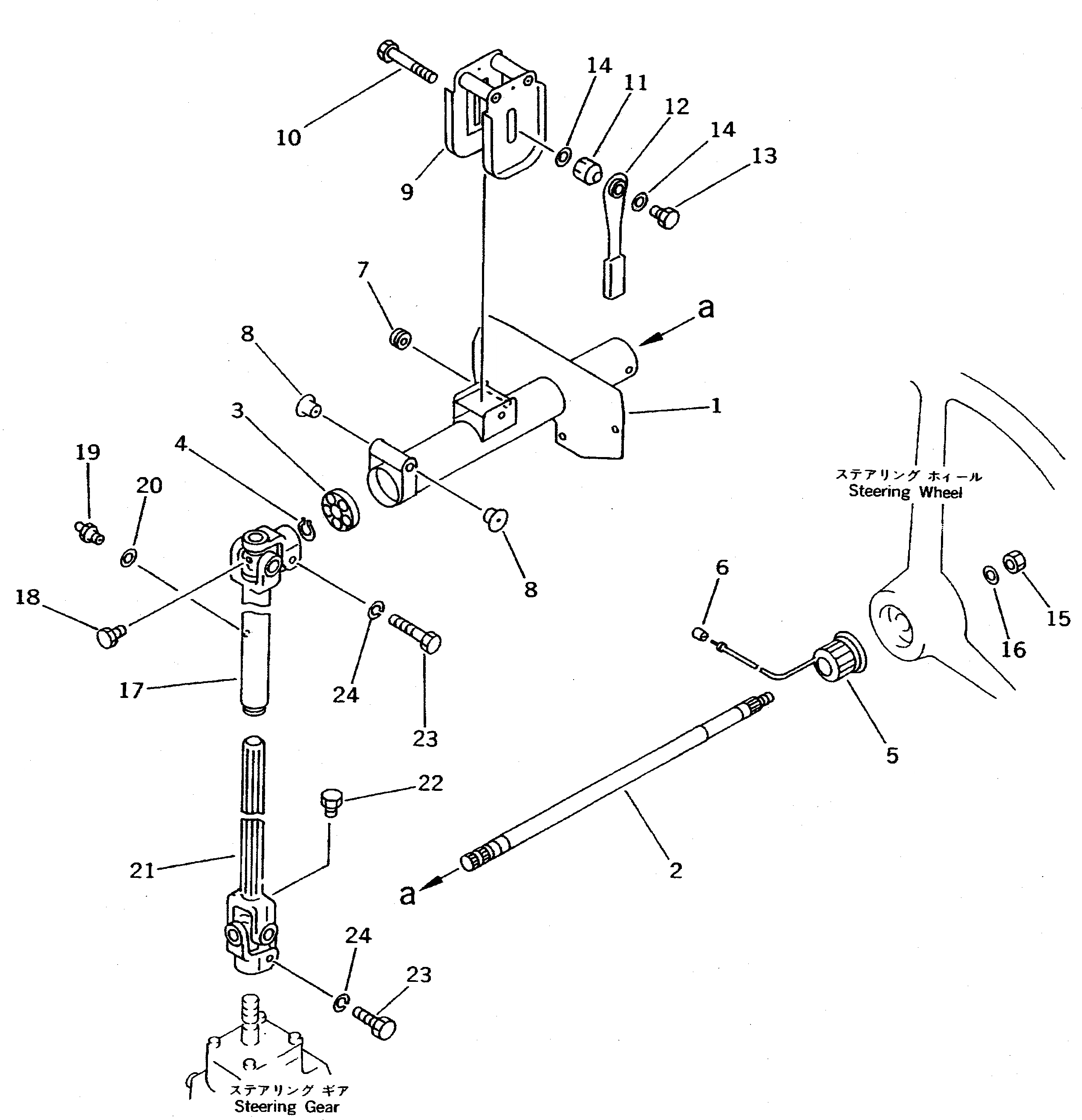
Запчасти Komatsu WA800-1-13 РУЛЕВ. КОЛОН.(№-) РУЛЕВ. УПРАВЛЕНИЕ И СИСТЕМА УПРАВЛЕНИЯ

Схема запчастей Komatsu WA800-1-13 - РУЛЕВ. КОЛОН.(№-) РУЛЕВ. УПРАВЛЕНИЕ И СИСТЕМА УПРАВЛЕНИЯ
FIT
1:1
100%

Артикул

Название

Примечание

Количество

|1

421-40-12314

STEERING COLUMN A.

SN: 10501-UP

1шт.

|1

421-40-12470

COLUMN ASS'Y

SN: 10001-UP

1шт.

1

421-40-12321

COLUMN

SN: 10001-UP

1шт.

2

421-40-12331

SHAFT

SN: 10001-UP

1шт.

3

06004-06004

BEARING

SN: 10001-UP

1шт.

4

04064-02012

RING,SNAP

SN: 10001-UP

1шт.

5

421-40-12430

BUSHING

SN: 10001-UP

1шт.

6

421-40-12460

COVER

SN: 10001-UP

1шт.

7

419-40-12110

GROMMET

SN: 10034-UP

1шт.

8

421-40-12411

BUSHING

SN: 10001-UP

2шт.

9

421-40-12350

BRACKET

SN: 10001-UP

1шт.

10

421-40-12370

BOLT

SN: 10001-UP

1шт.

11

421-40-12380

NUT

SN: 10001-UP

1шт.

12

421-40-12361

LEVER

SN: 10001-UP

1шт.

13

421-40-12390

BOLT

SN: 10001-UP

1шт.

14

421-40-12420

WASHER

SN: 10001-UP

2шт.

15

421-40-12440

NUT

SN: 10001-UP

1шт.

16

421-40-12450

WASHER

SN: 10001-UP

1шт.

17

421-40-12571

JOINT ASS'Y

SN: 10501-UP

1шт.

18

421-40-12590

PLUG

SN: 10001-UP

1шт.

19

07020-00001

FITTING,GREASE

SN: 10001-UP

1шт.

20

01643-30623

WASHER

SN: 10001-UP

1шт.

21

421-40-12581

JOINT ASS'Y

SN: 10501-UP

1шт.

22

421-40-12590

PLUG

SN: 10001-UP

1шт.

23

01050-51040

BOLT

SN: 10001-UP

2шт.

24

01602-21030

WASHER,SPRING

SN: 10001-UP

2шт.

Выбрано товаров: 26