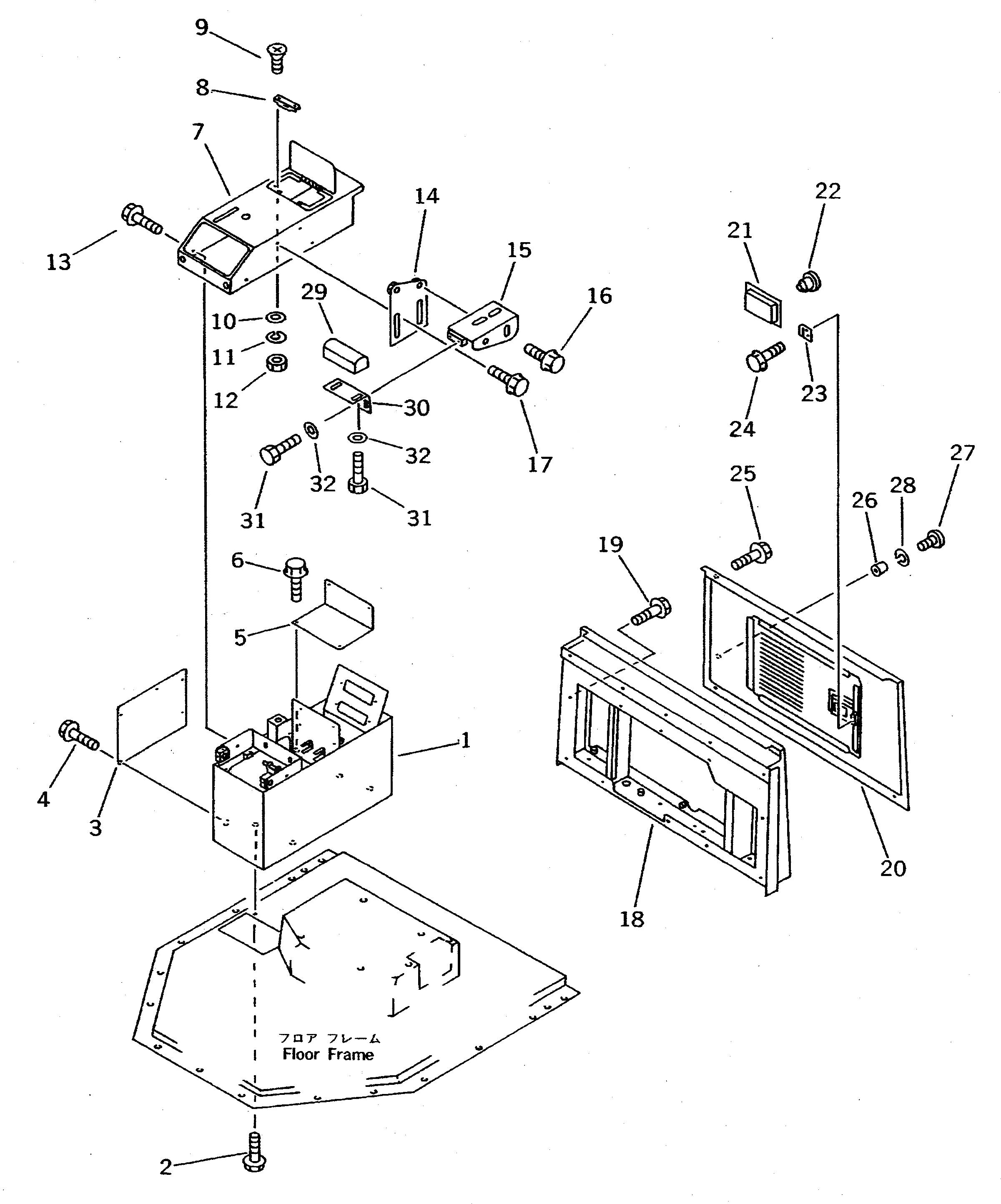
Запчасти Komatsu WA800-1-A КОНСОЛЬН. БЛОК (БЕЗ КОНДИЦ. ВОЗДУХА /)(№-) РАМА И ЧАСТИ КОРПУСА

Схема запчастей Komatsu WA800-1-A - КОНСОЛЬН. БЛОК (БЕЗ КОНДИЦ. ВОЗДУХА /)(№-) РАМА И ЧАСТИ КОРПУСА
FIT
1:1
100%

Артикул

Название

Примечание

Количество

1

425-54-12713

BOX

SN: 10501-UP

1шт.

2

01435-01225

BOLT

SN: 10501-UP

3шт.

3

425-54-12722

PLATE

SN: 10501-UP

1шт.

4

01435-00812

BOLT,(FOR JAPAN)

SN: .-UP

5шт.

|4

01435-00816

BOLT,(FOR JAPAN)

SN: 10001-.

4шт.

|4

01435-00812

BOLT,(EXCEPT JAPAN)

SN: 10520-UP

5шт.

|4

01435-00816

BOLT,(EXCEPT JAPAN)

SN: 10001-10519

4шт.

5

424-54-14191

PLATE

SN: 10501-UP

1шт.

6

01435-00610

BOLT

SN: 10001-UP

4шт.

7

425-54-12843

COVER

SN: 10501-UP

1шт.

8

09452-06506

CATCHER

SN: 10001-.

1шт.

9

01224-40412

SCREW

SN: 10001-UP

2шт.

10

01641-20405

WASHER

SN: 10001-UP

2шт.

11

01601-20410

WASHER,SPRING

SN: 10001-UP

2шт.

12

01580-60403

NUT

SN: 10001-UP

2шт.

13

01435-00816

BOLT

SN: 10501-UP

4шт.

14

425-54-12692

PLATE

SN: 10501-UP

1шт.

15

425-54-12684

BRACKET,(FOR JAPAN)

SN: 10552-UP

1шт.

|15

0

BRACKET,(FOR JAPAN)

SN: 10501-10551

1шт.

|15

425-54-12684

BRACKET,(EXCEPT JAPAN)

SN: 10543-UP

1шт.

|15

0

BRACKET,(EXCEPT JAPAN)

SN: 10501-10542

1шт.

16

01435-01225

BOLT

SN: 10501-UP

2шт.

17

01435-01230

BOLT

SN: 10501-UP

2шт.

18

428-54-12122

BOX,REAR (FOR JAPAN)

SN: 10641-UP

1шт.

|18

0

BOX,REAR (FOR JAPAN)

SN: 10540-10640

1шт.

|$$26

(428-54-12122{427-54-13651)}

-1шт.

|18

0

BOX,REAR (FOR JAPAN)

SN: 10501-10539

1шт.

|18

428-54-12122

BOX,REAR (EXCEPT JAPAN)

SN: 10639-UP

1шт.

|18

0

BOX,REAR (EXCEPT JAPAN)

SN: 10543-10638

1шт.

|$$30

(428-54-12122{427-54-13651)}

-1шт.

|18

0

BOX,REAR (EXCEPT JAPAN)

SN: 10501-10542

1шт.

19

01435-01220

BOLT

SN: 10501-UP

12шт.

20

428-54-12131

COVER,(FOR JAPAN)

SN: 10534-UP

1шт.

|20

428-54-12130

COVER,(FOR JAPAN)

SN: 10501-10533

1шт.

|20

428-54-12131

COVER,(EXCEPT JAPAN)

SN: 10530-UP

1шт.

|20

428-54-12130

COVER,(EXCEPT JAPAN)

SN: 10501-10529

1шт.

21

421-54-11362

LOCK ASS'Y

SN: 10001-UP

1шт.

22

421-54-11381

LOCK

SN: 10001-UP

1шт.

23

421-54-11980

PLATE

SN: 10001-UP

1шт.

24

01435-01220

BOLT

SN: 10501-UP

2шт.

25

01435-01220

BOLT

SN: 10501-UP

6шт.

26

418-60-15150

STOPPER

SN: 10001-UP

1шт.

27

01220-40630

SCREW

SN: 10001-UP

1шт.

28

01602-20619

WASHER,SPRING

SN: 10001-UP

1шт.

29

421-54-18550

REST,ARM

SN: 10501-UP

1шт.

30

421-54-18560

PLATE

SN: 10501-UP

1шт.

31

01010-80820

BOLT

SN: 10501-UP

4шт.

32

01643-30823

WASHER

SN: 10501-UP

4шт.

Выбрано товаров: 48