Запчасти Komatsu WA800-1-AПОЛ РАМА И ЧАСТИ КОРПУСА

Схема запчастей Komatsu WA800-1-A -  ПОЛ РАМА И ЧАСТИ КОРПУСА
FIT
1:1
100%

Артикул

Название

Примечание

Количество

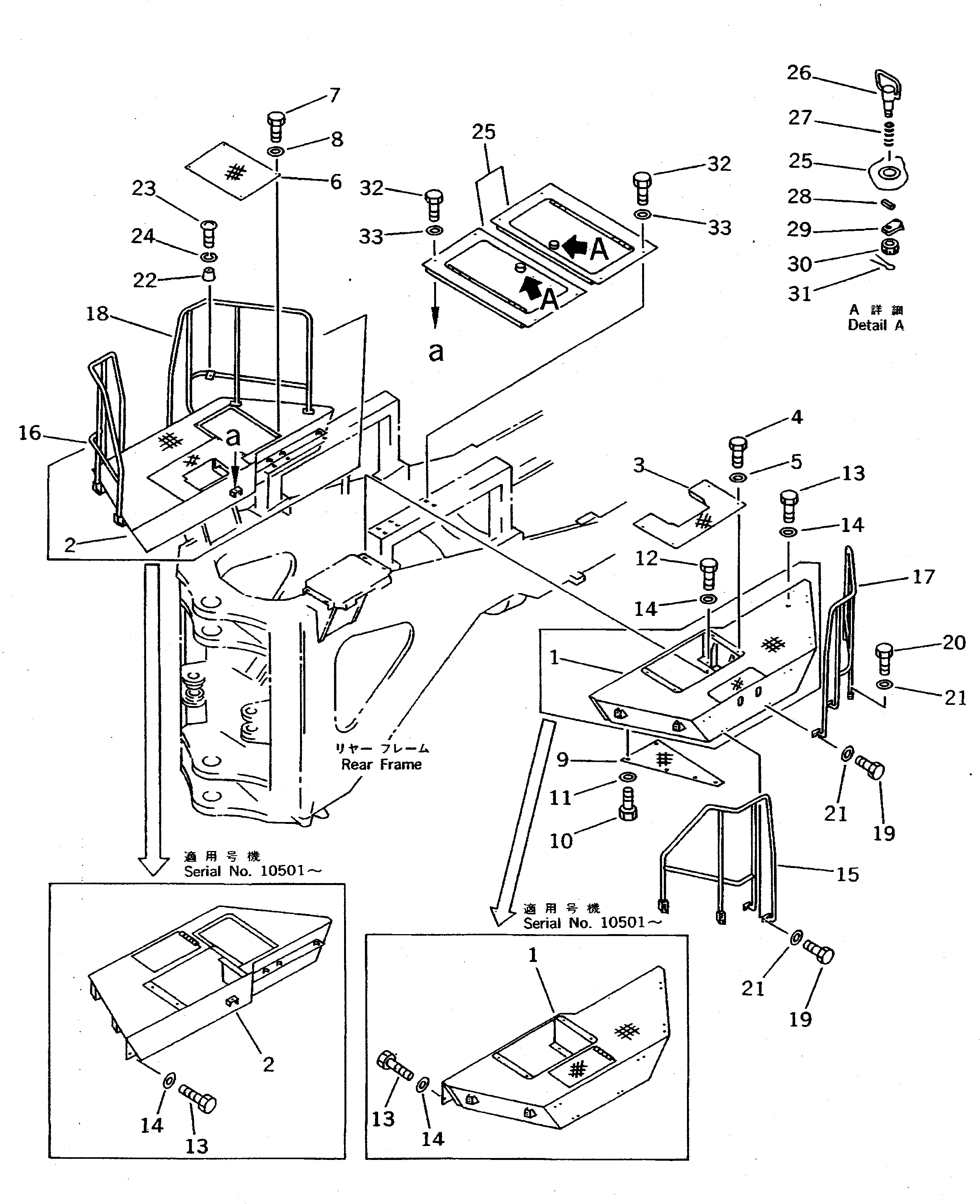
1

427-54-12555

FRAME,FLOOR¤ L.H.

SN: 10501-UP

1шт.

|1

427-54-12554

FRAME,FLOOR¤ L.H.

SN: 10034-10499

1шт.

|1

0

FRAME,FLOOR¤ L.H.

SN: 10001-10033

1шт.

2

427-54-12564

FRAME,FLOOR¤ R.H.

SN: 10501-UP

1шт.

|2

427-54-12563

FRAME,FLOOR¤ R.H.

SN: 10001-10499

1шт.

3

427-54-12571

COVER

SN: 10001-UP

2шт.

4

01010-81230

BOLT

SN: 10001-UP

8шт.

5

01643-31232

WASHER

SN: 10001-UP

8шт.

6

427-54-12770

COVER

SN: 10001-UP

1шт.

7

01010-81230

BOLT

SN: 10001-UP

4шт.

8

01643-31232

WASHER

SN: 10001-UP

4шт.

9

427-54-12672

COVER

SN: 10501-UP

1шт.

|9

427-54-12671

COVER

SN: 10001-10499

1шт.

10

01010-81020

BOLT

SN: 10001-UP

5шт.

11

01643-31032

WASHER

SN: 10001-UP

5шт.

12

01010-81230

BOLT

SN: 10501-UP

8шт.

|12

01010-51230

BOLT

SN: 10001-10499

12шт.

13

01010-81235

BOLT

SN: 10501-UP

10шт.

|13

01010-51235

BOLT

SN: 10001-10499

6шт.

14

424-54-26540

WASHER

SN: 10001-UP

18шт.

|14

0

WASHER,(FOR JAPAN)

SN: (10001-10049)

18шт.

|14

0

WASHER,(EXCEPT JAPAN)

SN: (10001-10024)

18шт.

15

427-54-14110

HANDRAIL,L.H.

SN: 10001-UP

1шт.

16

427-54-14120

HANDRAIL,R.H.

SN: 10001-UP

1шт.

17

427-54-14130

HANDRAIL,L.H.

SN: 10001-UP

1шт.

18

427-54-14141

HANDRAIL,R.H.

SN: 10001-UP

1шт.

19

01010-81230

BOLT

SN: 10001-UP

24шт.

20

01010-81235

BOLT

SN: 10001-UP

8шт.

21

01643-31232

WASHER

SN: 10001-UP

32шт.

22

418-60-15150

STOPPER

SN: 10001-UP

1шт.

23

01220-40630

SCREW

SN: 10001-UP

1шт.

24

01602-20619

WASHER,SPRING

SN: 10001-UP

1шт.

25

427-54-11382

COVER

SN: 10052-UP

2шт.

|25

427-54-11381

COVER

SN: 10001-10051

2шт.

26

426-06-11261

HANDLE

SN: 10001-UP

2шт.

27

09468-00003

SPRING

SN: 10001-UP

2шт.

28

04025-00532

PIN,SPRING

SN: 10001-UP

2шт.

29

426-06-11270

LOCK

SN: 10001-UP

2шт.

30

01590-31215

NUT

SN: 10001-UP

2шт.

31

04050-13020

PIN,COTTER

SN: 10001-UP

2шт.

32

01010-81235

BOLT

SN: 10001-UP

8шт.

33

01643-31232

WASHER

SN: 10001-UP

8шт.

Выбрано товаров: 42