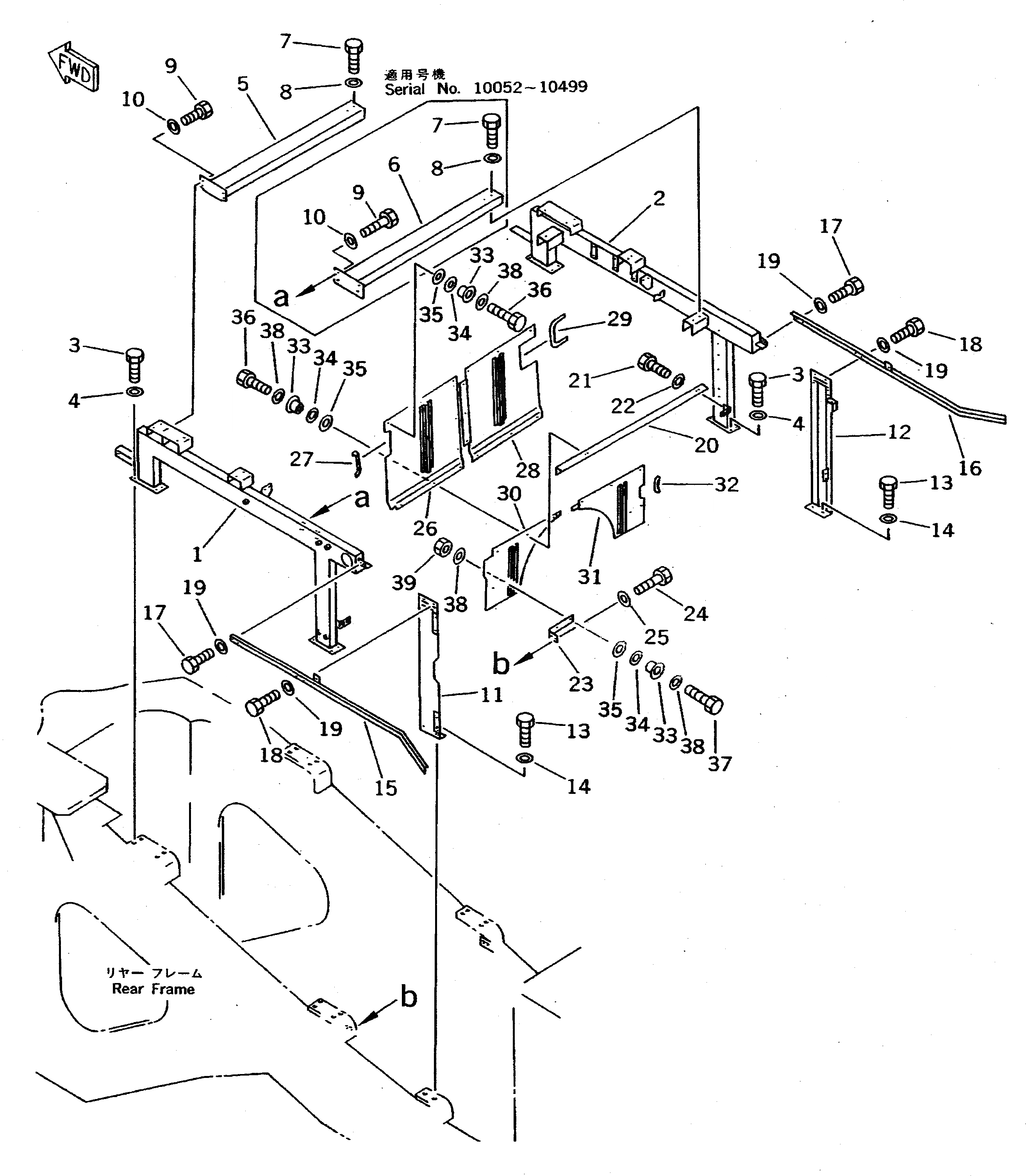
Запчасти Komatsu WA800-1-A БОКОВ. КРЫШКА ДВИГ. РАМА(№-9) РАМА И ЧАСТИ КОРПУСА

Схема запчастей Komatsu WA800-1-A - БОКОВ. КРЫШКА ДВИГ. РАМА(№-9) РАМА И ЧАСТИ КОРПУСА
FIT
1:1
100%

Артикул

Название

Примечание

Количество

1

427-54-11255

BRACKET,L.H.

SN: 10501-@

1шт.

|1

0

BRACKET,L.H.

SN: 10052-10499

1шт.

2

427-54-11265

BRACKET,R.H.

SN: 10501-@

1шт.

|2

0

BRACKET,R.H.

SN: 10052-10499

1шт.

3

01010-81645

BOLT

SN: 10001-@

16шт.

4

01643-31645

WASHER

SN: 10001-@

16шт.

5

427-54-13242

BRACKET

SN: 10501-@

1шт.

|5

427-54-13241

BRACKET

SN: 10052-10499

1шт.

6

427-54-12520

BRACKET

SN: 10052-10499

1шт.

7

01010-81640

BOLT

SN: 10501-@

2шт.

|7

01010-51640

BOLT

SN: 10052-10499

4шт.

8

01643-31645

WASHER

SN: 10501-@

2шт.

|8

01643-31645

WASHER

SN: 10052-10499

4шт.

9

01435-01225

BOLT

SN: 10501-@

4шт.

|9

0

BOLT

SN: 10052-10499

8шт.

10

01643-31232

WASHER

SN: 10052-10499

8шт.

11

427-54-11231

BRACKET,L.H.

SN: 10593-@

1шт.

|11

0

BRACKET,L.H.

SN: 10001-10592

1шт.

|$$19

(427-54-11231{427-54-13740)}

-1шт.

12

427-54-11241

BRACKET,R.H.

SN: 10001-@

1шт.

|12

427-Z02-1180

BRACKET,R.H. (FOR WATER SEPARATOR)

SN: 10501-@

1шт.

13

01435-01220

BOLT

SN: 10501-@

4шт.

|13

0

BOLT

SN: 10001-10499

4шт.

14

01643-31232

WASHER

SN: 10001-10499

4шт.

15

427-54-11270

BAR,L.H.

SN: 10001-@

1шт.

16

427-54-11280

BAR,R.H.

SN: 10001-@

1шт.

17

01435-01220

BOLT

SN: 10501-@

8шт.

|17

0

BOLT

SN: 10001-10499

8шт.

18

01435-01225

BOLT

SN: 10501-@

4шт.

|18

0

BOLT

SN: 10001-10499

4шт.

19

01643-31232

WASHER

SN: 10001-10499

12шт.

20

427-54-11831

ANGLE

SN: 10034-@

1шт.

21

01435-01230

BOLT

SN: 10501-@

4шт.

|21

01010-51230

BOLT

SN: 10001-10499

4шт.

22

01643-31232

WASHER

SN: 10001-10499

4шт.

23

427-54-13120

BRACKET,(FOR JAPAN)

SN: 10052-@

2шт.

|23

427-54-13120

BRACKET,(EXCEPT JAPAN)

SN: 10040-@

2шт.

24

01435-01245

BOLT

SN: 10501-@

4шт.

|24

01010-51245

BOLT

SN: 10001-10499

4шт.

25

01643-31232

WASHER

SN: 10001-10499

8шт.

26

427-54-11823

COVER,L.H.

SN: 10526-10559

1шт.

|26

0

COVER,L.H.

SN: 10001-10525

1шт.

27

427-54-11770

SEAL

SN: 10001-@

1шт.

28

427-54-11813

COVER,R.H.

SN: 10516-10559

1шт.

|28

0

COVER,R.H.

SN: 10001-10515

1шт.

29

427-54-11760

SEAL

SN: 10001-@

1шт.

30

427-54-13450

COVER,L.H.

SN: 10501-10559

1шт.

|30

427-54-11791

COVER,L.H.

SN: 10001-10499

1шт.

31

427-54-13460

COVER,R.H.

SN: 10501-10559

1шт.

|31

427-54-11781

COVER,R.H.

SN: 10001-10499

1шт.

32

427-54-11750

SEAL

SN: 10001-@

1шт.

33

427-54-11860

SPACER

SN: 10001-@

19шт.

34

415-46-11380

CUSHION

SN: 10001-@

19шт.

35

01640-22232

WASHER

SN: 10001-@

19шт.

36

01435-01235

BOLT

SN: 10501-@

16шт.

|36

0

BOLT

SN: 10001-10499

16шт.

37

01435-01240

BOLT

SN: 10501-@

4шт.

|37

0

BOLT

SN: 10001-10499

4шт.

38

01643-31232

WASHER

SN: 10025-10499

23шт.

39

01580-11210

NUT

SN: 10025-@

4шт.

40

427-54-13680

RUBBER

SN: 10526-10559

1шт.

41

427-54-13690

PLATE

SN: 10526-10559

1шт.

42

04050-13020

PIN,COTTER

SN: 10526-10559

4шт.

Выбрано товаров: 63