Запчасти Komatsu WA800-1-A РУКОЯТЬ (ДЛЯ ПОГРУЗ. И CARRY)(№9-) РАБОЧЕЕ ОБОРУДОВАНИЕ

Схема запчастей Komatsu WA800-1-A - РУКОЯТЬ (ДЛЯ ПОГРУЗ. И CARRY)(№9-) РАБОЧЕЕ ОБОРУДОВАНИЕ
FIT
1:1
100%

Артикул

Название

Примечание

Количество

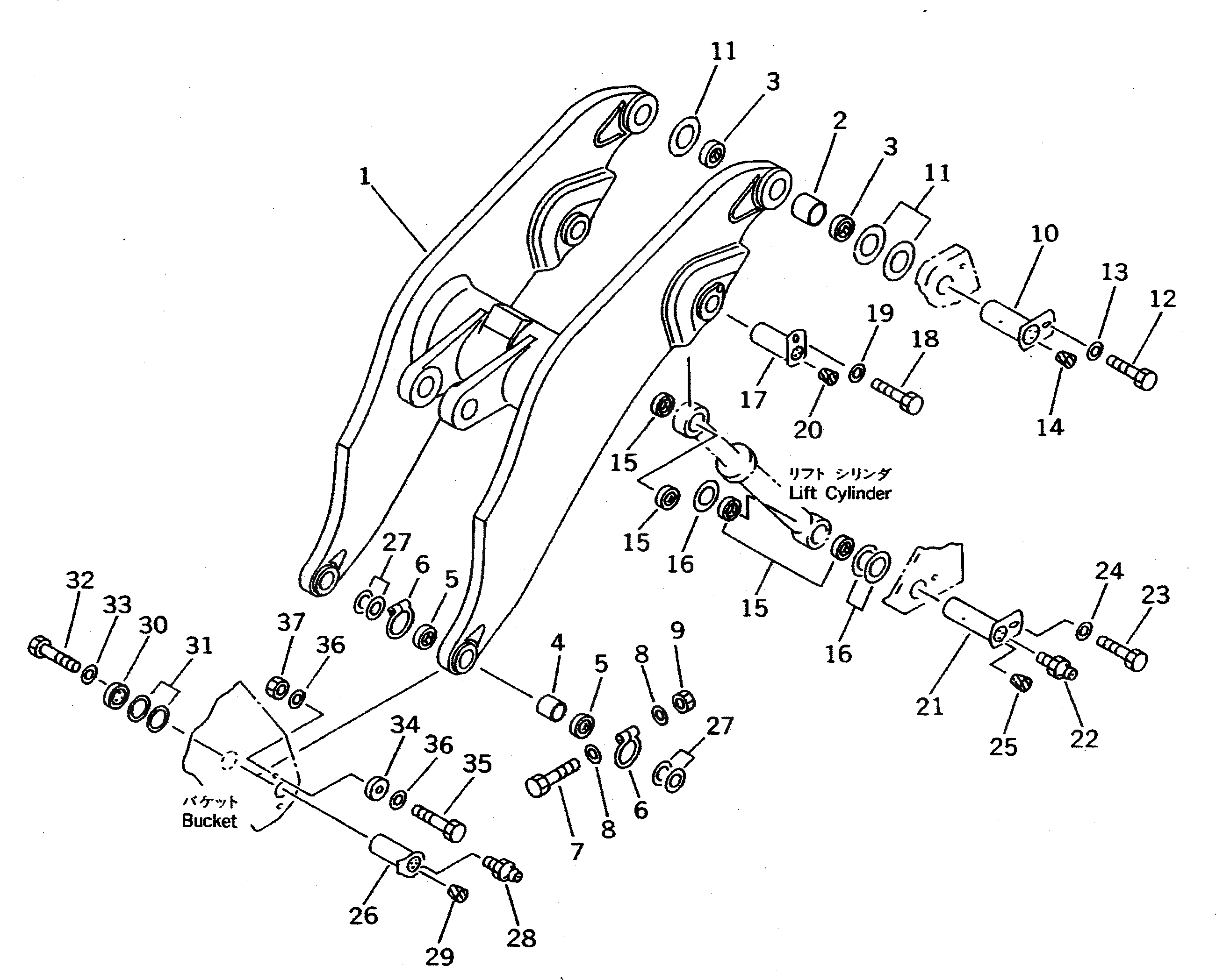
|1

427-858-1101

LIFT ARM ASS'Y

SN: 10611-UP

1шт.

|1

427-858-1100

LIFT ARM ASS'Y

SN: 10001-10610

1шт.

1

0

ARM,LIFT

SN: 10611-UP

1шт.

|1

0

ARM,LIFT

SN: 10001-10610

1шт.

2

428-70-11892

BUSHING

SN: 10662-UP

2шт.

|2

0

BUSHING

SN: 10611-10661

2шт.

|2

0

BUSHING

SN: 10001-10610

2шт.

3

427-09-11110

SEAL,DUST

SN: 10001-UP

4шт.

4

427-70-11822

BUSHING

SN: 10662-UP

2шт.

|4

0

BUSHING

SN: 10611-10661

2шт.

|4

0

BUSHING

SN: 10001-10610

2шт.

5

426-09-11110

SEAL,DUST

SN: 10593-UP

4шт.

6

427-70-11250

O-RING

SN: 10001-UP

4шт.

7

426-09-11150

BOLT

SN: 10001-UP

4шт.

8

01641-20608

WASHER

SN: 10001-UP

8шт.

9

426-09-11130

NUT

SN: 10001-UP

4шт.

10

427-70-11992

PIN

SN: 10001-UP

2шт.

11

427-70-11460

SHIM¤ 1.5MM

SN: 10001-UP

4шт.

|11

427-70-11470

SHIM¤ 3.0MM

SN: 10001-UP

2шт.

12

01010-52450

BOLT

SN: 10001-UP

2шт.

13

427-70-11480

WASHER

SN: 10001-UP

2шт.

14

07049-01620

PLUG

SN: 10001-UP

6шт.

15

427-09-11120

SEAL,DUST

SN: 10001-UP

8шт.

16

427-70-11440

SHIM¤ 1.5MM

SN: 10001-UP

4шт.

|16

427-70-11450

SHIM¤ 3.0MM

SN: 10001-UP

2шт.

17

427-70-11971

PIN

SN: 10001-UP

2шт.

18

01010-52035

BOLT

SN: 10001-UP

2шт.

19

427-70-11290

WASHER

SN: 10001-UP

2шт.

20

07049-01620

PLUG

SN: 10001-UP

6шт.

21

427-70-11981

PIN

SN: 10001-UP

2шт.

22

07020-00000

FITTING,GREASE

SN: 10001-UP

2шт.

23

01010-52035

BOLT

SN: 10001-UP

2шт.

24

427-70-11290

WASHER

SN: 10001-UP

2шт.

25

07049-01620

PLUG

SN: 10001-UP

6шт.

26

427-853-1110

PIN,L.H.

SN: 10001-UP

1шт.

|26

427-853-1120

PIN,R.H.

SN: 10001-UP

1шт.

27

427-70-11280

SHIM¤ 0.5MM

SN: 10593-UP

24шт.

28

07020-00000

FITTING,GREASE

SN: 10001-UP

2шт.

29

07049-01620

PLUG

SN: 10001-UP

9шт.

30

427-70-11260

RETAINER

SN: 10001-UP

2шт.

31

427-70-11270

SHIM¤ 0.2MM

SN: 10001-UP

4шт.

|31

427-70-11280

SHIM¤ 0.5MM

SN: 10001-UP

10шт.

32

01010-52070

BOLT

SN: 10001-UP

6шт.

33

01643-32060

WASHER

SN: 10001-UP

6шт.

34

425-70-11250

CAM

SN: 10001-UP

2шт.

35

01010-52495

BOLT

SN: 10001-UP

2шт.

36

01643-32460

WASHER

SN: 10001-UP

4шт.

37

01580-12419

NUT

SN: 10001-UP

2шт.

Выбрано товаров: 48