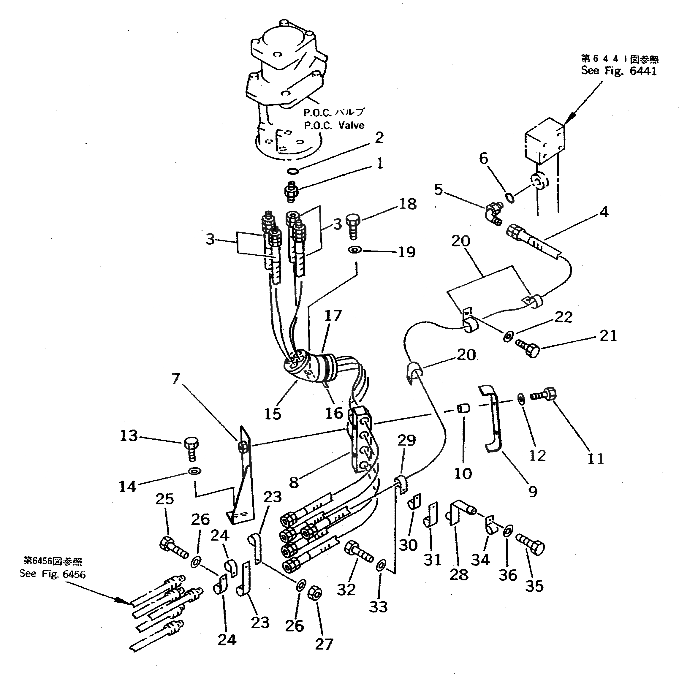
Запчасти Komatsu WA800-1 ГИДРОЛИНИЯ (P.O.C. КЛАПАН ЛИНИЯ /7)(№-99) УПРАВЛ-Е РАБОЧИМ ОБОРУДОВАНИЕМ

Схема запчастей Komatsu WA800-1 - ГИДРОЛИНИЯ (P.O.C. КЛАПАН ЛИНИЯ /7)(№-99) УПРАВЛ-Е РАБОЧИМ ОБОРУДОВАНИЕМ
FIT
1:1
100%

Артикул

Название

Примечание

Количество

1

205-62-55270

NIPPLE

SN: 10001-10499

4шт.

2

07002-31423

O-RING

SN: .-10499

4шт.

2

0

O-RING

SN: 10001-.

4шт.

3

07102-20315

HOSE

SN: 10001-@

4шт.

4

07102-20321

HOSE

SN: 10001-@

1шт.

5

07235-10315

ELBOW

SN: 10001-@

1шт.

6

07002-02034

O-RING

SN: 10001-10499

1шт.

7

427-62-11620

BRACKET

SN: 10001-@

1шт.

8

427-62-11630

RUBBER

SN: 10001-@

1шт.

9

427-62-11640

PLATE

SN: 10001-@

1шт.

10

20T-03-11130

SPACER

SN: 10001-@

2шт.

11

01010-81055

BOLT

SN: 10001-10499

2шт.

12

01643-31032

WASHER

SN: 10001-10499

2шт.

13

01010-81020

BOLT

SN: 10001-10499

2шт.

14

01643-31032

WASHER

SN: 10001-10499

2шт.

15

427-62-11650

COVER

SN: 10001-@

1шт.

16

08034-00823

BAND

SN: 10001-@

2шт.

17

198-911-4480

CLIP

SN: 10001-@

1шт.

18

01010-81016

BOLT

SN: 10001-@

1шт.

19

01643-31032

WASHER

SN: 10001-@

1шт.

20

08036-01814

CLIP

SN: 10001-@

3шт.

21

01010-81016

BOLT

SN: 10001-@

3шт.

22

01643-31032

WASHER

SN: 10001-@

3шт.

23

08035-03008

CLIP

SN: 10001-@

2шт.

24

08036-01814

CLIP

SN: 10001-@

2шт.

25

01010-81025

BOLT

SN: 10001-10499

1шт.

26

01643-31032

WASHER

SN: 10001-10499

2шт.

27

01580-11008

NUT

SN: 10001-@

1шт.

28

427-63-14130

BRACKET

SN: 10001-@

1шт.

29

08036-01814

CLIP

SN: 10001-@

1шт.

30

08036-01414

CLIP

SN: 10001-@

1шт.

31

08035-03008

CLIP

SN: 10001-@

1шт.

32

01010-81025

BOLT

SN: 10001-@

1шт.

33

01643-31032

WASHER

SN: 10001-@

1шт.

34

424-06-12780

CLIP

SN: 10001-@

1шт.

35

01010-81020

BOLT

SN: 10001-@

1шт.

36

01643-31032

WASHER

SN: 10001-@

1шт.

Выбрано товаров: 37