Запчасти Komatsu WA800-1 ЭЛЕКТРИКА (ЗАДН. ОСВЕЩЕНИЕ)(№-7) КОМПОНЕНТЫ ДВИГАТЕЛЯ И ЭЛЕКТРИКА

Схема запчастей Komatsu WA800-1 - ЭЛЕКТРИКА (ЗАДН. ОСВЕЩЕНИЕ)(№-7) КОМПОНЕНТЫ ДВИГАТЕЛЯ И ЭЛЕКТРИКА
FIT
1:1
100%

Артикул

Название

Примечание

Количество

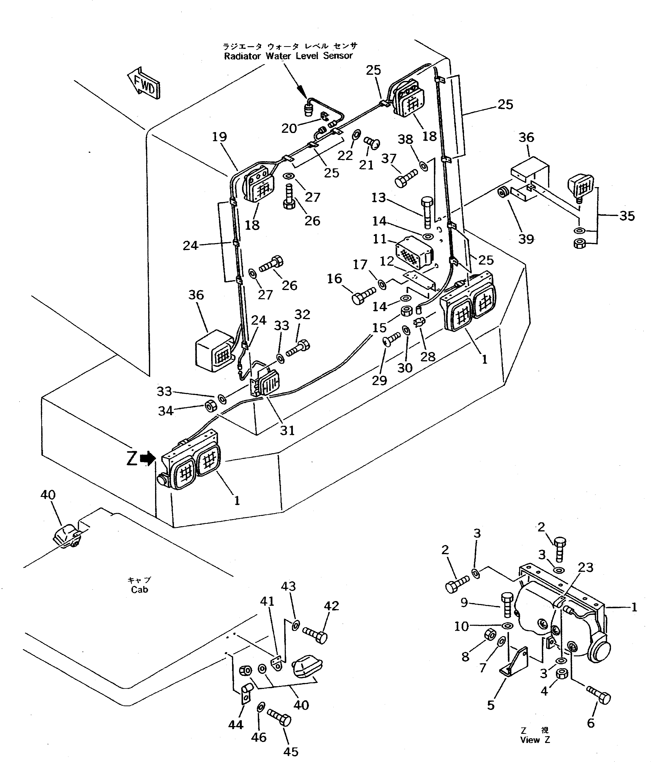
1

421-06-13730

LAMP ASS'Y,REAR, L.H.

SN: 10001-@

1шт.

1

421-06-13820

LAMP ASS'Y,REAR, R.H.

SN: 10001-@

1шт.

1

421-06-13740

LENS,STOP LAMP

SN: 10001-@

1шт.

1

421-06-13750

LENS,TURN SIGNAL LAMP

SN: 10001-@

1шт.

1

08105-12420

BULB, 25W

SN: 10001-@

1шт.

1

08104-12420

BULB, 25/10W

SN: 10001-@

1шт.

1

08102-02403

BULB, 3W

SN: 10001-@

1шт.

2

01010-50820

BOLT

SN: 10001-@

6шт.

3

01643-30823

WASHER

SN: 10001-@

8шт.

4

01580-10806

NUT

SN: 10001-@

2шт.

5

426-06-11550

BRACKET,L.H.

SN: 10001-@

1шт.

5

426-06-11560

BRACKET,R.H.

SN: 10001-@

1шт.

6

01010-50616

BOLT

SN: 10001-@

2шт.

7

01643-30623

WASHER

SN: 10001-@

2шт.

8

01580-10605

NUT

SN: 10001-@

2шт.

9

01010-50816

BOLT

SN: 10001-@

6шт.

10

01643-30823

WASHER

SN: 10001-@

6шт.

11

0

BUZZER,BACK

SN: 10001-10047

1шт.

|$$19

(427-06-11310,427-06-11111,

-1шт.

|$$20

01220-30512(4),01641-00508(4))

-1шт.

12

427-06-11110

PLATE

SN: 10001-10047

1шт.

13

6132-11-6460

BOLT

SN: 10001-10047

2шт.

14

01640-20816

WASHER

SN: 10001-10047

4шт.

15

01580-10806

NUT

SN: 10001-10047

2шт.

16

01010-51225

BOLT

SN: 10001-@

2шт.

17

01643-31232

WASHER

SN: 10001-@

2шт.

18

421-06-13202

WORK LAMP ASS'Y

SN: 10001-@

2шт.

18

22W-06-12170

BULB

SN: 10001-@

1шт.

18

421-06-13120

CUSHION

SN: 10001-@

4шт.

19

427-06-12161

WIRE ASS'Y

SN: 10001-@

1шт.

20

421-06-12910

CLIP

SN: 10001-@

1шт.

21

01220-40608

SCREW

SN: 10001-@

1шт.

22

01641-20608

WASHER

SN: 10001-@

1шт.

23

424-06-12780

CLIP

SN: 10001-@

2шт.

24

425-70-13120

CLIP

SN: 10001-10046

4шт.

25

424-06-12710

CLIP

SN: 10001-10046

8шт.

26

01010-51020

BOLT

SN: 10001-10046

12шт.

27

01643-31032

WASHER

SN: 10001-10046

12шт.

28

283-06-17130

CLIP

SN: 10001-@

2шт.

29

01220-40608

SCREW

SN: 10001-@

2шт.

30

01641-20608

WASHER

SN: 10001-@

2шт.

31

421-06-13901

LAMP ASS'Y,BACK

SN: 10001-@

1шт.

31

421-06-13911

LENS

SN: 10001-@

1шт.

31

08105-12420

BULB, 25W

SN: 10001-@

1шт.

32

01010-50820

BOLT

SN: 10001-@

2шт.

33

01643-30823

WASHER

SN: 10001-@

4шт.

34

01580-10806

NUT

SN: 10001-@

2шт.

35

22W-06-12381

LAMP ASS'Y,REAR

SN: 10001-@

2шт.

35

22W-06-12170

BULB

SN: 10001-@

1шт.

35

22W-06-12120

RING

SN: 10001-@

1шт.

35

22W-06-12290

CUSHION

SN: 10001-@

1шт.

35

22W-06-12130

RING

SN: 10001-@

1шт.

36

427-06-13170

BRACKET

SN: 10001-@

2шт.

37

01010-51225

BOLT

SN: 10001-@

4шт.

38

01643-31232

WASHER

SN: 10001-@

4шт.

39

08037-02512

GROMMET

SN: 10001-@

2шт.

40

22W-06-12381

LAMP ASS'Y,SIDE (FOR JAPAN)

SN: 10001-@

2шт.

40

22W-06-12170

BULB,(FOR JAPAN)

SN: 10001-@

1шт.

41

427-06-13180

PLATE,(FOR JAPAN)

SN: 10001-@

2шт.

42

01010-51225

BOLT,(FOR JAPAN)

SN: 10001-@

4шт.

43

01643-31232

WASHER,(FOR JAPAN)

SN: 10001-@

4шт.

44

425-70-13120

CLIP,(FOR JAPAN)

SN: 10001-@

4шт.

45

01010-51020

BOLT,(FOR JAPAN)

SN: 10001-@

4шт.

46

01643-31032

WASHER,(FOR JAPAN)

SN: 10001-@

4шт.

Выбрано товаров: 64