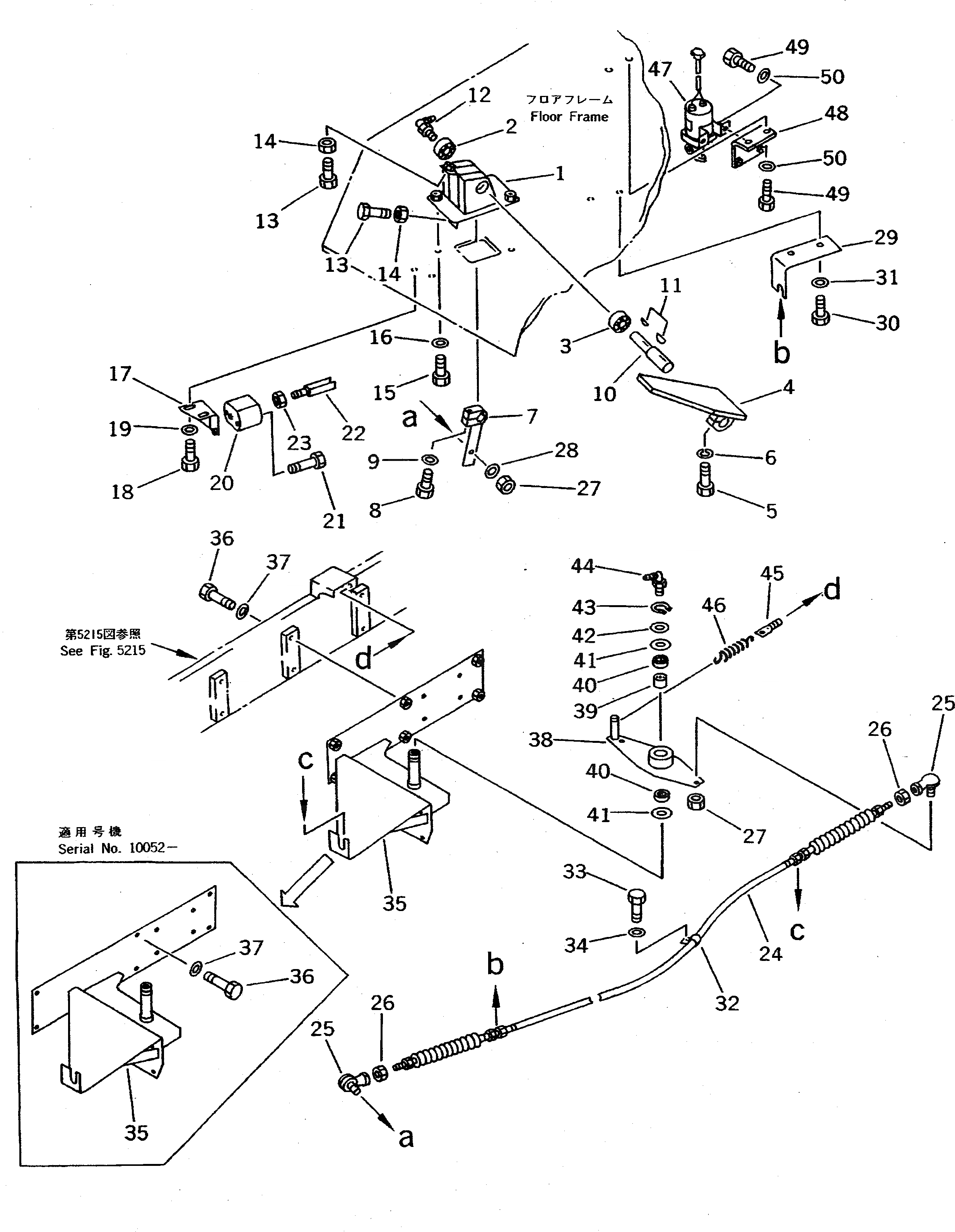
Запчасти Komatsu WA800-1 МЕХАНИЗМ ПЕДАЛИ АКСЕЛЕРАТОРА(/)(№-99) КОМПОНЕНТЫ ДВИГАТЕЛЯ И ЭЛЕКТРИКА

Схема запчастей Komatsu WA800-1 - МЕХАНИЗМ ПЕДАЛИ АКСЕЛЕРАТОРА(/)(№-99) КОМПОНЕНТЫ ДВИГАТЕЛЯ И ЭЛЕКТРИКА
FIT
1:1
100%

Артикул

Название

Примечание

Количество

1

421-43-11123

BRACKET

SN: 10001-10499

1шт.

2

426-43-11110

BEARING

SN: 10001-10499

1шт.

3

426-43-11120

BEARING

SN: 10001-10499

1шт.

4

421-43-11112

PEDAL

SN: 10001-10499

1шт.

5

01010-50825

BOLT

SN: 10001-10499

1шт.

6

01602-20825

WASHER,SPRING

SN: 10001-10499

1шт.

7

427-43-11310

LEVER

SN: 10001-10499

1шт.

8

01010-50825

BOLT

SN: 10001-10499

1шт.

9

01643-30823

WASHER

SN: 10001-10499

1шт.

10

421-43-11160

SHAFT

SN: 10001-10499

1шт.

11

04010-00519

KEY

SN: 10001-10499

2шт.

12

07020-00900

FITTING,GREASE

SN: 10001-10499

1шт.

13

01016-51250

BOLT

SN: 10001-10499

2шт.

14

01580-11210

NUT

SN: 10001-10499

2шт.

15

01010-51225

BOLT

SN: 10001-10499

2шт.

16

01643-31232

WASHER

SN: 10001-10499

2шт.

17

427-43-11261

BRACKET

SN: 10001-10499

1шт.

18

01010-50616

BOLT

SN: 10001-10499

2шт.

19

01643-30623

WASHER

SN: 10001-10499

2шт.

20

427-43-11240

AIR CYLINDER ASS'Y

SN: 10001-@

1шт.

21

01252-40550

BOLT

SN: 10001-@

2шт.

22

427-43-11270

YOKE

SN: 10001-@

1шт.

23

01580-10504

NUT

SN: 10001-@

1шт.

24

427-43-11321

CABLE

SN: 10001-10499

1шт.

24

0

CABLE

SN: (10001-10033)

1шт.

25

424-09-12450

JOINT

SN: 10001-10499

2шт.

26

01580-10605

NUT

SN: 10001-10499

2шт.

27

426-09-11130

NUT

SN: 10001-@

2шт.

28

01643-30623

WASHER

SN: 10001-10499

1шт.

29

426-43-11141

BRACKET

SN: 10001-10499

1шт.

30

01010-51230

BOLT

SN: 10001-10499

2шт.

31

01643-31232

WASHER

SN: 10001-10499

2шт.

32

426-35-11250

CLIP

SN: 10001-10499

1шт.

33

01010-51016

BOLT

SN: 10001-10499

1шт.

34

01643-31032

WASHER

SN: 10001-@

1шт.

35

427-62-11362

BRACKET

SN: 10052-10499

1шт.

35

427-62-11361

BRACKET

SN: 10001-10051

1шт.

36

01010-31040

BOLT

SN: 10001-10499

6шт.

37

01643-31032

WASHER

SN: 10001-10499

6шт.

38

427-43-11190

LEVER

SN: 10001-10499

1шт.

39

06120-02030

BEARING,NEEDLE

SN: 10001-@

1шт.

40

06122-02004

SEAL,BEARING

SN: 10001-@

2шт.

41

01643-32060

WASHER

SN: 10001-@

2шт.

42

01643-31845

WASHER

SN: 10001-@

1шт.

43

04064-01812

RING,SNAP

SN: 10001-@

1шт.

44

07020-00675

FITTING,GREASE

SN: 10001-10499

1шт.

45

426-43-11180

ROD

SN: 10001-@

1шт.

46

415-43-11240

SPRING

SN: 10001-@

1шт.

47

425-06-11150

VALVE

SN: 10001-@

1шт.

48

427-43-11291

PLATE

SN: 10001-@

1шт.

49

01010-50820

BOLT

SN: 10001-@

4шт.

50

01643-30823

WASHER

SN: 10001-@

4шт.

Выбрано товаров: 52