Запчасти Komatsu WA800-1 ВОЗДУХОВОД (КЛАПАН ПЕДАЛИ - КАМЕРА /)(№-99) ВЕДУЩ. ВАЛ¤ ДИФФЕРЕНЦ. И КОЛЕСА

Схема запчастей Komatsu WA800-1 - ВОЗДУХОВОД (КЛАПАН ПЕДАЛИ - КАМЕРА /)(№-99) ВЕДУЩ. ВАЛ¤ ДИФФЕРЕНЦ. И КОЛЕСА
FIT
1:1
100%

Артикул

Название

Примечание

Количество

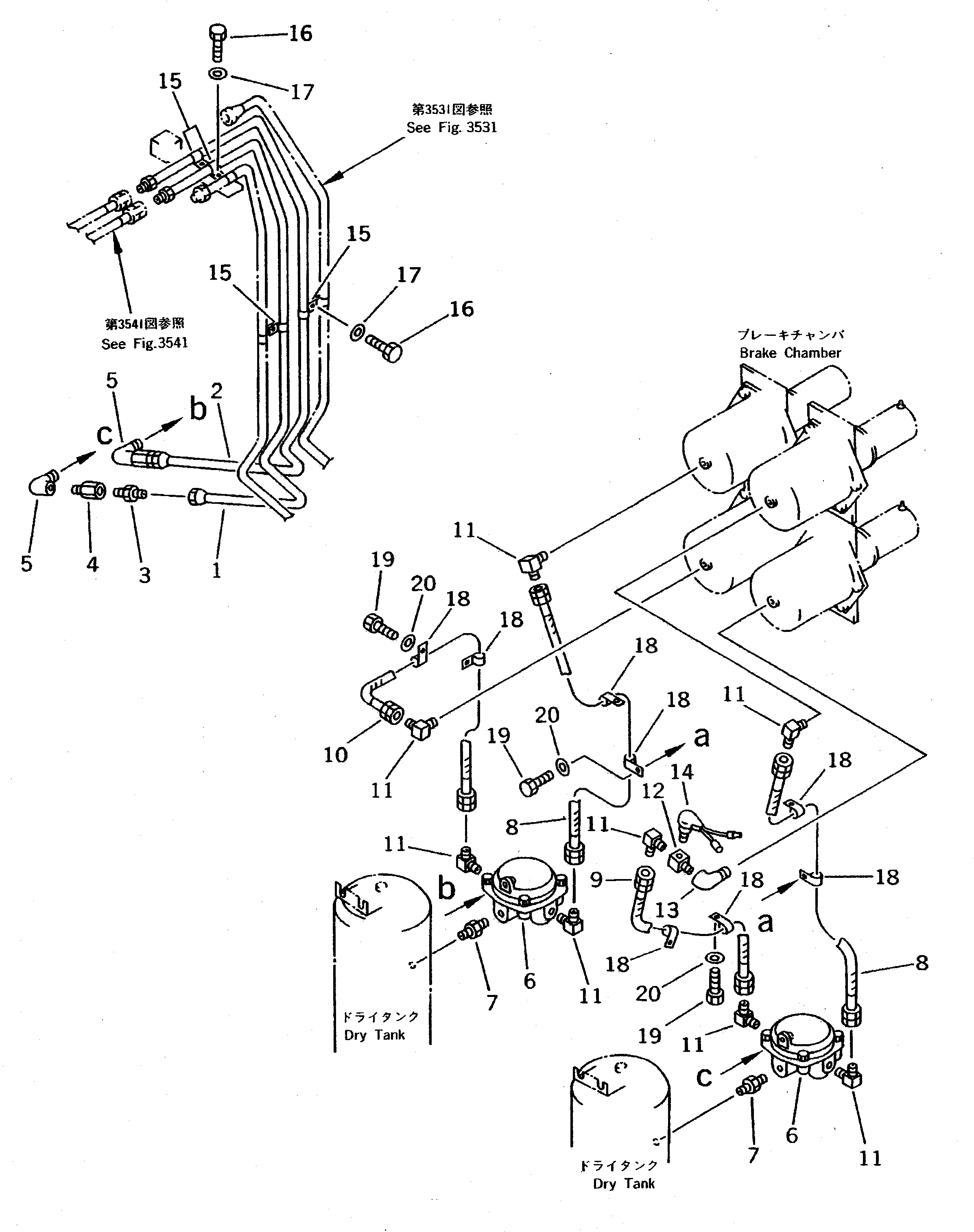
1

427-35-11161

TUBE

SN: 10001-10499

1шт.

2

427-35-11151

TUBE

SN: 10001-10499

1шт.

3

07214-71217

CONNECTOR

SN: 10001-10499

2шт.

3

0

CONNECTOR

SN: (10001-.)

2шт.

4

20S-01-11210

NIPPLE

SN: 10001-10499

2шт.

5

07323-B0200

ELBOW

SN: 10001-10499

2шт.

5

0

ELBOW

SN: (10001-.)

2шт.

6

427-35-15130

VALVE ASS'Y,RELAY (SEE FIG.3611)

SN: 10001-@

2шт.

7

07327-20400

NIPPLE

SN: 10001-@

2шт.

8

07102-20310

HOSE

SN: 10001-10499

2шт.

9

07102-20307

HOSE

SN: 10001-10499

1шт.

10

07102-20308

HOSE

SN: 10001-10499

1шт.

11

424-35-12730

ELBOW

SN: 10001-@

8шт.

11

0

ELBOW

SN: (10001-.)

8шт.

12

424-35-12750

JOINT

SN: 10001-10499

1шт.

12

0

JOINT

SN: (10001-.)

1шт.

13

07323-B0300

ELBOW

SN: 10001-10499

1шт.

13

0

ELBOW

SN: (10001-.)

1шт.

14

421-06-11570

SWITCH,STOP LAMP

SN: 10001-@

1шт.

15

426-35-11250

CLIP

SN: 10001-10499

4шт.

16

01010-51016

BOLT

SN: 10001-10499

4шт.

17

01643-31032

WASHER

SN: 10001-10499

4шт.

18

08036-01814

CLIP

SN: 10001-@

8шт.

19

01010-51016

BOLT

SN: 10001-@

6шт.

20

01643-31032

WASHER

SN: 10001-@

6шт.

Выбрано товаров: 25