Запчасти Komatsu WA800-1 РУЛЕВ. УПРАВЛЕНИЕ МЕХАНИЗМ(№-99) РУЛЕВ. УПРАВЛЕНИЕ И СИСТЕМА УПРАВЛЕНИЯ

Схема запчастей Komatsu WA800-1 - РУЛЕВ. УПРАВЛЕНИЕ МЕХАНИЗМ(№-99) РУЛЕВ. УПРАВЛЕНИЕ И СИСТЕМА УПРАВЛЕНИЯ
FIT
1:1
100%

Артикул

Название

Примечание

Количество

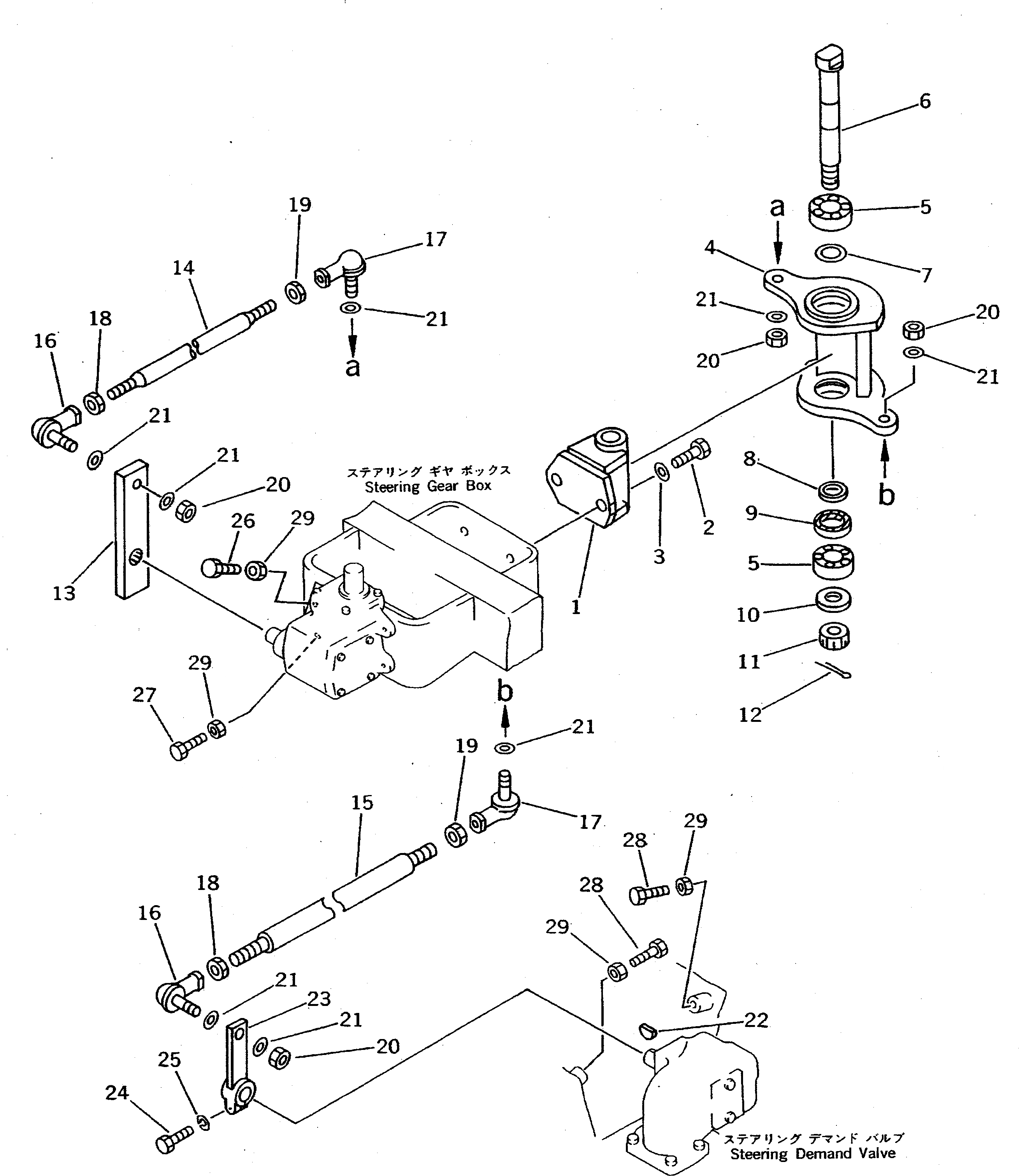
1

427-40-11171

BRACKET

SN: 10001-10499

1шт.

2

01010-51655

BOLT

SN: 10001-10499

2шт.

3

01643-31645

WASHER

SN: 10001-10499

2шт.

4

427-40-11161

BRACKET

SN: 10001-10499

1шт.

5

421-40-11411

BEARING

SN: 10001-@

2шт.

6

427-40-11151

SHAFT

SN: 10001-10499

1шт.

7

426-40-11130

SPACER

SN: 10001-@

1шт.

8

426-40-11110

SPACER

SN: 10001-@

1шт.

9

07145-00045

SEAL

SN: 10001-@

1шт.

10

01643-32460

WASHER

SN: 10001-@

1шт.

11

01590-12427

NUT

SN: 10001-@

1шт.

12

04050-15045

PIN,COTTER

SN: 10001-@

1шт.

13

427-40-11180

PLATE

SN: 10001-10499

1шт.

14

427-40-11110

ROD

SN: 10001-10499

1шт.

15

427-40-11120

ROD

SN: 10001-@

1шт.

16

421-40-11381

JOINT

SN: 10001-@

2шт.

17

421-40-11371

JOINT

SN: 10001-@

2шт.

18

01580-11613

NUT

SN: 10001-@

2шт.

19

421-40-11390

NUT

SN: 10001-@

2шт.

20

421-40-11510

NUT

SN: 10001-@

4шт.

21

01643-31645

WASHER

SN: 10001-@

8шт.

22

04010-00519

KEY

SN: 10001-@

1шт.

23

427-40-11131

LEVER

SN: 10001-10499

1шт.

24

01010-50830

BOLT

SN: 10001-@

1шт.

25

01602-20825

WASHER,SPRING

SN: 10001-@

1шт.

26

01016-51250

BOLT

SN: 10001-10499

1шт.

27

01016-51260

BOLT

SN: 10001-@

1шт.

28

01016-51255

BOLT

SN: 10001-@

2шт.

29

01580-11210

NUT

SN: 10001-@

4шт.

Выбрано товаров: 29