Запчасти Komatsu WA800-1 МАСЛООХЛАДИТЕЛЬ (ДЛЯ ТОРКФЛОУ МАСЛ.) КОМПОНЕНТЫ ДВИГАТЕЛЯ И ЭЛЕКТРИКА

Схема запчастей Komatsu WA800-1 - МАСЛООХЛАДИТЕЛЬ (ДЛЯ ТОРКФЛОУ МАСЛ.) КОМПОНЕНТЫ ДВИГАТЕЛЯ И ЭЛЕКТРИКА
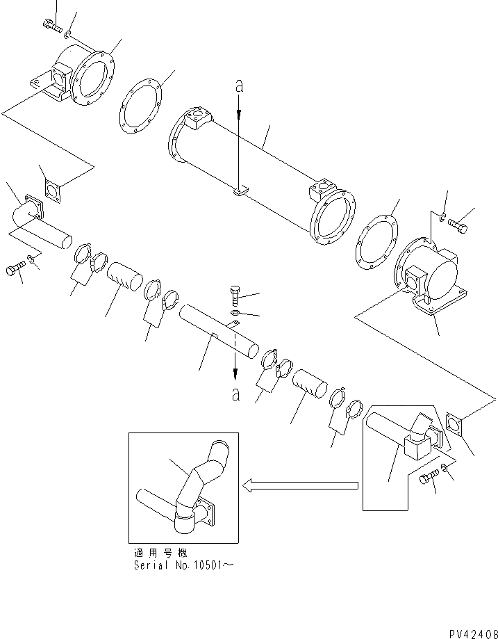
1
2
3
4
4
5
5
6
6
7
8
8
9
9
10
10
11
11
12
13
13
14
14
14
14
15
16
FIT
1:1
100%

Артикул

Название

Примечание

Количество

|1

427-03-14300

OIL COOLER ASS'Y

SN: 10501-UP

1шт.

|1

427-03-14100

OIL COOLER ASS'Y

SN: 10001-10499

1шт.

1

427-03-14310

ELEMENT

SN: 10501-UP

1шт.

|1

427-03-14120

ELEMENT

SN: 10001-10499

1шт.

2

427-03-14110

COVER

SN: 10001-UP

1шт.

3

427-03-14340

COVER

SN: 10501-UP

1шт.

|3

427-03-14130

COVER

SN: 10001-10499

1шт.

4

427-03-14141

GASKET

SN: 10001-UP

2шт.

|4

0

GASKET

SN: (10001-10654)

2шт.

5

01010-81035

BOLT

SN: 10001-UP

16шт.

6

01602-21030

WASHER,SPRING

SN: 10001-UP

16шт.

7

427-03-14150

PIPE

SN: 10001-UP

1шт.

8

427-03-14330

PIPE

SN: 10501-UP

1шт.

|8

427-03-14170

PIPE

SN: 10001-10499

1шт.

9

427-03-14181

GASKET

SN: 10001-UP

2шт.

|9

0

GASKET

SN: (10001-10654)

2шт.

10

01010-81030

BOLT

SN: 10001-UP

8шт.

11

01602-21030

WASHER,SPRING

SN: 10001-UP

8шт.

12

427-03-14320

PIPE

SN: 10501-UP

1шт.

|12

427-03-14160

PIPE

SN: 10001-10499

1шт.

13

07260-25816

HOSE

SN: 10001-UP

2шт.

14

07281-00809

CLAMP

SN: 10001-UP

8шт.

15

01010-81220

BOLT

SN: 10001-UP

1шт.

16

01643-31232

WASHER

SN: 10001-UP

1шт.

Выбрано товаров: 24