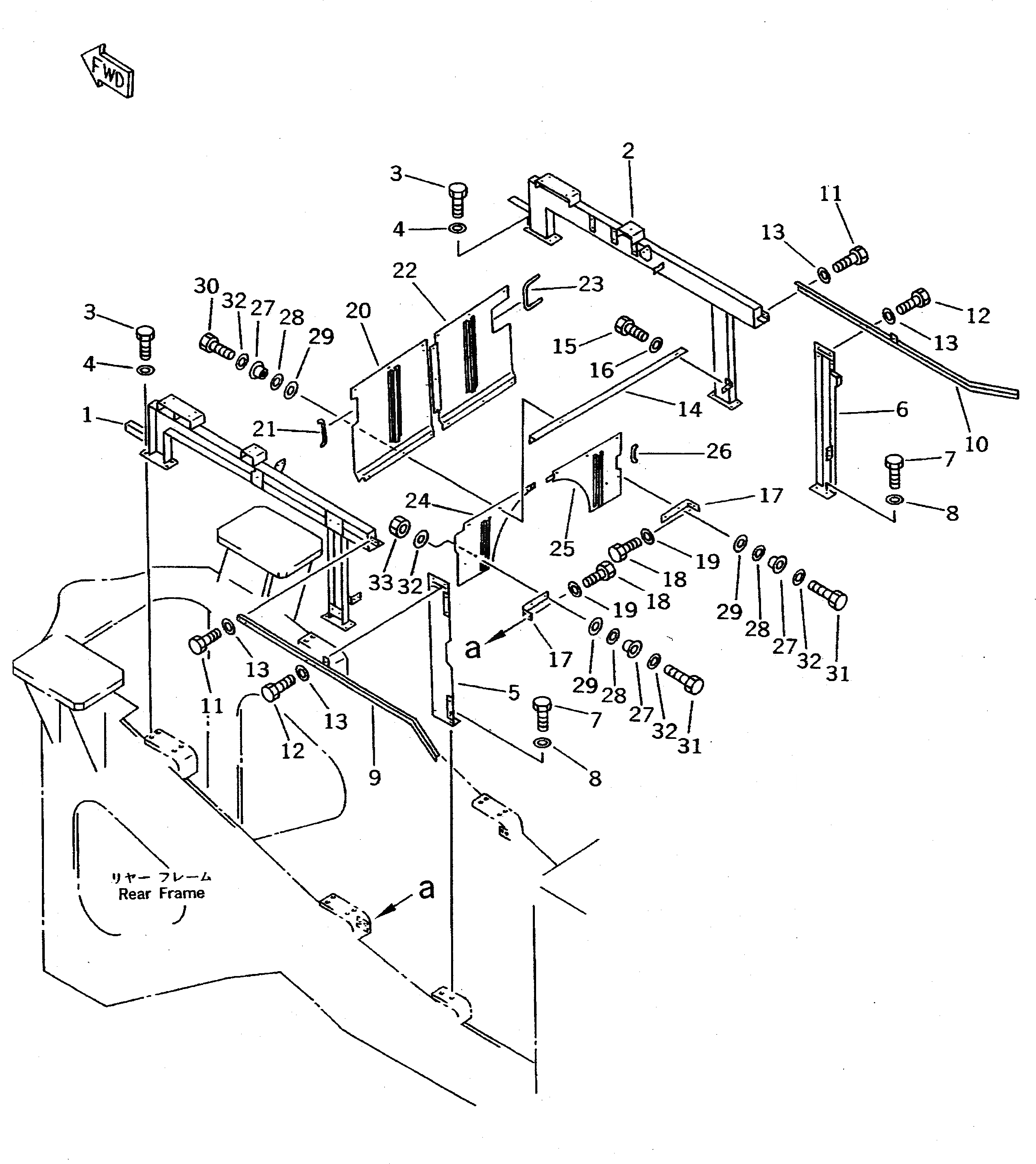
Запчасти Komatsu WA800-1 БОКОВ. КРЫШКА ДВИГ. РАМА(№-) РАМА И ЧАСТИ КОРПУСА

Схема запчастей Komatsu WA800-1 - БОКОВ. КРЫШКА ДВИГ. РАМА(№-) РАМА И ЧАСТИ КОРПУСА
FIT
1:1
100%

Артикул

Название

Примечание

Количество

1

427-54-11252

BRACKET,L.H.

SN: 10001-10051

1шт.

2

427-54-11262

BRACKET,R.H.

SN: 10001-10051

1шт.

3

01010-51645

BOLT

SN: 10001-@

16шт.

4

01643-31645

WASHER

SN: 10001-@

16шт.

5

427-54-11230

BRACKET

SN: 10001-@

1шт.

6

427-54-11241

BRACKET

SN: 10001-@

1шт.

7

01010-51225

BOLT

SN: 10001-@

4шт.

8

01643-31232

WASHER

SN: 10001-@

4шт.

9

427-54-11270

BAR,L.H.

SN: 10001-@

1шт.

10

427-54-11280

BAR,R.H.

SN: 10001-@

1шт.

11

01010-51230

BOLT

SN: 10001-@

8шт.

12

01010-51225

BOLT

SN: 10001-@

4шт.

13

01643-31232

WASHER

SN: 10001-@

12шт.

14

427-54-11831

ANGLE

SN: 10034-@

1шт.

|14

0

ANGLE

SN: 10001-10033

1шт.

15

01010-51230

BOLT

SN: 10001-@

4шт.

16

01643-31232

WASHER

SN: 10001-@

4шт.

17

427-54-13120

BRACKET,(FOR JAPAN)

SN: 10051-@

2шт.

|17

427-54-11841

BRACKET,(FOR JAPAN)

SN: 10001-10050

2шт.

|17

427-54-13120

BRACKET,(EXCEPT JAPAN)

SN: 10040-@

2шт.

|17

427-54-11841

BRACKET,(EXCEPT JAPAN)

SN: 10001-10039

2шт.

18

01010-51230

BOLT

SN: 10040-@

4шт.

|18

0

BOLT

SN: 10001-10039

8шт.

19

01643-31232

WASHER

SN: 10001-@

4шт.

20

427-54-11822

COVER,L.H.

SN: 10001-@

1шт.

21

427-54-11770

SEAL

SN: 10001-@

1шт.

22

427-54-11812

COVER,R.H.

SN: 10001-@

1шт.

23

427-54-11760

SEAL

SN: 10001-@

1шт.

24

427-54-11791

COVER,L.H.

SN: 10001-@

1шт.

25

427-54-11781

COVER,R.H.

SN: 10001-@

1шт.

26

427-54-11750

SEAL

SN: 10001-@

1шт.

27

427-54-11860

SPACER

SN: 10001-@

19шт.

28

415-46-11380

CUSHION

SN: 10001-@

19шт.

29

01640-22232

WASHER

SN: 10001-@

19шт.

30

01010-51235

BOLT

SN: 10001-@

16шт.

31

01010-51240

BOLT

SN: 10001-@

4шт.

32

01643-31232

WASHER

SN: 10025-@

23шт.

|32

01643-31232

WASHER

SN: 10001-10024

20шт.

33

01580-11210

NUT

SN: 10025-@

4шт.

Выбрано товаров: 39