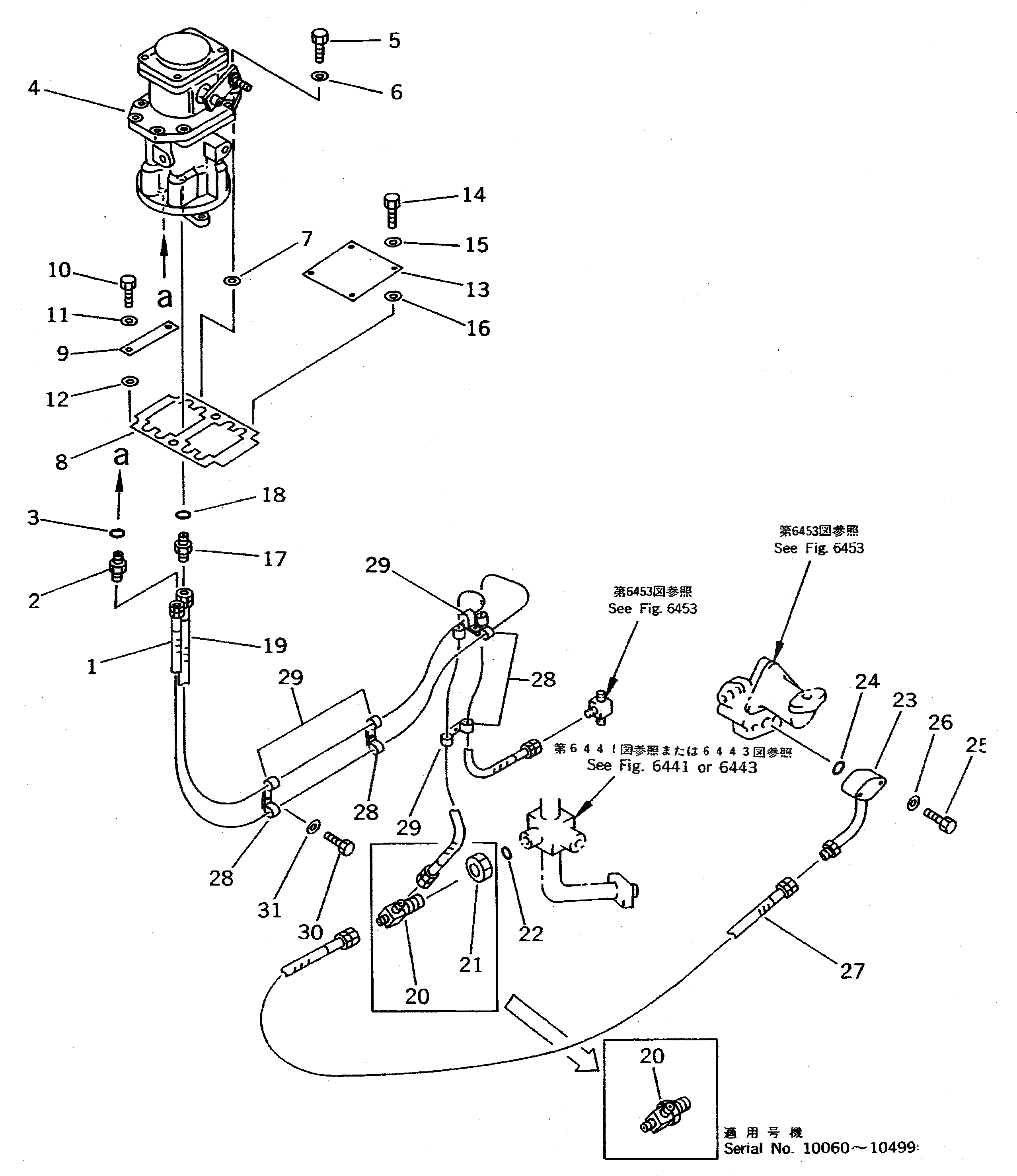
Запчасти Komatsu WA800-1 ГИДРОЛИНИЯ (P.O.C. КЛАПАН ЛИНИЯ /7)(№-99) УПРАВЛ-Е РАБОЧИМ ОБОРУДОВАНИЕМ

Схема запчастей Komatsu WA800-1 - ГИДРОЛИНИЯ (P.O.C. КЛАПАН ЛИНИЯ /7)(№-99) УПРАВЛ-Е РАБОЧИМ ОБОРУДОВАНИЕМ
FIT
1:1
100%

Артикул

Название

Примечание

Количество

1

07102-20423

HOSE

SN: 10027-@

1шт.

|1

07102-20323

HOSE

SN: 10026-10026

1шт.

|1

07102-20423

HOSE

SN: 10025-10025

1шт.

|1

07102-20323

HOSE

SN: 10023-10024

1шт.

|1

07102-20423

HOSE

SN: 10022-10022

1шт.

|1

07102-20323

HOSE

SN: 10014-10021

1шт.

|1

07102-20423

HOSE

SN: 10012-10013

1шт.

|1

07102-20323

HOSE

SN: 10001-10011

1шт.

2

427-62-11750

NIPPLE

SN: 10027-10499

1шт.

|2

205-62-55270

NIPPLE

SN: 10026-10026

1шт.

|2

427-62-11750

NIPPLE

SN: 10025-10025

1шт.

|2

205-62-55270

NIPPLE

SN: 10023-10024

1шт.

|2

427-62-11750

NIPPLE

SN: 10022-10022

1шт.

|2

205-62-55270

NIPPLE

SN: 10014-10021

1шт.

|2

427-62-11750

NIPPLE

SN: 10012-10013

1шт.

|2

205-62-55270

NIPPLE

SN: 10001-10011

1шт.

3

07002-31423

O-RING

SN: .-10499

1шт.

|3

0

O-RING

SN: 10001-.

1шт.

4

702-16-19000

VALVE ASS'Y,P.O.C.

SN: 10001-10499

1шт.

5

01010-80825

BOLT

SN: 10001-10499

4шт.

6

01643-30823

WASHER

SN: 10001-10499

4шт.

7

209-62-11810

SPACER

SN: 10001-10499

4шт.

8

425-62-14280

SHEET

SN: 10001-10499

1шт.

9

421-62-13930

PLATE

SN: 10001-10499

1шт.

10

01010-80825

BOLT

SN: 10001-10499

2шт.

11

01643-30823

WASHER

SN: 10001-10499

2шт.

12

209-62-11810

SPACER

SN: 10001-10499

2шт.

13

425-62-13740

PLATE

SN: 10001-10499

1шт.

14

01010-80830

BOLT

SN: 10001-10499

4шт.

15

01643-30823

WASHER

SN: 10001-10499

4шт.

16

209-62-11810

SPACER

SN: 10001-10499

4шт.

17

07230-10422

UNION

SN: 10001-10499

1шт.

18

07002-22034

O-RING

SN: .-@

1шт.

|18

0

O-RING

SN: 10001-.

1шт.

19

07102-20422

HOSE

SN: 10001-10499

1шт.

20

427-62-14472

TEE

SN: 10001-@

1шт.

|20

0

TEE

SN: (10001-10059)

1шт.

21

07239-13320

NUT

SN: 10001-10059

1шт.

22

07002-23334

O-RING

SN: 10001-@

1шт.

23

427-62-11152

TUBE

SN: 10001-@

1шт.

24

07000-F3025

O-RING

SN: .-@

1шт.

|24

0

O-RING

SN: 10001-.

1шт.

25

01010-81055

BOLT

SN: 10001-10499

2шт.

26

01643-31032

WASHER

SN: 10001-10499

2шт.

27

07102-20507

HOSE

SN: 10001-@

1шт.

28

08035-02510

CLIP

SN: 10027-@

1шт.

|28

08036-01814

CLIP

SN: 10026-10026

5шт.

|28

08035-02510

CLIP

SN: 10025-10025

5шт.

|28

08036-01814

CLIP

SN: 10023-10024

5шт.

|28

08035-02510

CLIP

SN: 10022-10022

5шт.

|28

08036-01814

CLIP

SN: 10014-10021

5шт.

|28

08035-02510

CLIP

SN: 10012-10013

5шт.

|28

08036-01814

CLIP

SN: 10001-10011

5шт.

29

08035-02510

CLIP

SN: 10001-@

5шт.

30

01010-81020

BOLT

SN: 10001-@

5шт.

31

01643-31032

WASHER

SN: 10001-@

5шт.

Выбрано товаров: 56