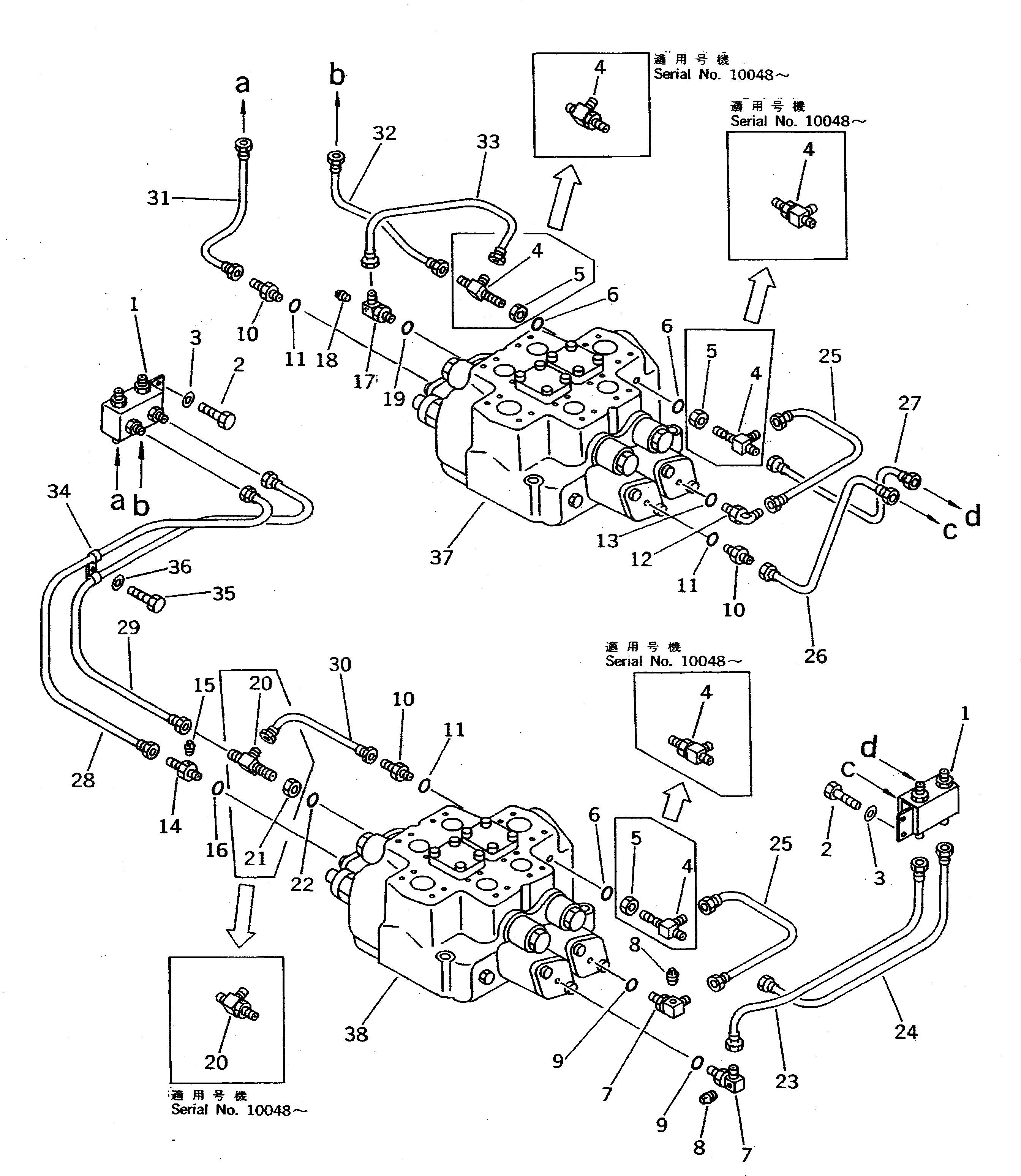
Запчасти Komatsu WA800-1 ГИДРОЛИНИЯ (P.O.C. КЛАПАН ЛИНИЯ 7/7)(№-99) УПРАВЛ-Е РАБОЧИМ ОБОРУДОВАНИЕМ

Схема запчастей Komatsu WA800-1 - ГИДРОЛИНИЯ (P.O.C. КЛАПАН ЛИНИЯ 7/7)(№-99) УПРАВЛ-Е РАБОЧИМ ОБОРУДОВАНИЕМ
FIT
1:1
100%

Артикул

Название

Примечание

Количество

1

427-62-11450

BLOCK

SN: 10001-10499

2шт.

2

01010-81020

BOLT

SN: 10001-10499

4шт.

3

01643-31032

WASHER

SN: 10001-10499

4шт.

4

709-12-12350

TEE

SN: 10001-10499

3шт.

|4

0

TEE

SN: (10001-10047)

3шт.

5

07239-11408

NUT

SN: 10001-10047

3шт.

6

07002-21423

O-RING

SN: 10054-@

3шт.

|6

0

O-RING

SN: 10001-10053

3шт.

7

426-62-13131

ELBOW

SN: 10001-10499

2шт.

8

07042-20108

PLUG

SN: 10001-10499

2шт.

9

07002-31423

O-RING

SN: 10054-10499

2шт.

|9

0

O-RING

SN: 10001-10053

2шт.

10

07230-10210

UNION

SN: 10001-10499

3шт.

11

07002-31423

O-RING

SN: 10054-10499

3шт.

|11

0

O-RING

SN: 10001-10053

3шт.

12

07235-10210

ELBOW

SN: 10001-10499

1шт.

13

07002-31423

O-RING

SN: 10054-10499

1шт.

|13

0

O-RING

SN: 10001-10053

1шт.

14

427-62-11570

UNION

SN: 10001-10499

1шт.

15

07042-20108

PLUG

SN: 10001-@

1шт.

16

07002-31423

O-RING

SN: 10054-10499

1шт.

|16

0

O-RING

SN: 10001-10053

1шт.

17

427-62-11580

ELBOW

SN: 10001-10499

1шт.

18

07042-20108

PLUG

SN: 10001-@

1шт.

19

07002-31423

O-RING

SN: 10054-10499

1шт.

|19

0

O-RING

SN: 10001-10053

1шт.

20

427-62-11820

TEE

SN: 10001-10499

1шт.

|20

0

TEE

SN: (10001-10047)

1шт.

21

07239-11408

NUT

SN: 10001-10047

1шт.

22

07002-31423

O-RING

SN: 10054-10499

1шт.

|22

0

O-RING

SN: 10001-10053

1шт.

23

427-62-11551

TUBE

SN: 10001-10499

1шт.

24

427-62-11530

TUBE

SN: 10001-10499

1шт.

25

427-62-11310

TUBE

SN: 10001-10499

2шт.

26

427-62-11540

TUBE

SN: 10001-10499

1шт.

27

427-62-11520

TUBE

SN: 10001-10499

1шт.

28

427-62-11510

TUBE

SN: 10001-10499

1шт.

29

427-62-11850

TUBE

SN: 10066-UP

1шт.

|29

427-62-11480

TUBE

SN: 10001-10065

1шт.

30

427-62-11860

TUBE

SN: 10066-UP

1шт.

|30

427-62-11260

TUBE

SN: 10001-10065

1шт.

31

427-62-11490

TUBE

SN: 10001-10499

1шт.

32

427-62-11460

TUBE

SN: 10001-10499

1шт.

33

427-62-16240

TUBE

SN: 10066-UP

1шт.

|33

427-62-11470

TUBE

SN: 10001-10065

1шт.

34

424-04-11120

CLIP

SN: 10001-10499

2шт.

35

01010-81020

BOLT

SN: 10001-10499

1шт.

36

01643-31032

WASHER

SN: 10001-10499

1шт.

37

709-12-11405

VALVE ASS'Y

SN: 10066-10499

1шт.

|37

\4\709-12-11404

VALVE ASS'Y

SN: 10001-10065

1шт.

|$$51

(709-12-11405{427-62-16240)}

-1шт.

38

709-12-11405

VALVE ASS'Y

SN: 10066-10499

1шт.

|38

\4\709-12-11404

VALVE ASS'Y

SN: 10001-10065

1шт.

|$$54

(709-12-11405{427-62-11850¤}

-1шт.

|$$55

427-62-11860)

-1шт.

Выбрано товаров: 55