Запчасти Komatsu WA800-1 КЛАПАН РЕЛЕ ОБОГРЕВАТЕЛЬ. (МОРОЗОУСТОЙЧИВ. СПЕЦИФИКАЦИЯ.) КОМПОНЕНТЫ ДВИГАТЕЛЯ И ЭЛЕКТРИКА

Схема запчастей Komatsu WA800-1 - КЛАПАН РЕЛЕ ОБОГРЕВАТЕЛЬ. (МОРОЗОУСТОЙЧИВ. СПЕЦИФИКАЦИЯ.) КОМПОНЕНТЫ ДВИГАТЕЛЯ И ЭЛЕКТРИКА
1
1
2
3
3
4
4
5
FIT
1:1
100%

Артикул

Название

Примечание

Количество

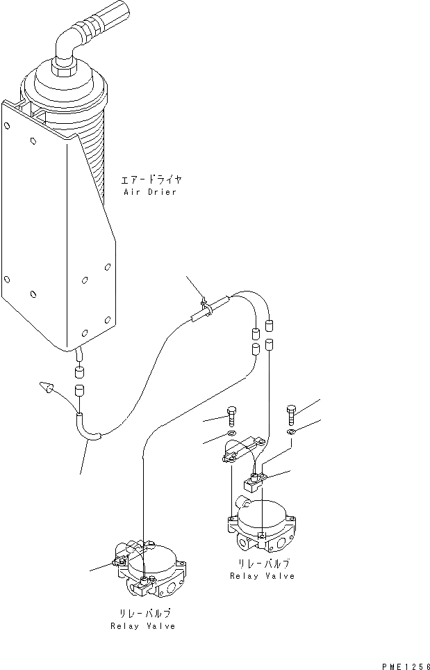
1

427-N81-1110

HEATER ASS'Y

SN: 10001-UP

2шт.

2

427-N81-1120

HARNESS

SN: 10001-UP

1шт.

3

01010-80840

BOLT

SN: 10001-UP

6шт.

4

560-44-11920

WASHER

SN: 10001-UP

6шт.

5

08034-00519

BAND

SN: 10001-UP

10шт.

Выбрано товаров: 5