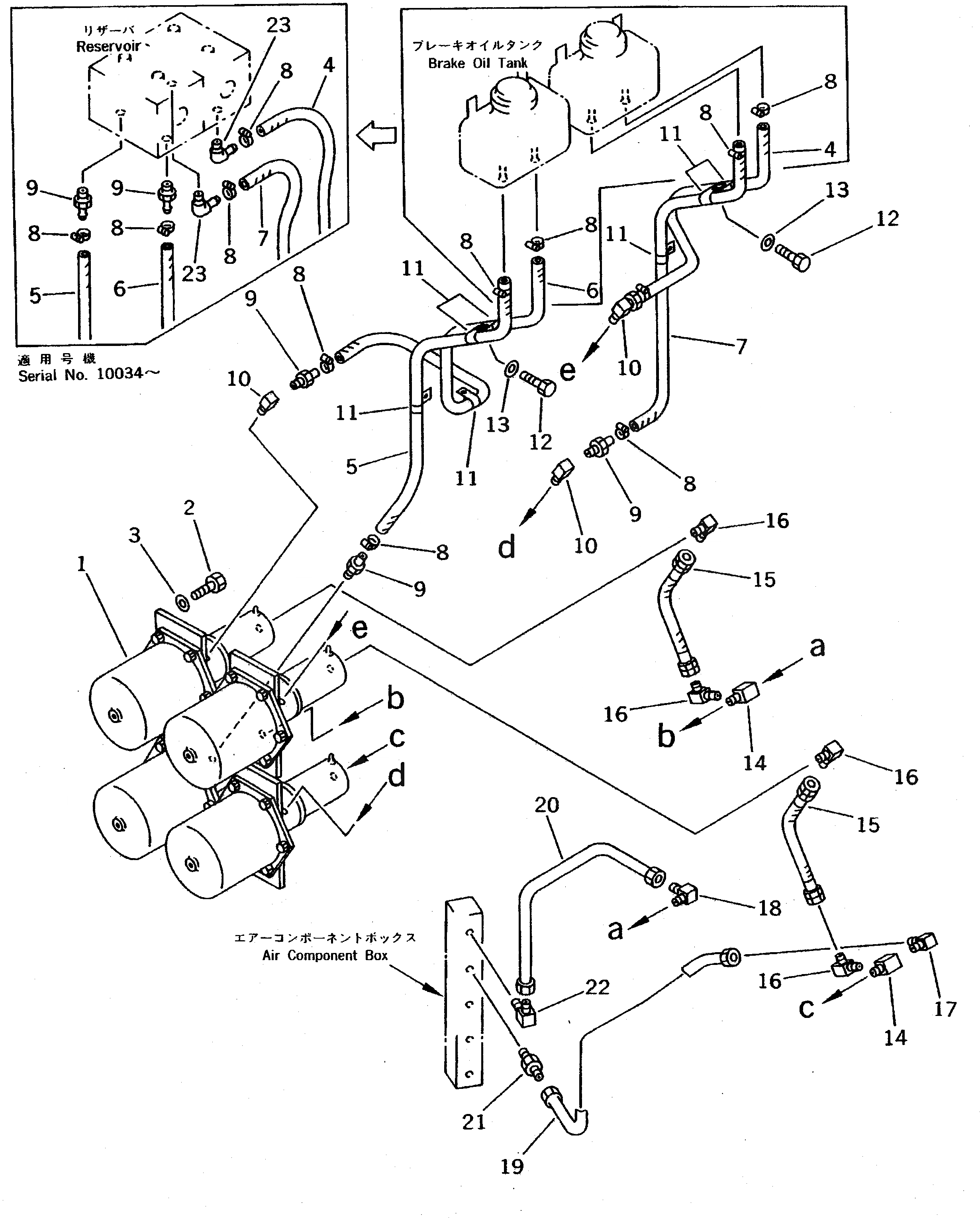
Запчасти Komatsu WA800-1 ТОРМОЗ. МАСЛОПРОВОДЯЩАЯ ЛИНИЯ (БАК - КАМЕРА)(№-99) ВЕДУЩ. ВАЛ¤ ДИФФЕРЕНЦ. И КОЛЕСА

Схема запчастей Komatsu WA800-1 - ТОРМОЗ. МАСЛОПРОВОДЯЩАЯ ЛИНИЯ (БАК - КАМЕРА)(№-99) ВЕДУЩ. ВАЛ¤ ДИФФЕРЕНЦ. И КОЛЕСА
FIT
1:1
100%

Артикул

Название

Примечание

Количество

1

421-35-13301

BRAKE CHAMBER ASS'Y

SN: 10001-@

4шт.

|1

0

BRAKE CHAMBER ASS'Y

SN: (10001-10038)

4шт.

2

01010-51230

BOLT

SN: 10001-10499

16шт.

|2

0

BOLT

SN: (10001-.)

16шт.

3

01643-31232

WASHER

SN: 10001-10499

16шт.

4

07260-21422

HOSE

SN: 10034-@

1шт.

|4

07260-21450

HOSE

SN: 10001-10033

1шт.

5

07260-21463

HOSE

SN: 10001-@

1шт.

6

07260-21450

HOSE

SN: 10034-@

1шт.

|6

07260-21456

HOSE

SN: 10001-10033

1шт.

7

07260-21455

HOSE

SN: 10034-@

1шт.

|7

07260-21480

HOSE

SN: 10001-10033

1шт.

8

07281-00259

CLAMP

SN: 10001-@

8шт.

9

425-35-11650

NIPPLE

SN: 10034-@

6шт.

|9

425-35-11650

NIPPLE

SN: 10001-10033

4шт.

10

565-44-15380

ELBOW

SN: 10001-@

3шт.

11

08036-02514

CLIP

SN: 10001-@

7шт.

12

01010-51016

BOLT

SN: 10001-@

5шт.

13

01643-31032

WASHER

SN: 10001-@

5шт.

14

426-35-11610

TEE

SN: 10001-@

2шт.

15

07108-20403

HOSE

SN: 10001-@

2шт.

16

195-04-12280

ELBOW

SN: 10001-@

4шт.

17

195-04-12280

ELBOW

SN: 10001-@

1шт.

18

287-04-11120

ELBOW

SN: 10001-@

1шт.

19

427-35-11312

TUBE

SN: 10001-10499

1шт.

20

427-35-11292

TUBE

SN: 10001-10499

1шт.

21

10E-60-16360

NIPPLE

SN: 10001-10499

1шт.

22

287-04-11120

ELBOW

SN: 10001-@

1шт.

23

425-35-11660

ELBOW

SN: 10034-@

2шт.

Выбрано товаров: 29