Запчасти Komatsu WA800-2 ПОЛ СУППОРТ(№-98) РАМА И ЧАСТИ КОРПУСА

Схема запчастей Komatsu WA800-2 - ПОЛ СУППОРТ(№-98) РАМА И ЧАСТИ КОРПУСА
FIT
1:1
100%

Артикул

Название

Примечание

Количество

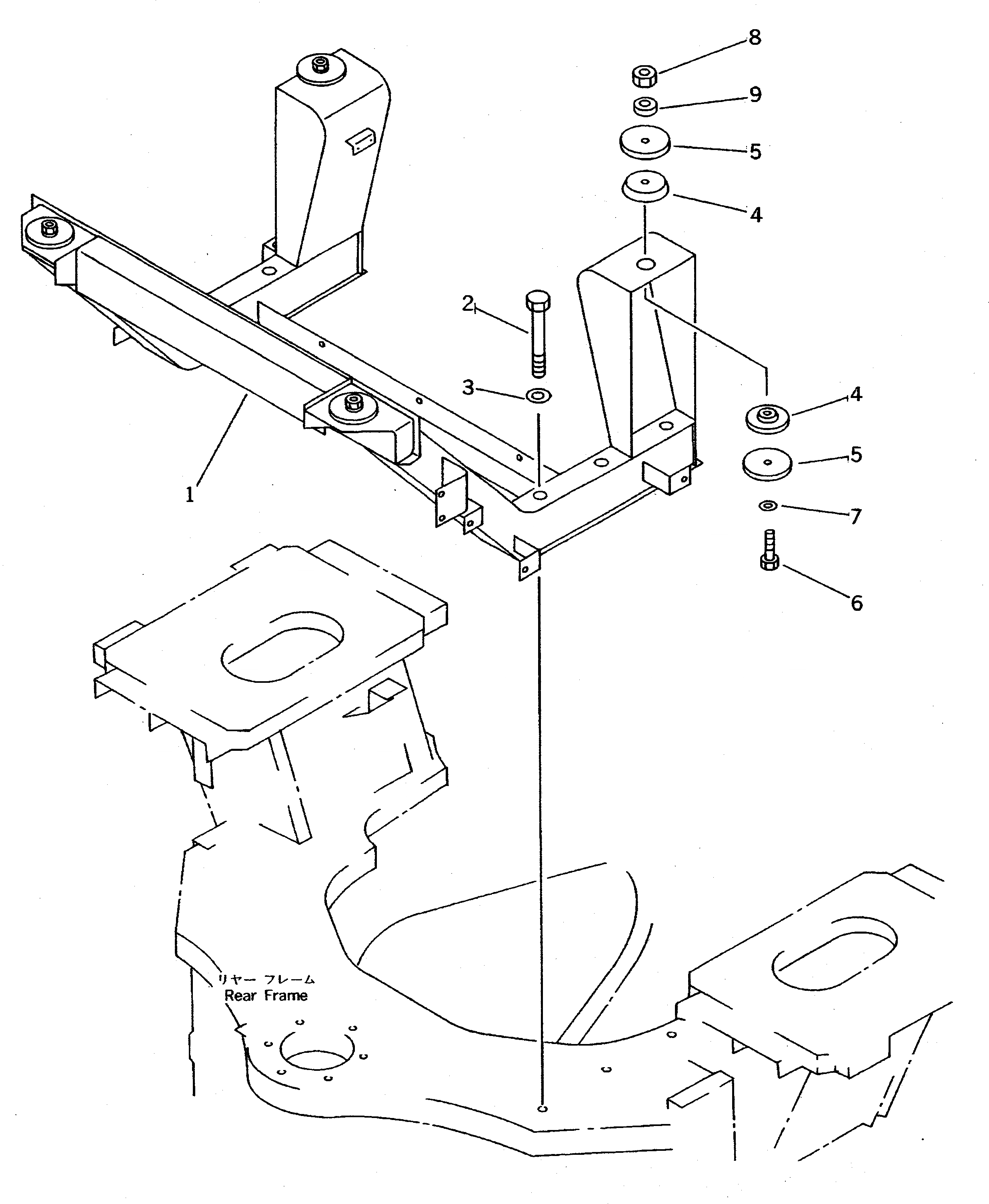
1

427-54-13550

SUPPORT

SN: 10501-10698

1шт.

1

427-S33-2860

SUPPORT,(FOR JOY STICK STEERING)

SN: 10501-10698

1шт.

1

427-Z17-1130

SUPPORT,(FOR MECHANICAL ENG. STOP S.)

SN: 10501-10698

1шт.

2

01011-81670

BOLT

SN: 10001-@

6шт.

3

01643-31645

WASHER

SN: 10001-@

6шт.

4

425-54-13160

CUSHION

SN: 10501-10698

8шт.

5

425-54-13170

PLATE

SN: 10501-10698

8шт.

6

01011-81610

BOLT

SN: 10501-10698

4шт.

7

01643-31645

WASHER

SN: 10501-10698

4шт.

8

01596-01615

NUT,LOCK

SN: 10501-@

4шт.

9

416-40-11150

WASHER

SN: 10501-10698

4шт.

Выбрано товаров: 11