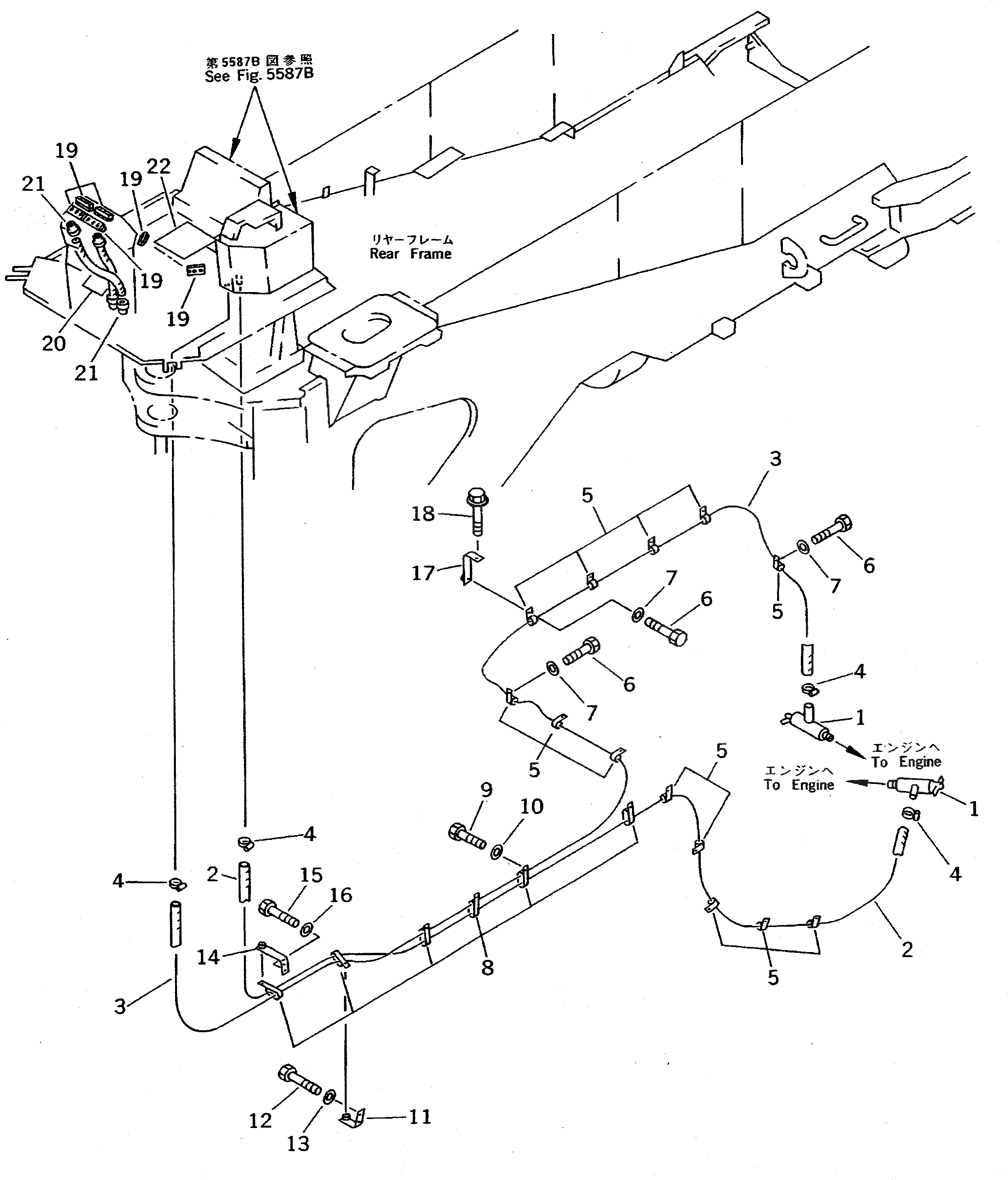
Запчасти Komatsu WA800-2 ГИДР. ПРОВОД. ОБОГРЕВАТЕЛЯ (DENSO)(№-) РАМА И ЧАСТИ КОРПУСА

Схема запчастей Komatsu WA800-2 - ГИДР. ПРОВОД. ОБОГРЕВАТЕЛЯ (DENSO)(№-) РАМА И ЧАСТИ КОРПУСА
FIT
1:1
100%

Артикул

Название

Примечание

Количество

1

09482-10000

VALVE

SN: 10050-UP

2шт.

2

09483-00554

HOSE

SN: 10501-UP

1шт.

3

09483-00566

HOSE

SN: 10501-UP

1шт.

4

07280-02523

CLAMP

SN: 10679-UP

4шт.

4

0

CLAMP

SN: 10501-10678

4шт.

5

08036-02514

CLIP

SN: 10501-UP

13шт.

6

01010-81020

BOLT

SN: 10501-UP

13шт.

7

01643-31032

WASHER

SN: 10501-UP

13шт.

8

421-07-11760

CLIP

SN: 10501-UP

6шт.

9

01010-51016

BOLT

SN: 10501-UP

6шт.

10

01643-31032

WASHER

SN: 10501-UP

6шт.

11

427-07-11251

BRACKET

SN: 10583-UP

1шт.

11

0

BRACKET

SN: 10050-10582

1шт.

12

01010-81020

BOLT

SN: 10050-UP

2шт.

13

01643-31232

WASHER

SN: 10050-UP

2шт.

14

427-07-11290

BRACKET

SN: 10050-UP

1шт.

15

01010-81225

BOLT

SN: 10050-UP

2шт.

16

01643-31232

WASHER

SN: 10050-UP

2шт.

17

427-07-11331

BRACKET

SN: 10501-UP

1шт.

18

01435-01020

BOLT

SN: 10501-UP

1шт.

19

421-07-12512

GRILLE ASS'Y

SN: 10050-UP

6шт.

20

421-07-12831

HOSE

SN: 10050-UP

2шт.

21

421-07-12810

CONNECTOR

SN: 10050-UP

4шт.

22

423-07-11110

INSULATOR

SN: 10050-UP

1шт.

Выбрано товаров: 24