Запчасти Komatsu WA800-2 ПОГРУЗ. НАСОС (/) УПРАВЛ-Е РАБОЧИМ ОБОРУДОВАНИЕМ

Схема запчастей Komatsu WA800-2 - ПОГРУЗ. НАСОС (/) УПРАВЛ-Е РАБОЧИМ ОБОРУДОВАНИЕМ
FIT
1:1
100%

Артикул

Название

Примечание

Количество

|$0

708-25-02044

PUMP ASS'Y

SN: 10001-UP

1шт.

|$1

0

PUMP ASS'Y

SN: (10056-10530)

1шт.

|$2

0

PUMP ASS'Y

SN: (10049-10055)

1шт.

|$3

0

PUMP ASS'Y

SN: (...-10048)

1шт.

|$4

0

PUMP ASS'Y

SN: (..-...)

1шт.

|$5

0

PUMP ASS'Y

SN: (.-..)

1шт.

|$6

0

PUMP ASS'Y

SN: (10001-.)

1шт.

|$$8

THESE ASSEMBLIES CONSIST OF ALL PARTS SHOWN IN FIGS.6001 TO 6011.

-1шт.

|$8

708-25-61104

PUMP SUB ASS'Y

SN: 10001-UP

1шт.

|$9

0

PUMP SUB ASS'Y

SN: (10056-10530)

1шт.

|$10

0

PUMP SUB ASS'Y

SN: (10049-10055)

1шт.

|$11

0

PUMP SUB ASS'Y

SN: (...-10048)

1шт.

|$12

0

PUMP SUB ASS'Y

SN: (10001-...)

1шт.

|$13

0

CASE ASS'Y,FRONT

SN: 10001-UP

1шт.

|$$15

THESE ASSEMBLIES CONSIST OF ALL PARTS SHOWN IN FIGS.6002 TO 6004.

-1шт.

|$15

0

CASE ASS'Y,FRONT

SN: (10001-10048)

1шт.

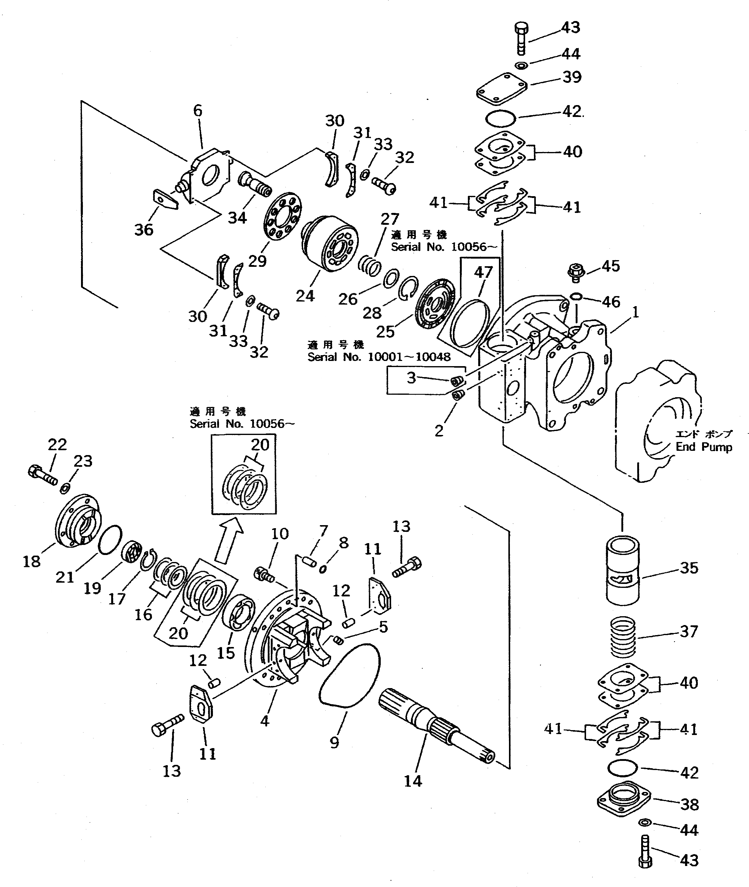
1

0

CASE,FRONT

SN: 10001-UP

1шт.

2

0

PLUG

SN: 10049-UP

8шт.

2

0

PLUG

SN: 10001-10048

8шт.

3

0

PLUG

SN: 10001-10048

1шт.

|$20

0

CRADLE ASS'Y,FRONT

SN: ....-UP

1шт.

|$21

\4\708-25-00050

CRADLE ASS'Y,FRONT

SN: .-....

1шт.

|$$23

(708-25-00051,708-25-14121)

-1шт.

|$23

\4\708-25-00170

CRADLE ASS'Y,FRONT

SN: 10001-.

1шт.

|$$25

(708-25-00051,708-25-14121)

-1шт.

|$25

0

CRADLE SUB ASS'Y,FRONT

SN: 10001-UP

1шт.

4

0

CRADLE,FRONT

SN: .-UP

1шт.

4

0

CRADLE,FRONT

SN: 10001-.

1шт.

5

0

PLUG

SN: .-UP

1шт.

5

0

PLUG

SN: 10001-.

1шт.

6

0

CAM,CAM

SN: ....-UP

1шт.

6

\4\708-25-23410

ROCKER,CAM

SN: 10001-....

1шт.

|$$33

(708-25-23411,708-25-14121)

-1шт.

7

0

JOINT

SN: 10001-UP

1шт.

8

0

O-RING

SN: 10001-UP

1шт.

8

0

O-RING

SN: (10001-10048)

1шт.

9

0

O-RING

SN: 10001-UP

1шт.

9

0

O-RING

SN: (10001-10048)

1шт.

10

0

BOLT

SN: 10001-UP

12шт.

11

0

PLATE

SN: 10001-UP

2шт.

12

0

PIN,DOWEL

SN: 10001-UP

4шт.

13

0

BOLT

SN: 10001-UP

4шт.

14

0

SHAFT,FRONT

SN: .-UP

1шт.

14

0

SHAFT,FRONT

SN: 10001-.

1шт.

15

0

BEARING

SN: 10001-UP

1шт.

15

0

BEARING

SN: (10001-10048)

1шт.

16

0

WASHER KIT

SN: 10001-UP

1шт.

16

0

WASHER, 2.0MM

SN: 10001-UP

1шт.

16

0

WASHER, 2.1MM

SN: 10001-UP

1шт.

16

0

WASHER, 2.2MM

SN: 10001-UP

1шт.

17

0

RING,SNAP

SN: 10001-UP

1шт.

18

708-25-12811

HOUSING

SN: 10056-UP

1шт.

18

0

HOUSING

SN: 10001-10055

1шт.

|$$54

(708-25-12811,708-25-05130)

-1шт.

19

708-25-52860

SEAL,OIL

SN: 10001-UP

1шт.

19

0

SEAL,OIL

SN: (10001-10048)

1шт.

20

0

SHIM KIT

SN: 10056-UP

1шт.

20

0

SHIM, 0.1MM

SN: 10056-UP

1шт.

20

0

SHIM, 0.2MM

SN: 10056-UP

2шт.

20

0

SHIM KIT

SN: 10001-10055

1шт.

20

0

SHIM

SN: 10001-10055

1шт.

20

0

SHIM

SN: 10001-10055

2шт.

20

0

SHIM

SN: 10001-10055

2шт.

21

07000-32080

O-RING

SN: 10001-UP

1шт.

21

0

O-RING

SN: (10001-10048)

1шт.

22

01010-30820

BOLT

SN: 10001-UP

4шт.

23

01643-30823

WASHER

SN: 10001-UP

4шт.

|$67

0

CYLINDER BLOCK ASS'Y,CYLINDER

SN: 10056-UP

1шт.

|$68

\4\708-25-00010

BLOCK ASS'Y,CYLINDER

SN: 10001-10055

1шт.

|$$70

(708-25-00400,708-25-13630(2),

-1шт.

|$$71

708-25-52561,708-2E-12260(2),

-1шт.

|$$72

708-25-52571,708-25-00410)

-1шт.

24

0

BLOCK,CYLINDER

SN: 10001-UP

1шт.

25

0

PLATE,VALVE

SN: 10056-UP

1шт.

25

\4\708-25-13210

PLATE,VALVE

SN: 10001-10055

1шт.

|$$76

(708-25-13610,708-25-13630(2),

-1шт.

|$$77

708-25-52561,708-2E-12260(2),

-1шт.

|$$78

708-25-13620,708-25-52571)

-1шт.

26

0

WASHER

SN: 10001-UP

1шт.

27

0

SPRING

SN: 10001-UP

1шт.

28

0

RING,SNAP

SN: 10001-UP

1шт.

29

0

RETAINER,SHOE

SN: 10001-UP

1шт.

30

0

SPACER KIT

SN: 10001-UP

1шт.

30

0

SPACER, 11.540MM

SN: 10001-UP

2шт.

30

0

SPACER, 11.560MM

SN: 10001-UP

2шт.

30

0

SPACER, 11.575MM

SN: 10001-UP

2шт.

31

0

RETAINER

SN: 10001-UP

2шт.

32

0

SCREW

SN: 10001-UP

4шт.

33

0

WASHER

SN: 10001-UP

4шт.

34

0

PISTON SUB ASS'Y

SN: .-UP

9шт.

34

0

PISTON SUB ASS'Y

SN: 10001-.

9шт.

35

0

PISTON

SN: .-UP

1шт.

35

0

PISTON

SN: 10001-.

1шт.

36

0

SLIDER

SN: ....-UP

1шт.

36

\4\708-25-14120

SLIDER

SN: 10001-....

1шт.

|$$96

(708-25-14121,708-25-23411)

-1шт.

37

708-25-14130

SPRING

SN: 10001-UP

1шт.

38

0

CAP

SN: 10001-UP

1шт.

39

0

CAP

SN: 10001-UP

1шт.

40

0

SHIM KIT

SN: 10001-UP

2шт.

40

0

SHIM, 0.1MM

SN: 10001-UP

2шт.

40

0

SHIM, 0.2MM

SN: 10001-UP

2шт.

40

0

SHIM, 0.5MM

SN: 10001-UP

3шт.

41

0

SHIM, 0.1MM

SN: 10001-UP

4шт.

42

07000-32065

O-RING

SN: 10001-UP

2шт.

42

0

O-RING

SN: (10001-10048)

2шт.

43

01016-31035

BOLT

SN: 10001-UP

8шт.

44

01643-31032

WASHER

SN: 10001-UP

8шт.

45

07044-12412

PLUG

SN: 10001-UP

2шт.

46

07002-32434

O-RING

SN: 10001-UP

2шт.

46

0

O-RING

SN: (10001-10048)

2шт.

47

0

RING

SN: 10056-UP

1шт.

Выбрано товаров: 112