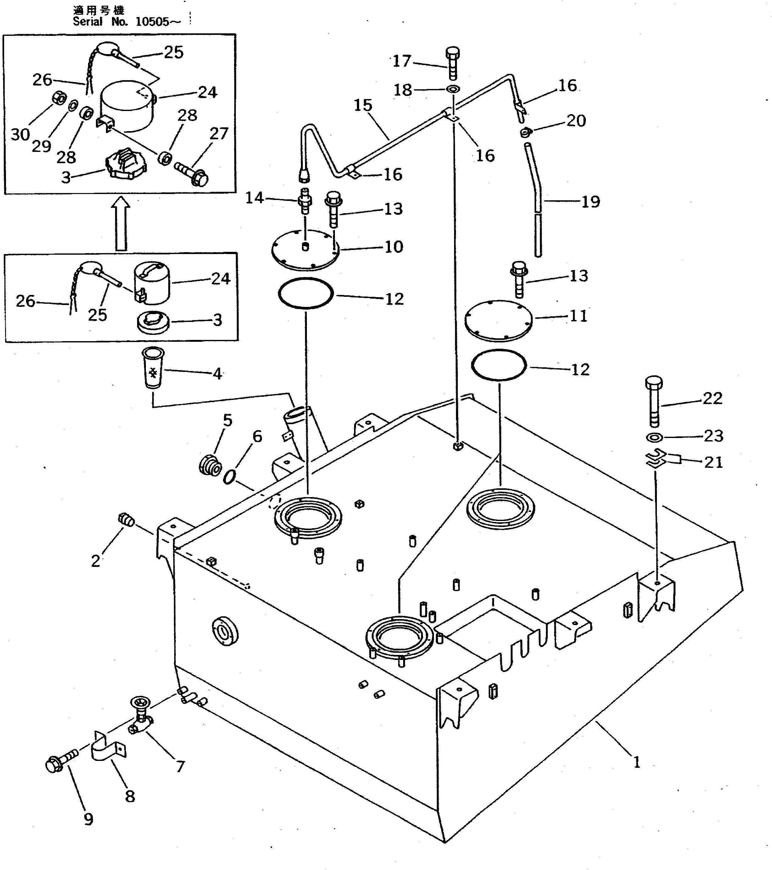
Запчасти Komatsu WA800-2 ТОПЛИВН. БАК.(№-7) КОМПОНЕНТЫ ДВИГАТЕЛЯ И ЭЛЕКТРИКА

Схема запчастей Komatsu WA800-2 - ТОПЛИВН. БАК.(№-7) КОМПОНЕНТЫ ДВИГАТЕЛЯ И ЭЛЕКТРИКА
FIT
1:1
100%

Артикул

Название

Примечание

Количество

1

427-04-11153

TANK,FUEL

SN: 10505-10547

1шт.

1

427-04-11152

TANK,FUEL

SN: 10501-10504

1шт.

1

427-Z02-1170

TANK,FUEL (FOR WATER SEPARATOR)

SN: 10501-@

1шт.

2

426-04-11150

PLUG

SN: 10001-@

1шт.

3

421-04-11260

CAP

SN: 10505-@

1шт.

3

07050-21202

GASKET

SN: 10505-@

1шт.

3

423-04-11360

CAP

SN: 10501-10504

1шт.

3

20Y-04-11240

PACKING

SN: 10501-10504

1шт.

4

07056-18416

STRAINER

SN: 10001-@

1шт.

5

421-60-11622

GAUGE,SIGHT

SN: 10001-@

1шт.

6

07002-15234

O-RING

SN: 10001-@

1шт.

7

416-04-10130

VALVE

SN: 10001-@

1шт.

8

419-04-11120

COVER

SN: 10501-@

1шт.

9

01435-00816

BOLT

SN: 10501-@

2шт.

10

427-04-11290

COVER

SN: 10501-10547

1шт.

11

428-04-11120

COVER

SN: 10501-@

2шт.

12

07000-15200

O-RING

SN: 10501-@

3шт.

13

01435-01025

BOLT

SN: 10501-@

18шт.

14

07214-71013

CONNECTOR

SN: 10001-@

1шт.

15

427-04-11160

TUBE

SN: 10048-@

1шт.

16

424-04-11120

CLIP

SN: 10501-@

3шт.

17

01010-81020

BOLT

SN: 10501-@

3шт.

18

01643-31032

WASHER

SN: 10501-@

3шт.

19

07270-21045

TUBE

SN: 10001-@

1шт.

20

07280-01620

CLAMP

SN: 10001-@

1шт.

21

416-855-1190

SHIM, 0.5MM

SN: 10001-@

10шт.

22

01011-63000

BOLT

SN: 10001-@

6шт.

23

01643-33080

WASHER

SN: 10001-@

6шт.

24

427-04-11321

CAP

SN: 10505-@

1шт.

24

427-04-11320

CAP

SN: 10501-10504

1шт.

|$30

426-46-12290

LINCH PIN ASS'Y

SN: 10505-@

1шт.

|$31

427-46-12230

LINCH PIN ASS'Y

SN: 10501-10504

1шт.

25

426-46-12280

PIN,LINCH

SN: 10501-@

1шт.

26

04050-15050

PIN,COTTER

SN: 10505-@

1шт.

26

04050-15075

PIN,COTTER

SN: 10501-10504

1шт.

27

01435-00870

BOLT

SN: 10505-@

1шт.

28

427-04-11330

SPACER

SN: 10505-@

2шт.

29

01643-30823

WASHER

SN: 10505-@

1шт.

30

01596-00807

NUT,LOCK

SN: 10505-@

1шт.

Выбрано товаров: 39