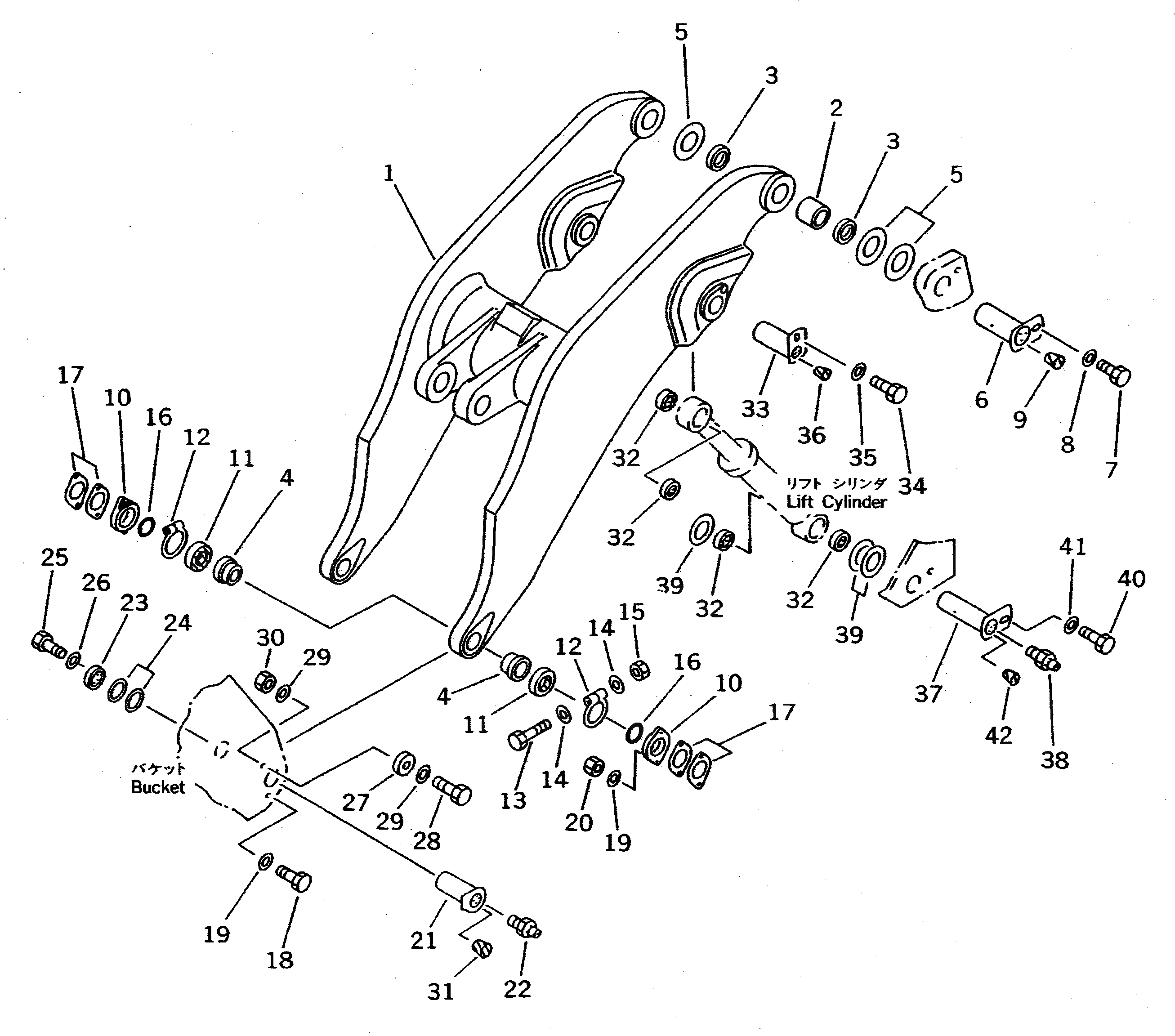
Запчасти Komatsu WA800-2 РУКОЯТЬ (ДЛЯ ПОГРУЗ. И CARRY)(№-9) РАБОЧЕЕ ОБОРУДОВАНИЕ

Схема запчастей Komatsu WA800-2 - РУКОЯТЬ (ДЛЯ ПОГРУЗ. И CARRY)(№-9) РАБОЧЕЕ ОБОРУДОВАНИЕ
FIT
1:1
100%

Артикул

Название

Примечание

Количество

|$0

427-858-1100

LIFT ARM ASS'Y

SN: 10001-@

1шт.

1

0

ARM,LIFT

SN: 10001-@

1шт.

2

428-70-11891

BUSHING

SN: 10611-@

2шт.

2

0

BUSHING

SN: 10001-10610

2шт.

3

427-09-11110

SEAL,DUST

SN: 10001-@

4шт.

4

427-70-11352

BUSHING

SN: 10001-10592

4шт.

5

427-70-11460

SHIM, 1.5MM

SN: 10001-@

4шт.

5

427-70-11470

SHIM, 3.0MM

SN: 10001-@

2шт.

6

427-70-11992

PIN

SN: 10001-@

2шт.

7

01010-52450

BOLT

SN: 10001-@

2шт.

8

427-70-11480

WASHER

SN: 10001-@

2шт.

9

07049-01620

PLUG

SN: 10001-@

6шт.

10

427-70-11362

FLANGE

SN: 10001-10592

4шт.

11

427-09-11140

SEAL,DUST

SN: 10001-10592

4шт.

12

427-70-11250

O-RING

SN: 10001-@

4шт.

13

426-09-11150

BOLT

SN: 10001-@

4шт.

14

01641-20608

WASHER

SN: 10001-@

8шт.

15

426-09-11130

NUT

SN: 10001-@

4шт.

16

07000-05160

O-RING

SN: 10001-10592

4шт.

17

427-70-11330

SHIM, 0.5MM

SN: 10001-10592

12шт.

17

427-70-11340

SHIM, 2.3MM

SN: 10001-10592

8шт.

18

01011-52025

BOLT

SN: 10001-10592

8шт.

19

01643-32060

WASHER

SN: 10001-10592

16шт.

20

427-01-11150

NUT

SN: 10001-10592

8шт.

21

427-853-1110

PIN,L.H.

SN: 10001-@

1шт.

21

427-853-1120

PIN,R.H.

SN: 10001-@

1шт.

22

07020-00000

FITTING,GREASE

SN: 10001-@

2шт.

23

427-70-11260

RETAINER

SN: 10001-@

2шт.

24

427-70-11270

SHIM, 0.2MM

SN: 10001-@

4шт.

24

427-70-11280

SHIM, 0.5MM

SN: 10001-@

10шт.

25

01010-52070

BOLT

SN: 10001-@

6шт.

26

01643-32060

WASHER

SN: 10001-@

6шт.

27

425-70-11250

CAM

SN: 10001-@

2шт.

28

01010-52495

BOLT

SN: 10001-@

2шт.

29

01643-32460

WASHER

SN: 10001-@

4шт.

30

01580-12419

NUT

SN: 10001-@

2шт.

31

07049-01620

PLUG

SN: 10001-@

9шт.

32

427-09-11120

SEAL,DUST

SN: 10001-@

8шт.

33

427-70-11971

PIN

SN: 10001-@

2шт.

34

01010-52035

BOLT

SN: 10001-@

2шт.

35

427-70-11290

WASHER

SN: 10001-@

2шт.

36

07049-01620

PLUG

SN: 10001-@

6шт.

37

427-70-11981

PIN

SN: 10001-@

2шт.

38

07020-00000

FITTING,GREASE

SN: 10001-@

2шт.

39

427-70-11440

SHIM, 1.5MM

SN: 10001-@

4шт.

39

427-70-11450

SHIM, 3.0MM

SN: 10001-@

2шт.

40

01010-52035

BOLT

SN: 10001-@

2шт.

41

427-70-11290

WASHER

SN: 10001-@

2шт.

42

07049-01620

PLUG

SN: 10001-@

6шт.

Выбрано товаров: 49