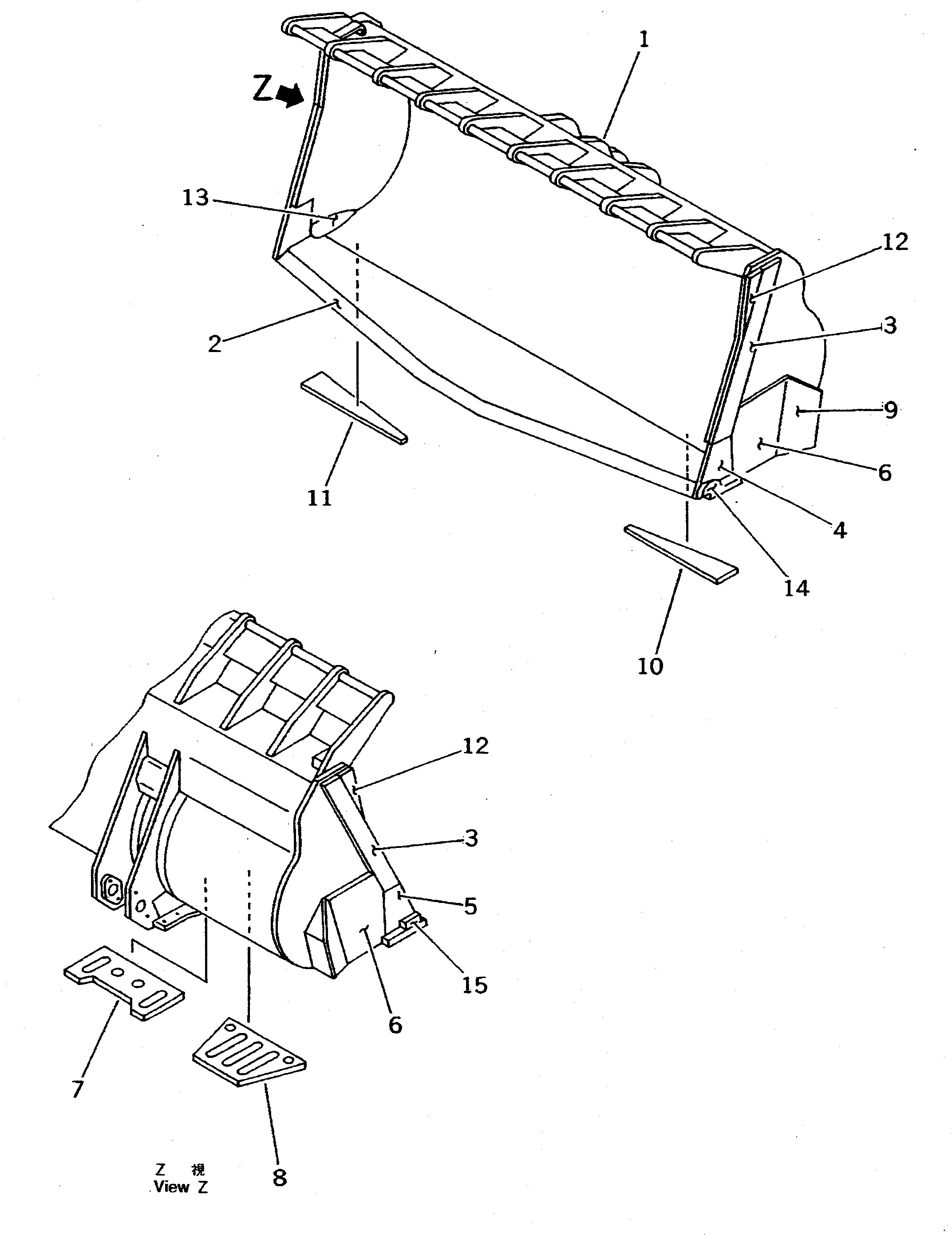
Запчасти Komatsu WA800-2 КОВШ¤ .M (V-ОБРАЗН) (БЕЗ TOOTH) РАБОЧЕЕ ОБОРУДОВАНИЕ

Схема запчастей Komatsu WA800-2 - КОВШ¤ .M (V-ОБРАЗН) (БЕЗ TOOTH) РАБОЧЕЕ ОБОРУДОВАНИЕ
FIT
1:1
100%

Артикул

Название

Примечание

Количество

|$0

427-809-1311

BUCKET ASS'Y,WITHOUT TOOTH

SN: 10001-UP

1шт.

|$1

0

BUCKET ASS'Y,WITHOUT TOOTH

SN: (10001-..)

1шт.

1

427-819-1212

BUCKET

SN: ..-UP

1шт.

1

427-819-1211

BUCKET

SN: .-..

1шт.

1

427-819-1210

BUCKET

SN: 10001-.

1шт.

2

427-70-12125

EDGE (WELDED)

SN: ..-UP

1шт.

2

427-70-12124

EDGE (WELDED)

SN: 10001-..

1шт.

3

427-70-12133

PLATE (WELDED)

SN: 10001-UP

2шт.

4

427-70-12152

PLATE,L.H. (WELDED)

SN: ..-UP

1шт.

4

427-70-12151

PLATE,L.H. (WELDED)

SN: 10001-..

1шт.

5

427-70-12162

PLATE,R.H. (WELDED)

SN: ..-UP

1шт.

5

427-70-12161

PLATE,R.H. (WELDED)

SN: 10001-..

1шт.

6

427-819-1260

PLATE (WELDED)

SN: 10001-UP

2шт.

7

427-819-1250

PLATE (WELDED)

SN: 10001-UP

2шт.

8

427-819-1240

PLATE (WELDED)

SN: 10001-UP

2шт.

9

427-819-1270

GUARD (WELDED)

SN: 10001-UP

2шт.

10

427-819-1220

PLATE,L.H. (WELDED)

SN: 10001-UP

1шт.

11

427-819-1230

PLATE,R.H. (WELDED)

SN: 10001-UP

1шт.

12

427-70-12232

PLATE (WELDED)

SN: 10001-UP

2шт.

13

426-809-1320

GUSSET (WELDED)

SN: 10001-UP

2шт.

14

427-70-13580

PLATE,L.H. (WELDED)

SN: 10001-.

1шт.

15

427-70-13590

PLATE,R.H. (WELDED)

SN: 10001-.

1шт.

Выбрано товаров: 0