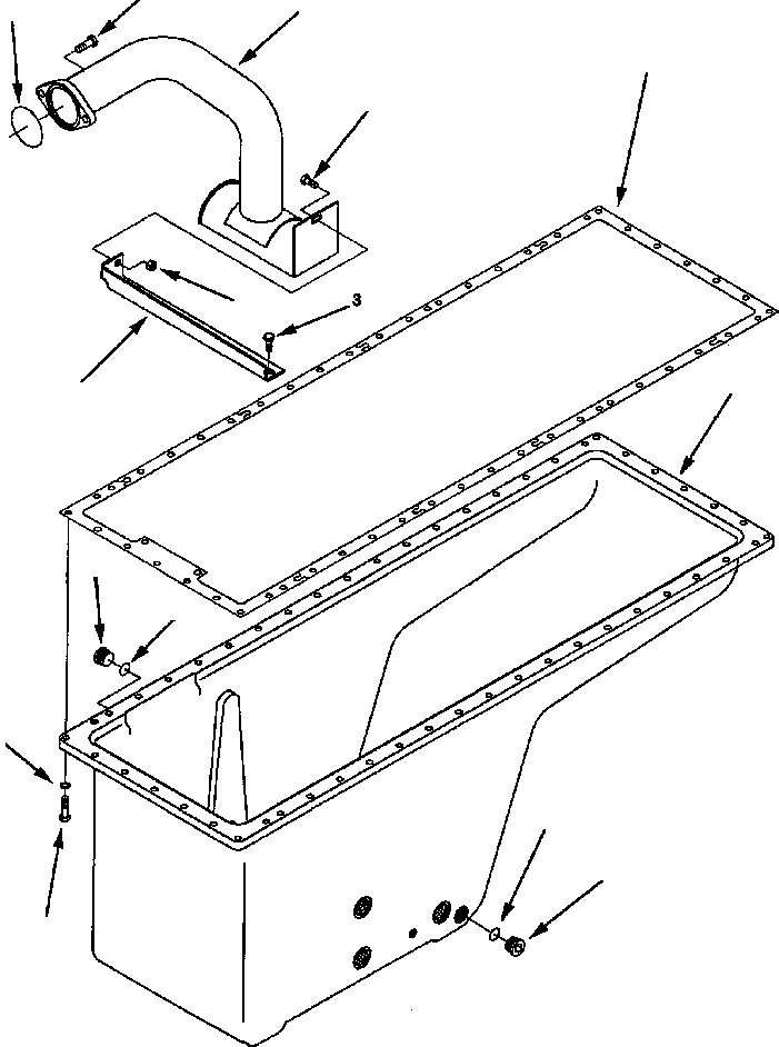
Запчасти Komatsu WA800-2LC МАСЛЯНЫЙ ПОДДОН БЛОК ЦИЛИНДРОВ

Схема запчастей Komatsu WA800-2LC - МАСЛЯНЫЙ ПОДДОН БЛОК ЦИЛИНДРОВ
1
9
6
2
3
7
8
10
11
12
5
12
11
4
FIT
1:1
100%

Артикул

Название

Примечание

Количество

1

6216-94-3170

BOLT (M12x1.75x35)

2шт.

2

6215-21-5830

GASKET, OIL PAN

1шт.

3

01010-31025

BOLT (M10x1.50x25)

2шт.

4

6216-34-6410

BOLT (M10x1.50x40)

50шт.

5

01643-31032

WASHER, PLAIN (M10)

53шт.

6

07000-E2080

O-RING

1шт.

7

01580-11008

NUT (M10x1.50)

1шт.

8

6216-24-5110

PAN, OIL

1шт.

9

6216-54-6330

TUBE, OIL SUCTION

1шт.

10

6216-54-6340

BRACKET, OIL TUBE

1шт.

|$10

6216-24-1910

PLUG, THREADED (M27)

2шт.

11

NSS

PLUG, THREADED

1шт.

12

6216-24-1920

O-RING

1шт.

Выбрано товаров: 13