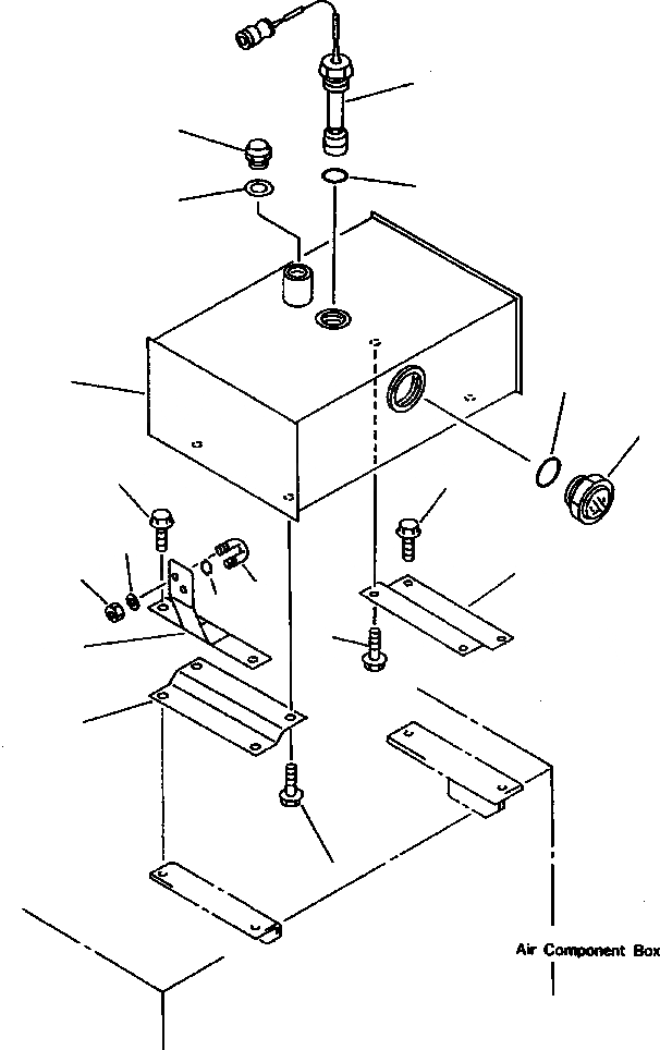
Запчасти Komatsu WA800-2LC FIG NO. 7B ТОРМОЗ. МАСЛОПРОВОДЯЩАЯ ЛИНИЯ (ТОРМОЗ. МАСЛ. БАК) ВЕДУЩ. ВАЛ, МОСТS КОЛЕСА & ТОРМОЗ. СИСТЕМАS

Схема запчастей Komatsu WA800-2LC - FIG NO. 7B ТОРМОЗ. МАСЛОПРОВОДЯЩАЯ ЛИНИЯ (ТОРМОЗ. МАСЛ. БАК) ВЕДУЩ. ВАЛ, МОСТS КОЛЕСА & ТОРМОЗ. СИСТЕМАS
2
4
3
5
1
7
6
15
16
14
8
13
11
12
9
10
8
9
FIT
1:1
100%

Артикул

Название

Примечание

Количество

1

427-35-15250

RESERVOIR, TANK

1шт.

2

7861-91-4510

SENSOR

1шт.

3

07002-23634

O-RING

1шт.

4

07030-03034

BREATHER

1шт.

5

07005-03016

GASKET

1шт.

6

421-60-11622

GAUGE, SIGHT

1шт.

7

07002-15234

O-RING

1шт.

8

427-35-15260

PLATE

2шт.

9

01435-01220

BOLT

4шт.

10

427-35-11950

BRAKET

1шт.

11

07283-31529

CLIP

1шт.

12

07283-51523

SEAT

1шт.

13

01596-00807

NUT

2шт.

14

01643-30823

WASHER

2шт.

15

01435-01230

BOLT

2шт.

16

01435-01225

BOLT

4шт.

Выбрано товаров: 16