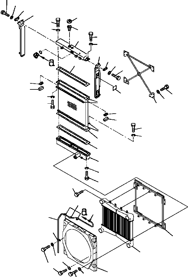
Запчасти Komatsu WA800-3LC C-A РАДИАТОР СИСТЕМА ОХЛАЖДЕНИЯ

Схема запчастей Komatsu WA800-3LC - C-A РАДИАТОР СИСТЕМА ОХЛАЖДЕНИЯ
21
22
17
16
2
12
13
3
12
1
13
15
17
22
7
21
14
18
11
36
31
32
8
10
30
14
18
10
9
11
5
7
6
20
19
4
33
34
35
33
25
24
27
26
23
29
28
FIT
1:1
100%

Артикул

Название

Примечание

Количество

|$0

427-03-21400

RADIATOR

SN: A50001--UP

1шт.

1

427-03-21410

TANK, UPPER

SN: A50001--UP

1шт.

2

421-03-21210

CAP, PRESSURE

SN: A50001--UP

1шт.

3

101-03-13160

STRAINER

SN: A50001--UP

1шт.

4

01010-81210

BOLT

SN: A50001--UP

8шт.

5

427-03-21420

CORE

SN: A50001--UP

1шт.

6

427-03-11270

TANK, LOWER

SN: A50001--UP

1шт.

7

427-03-11191

GASKET

SN: A50001--UP

2шт.

8

427-03-11150

PLATE

SN: A50001--UP

2шт.

9

427-03-11160

PLATE

SN: A50001--UP

2шт.

10

01010-81030

BOLT

SN: A50001--UP

124шт.

11

01602-21030

WASHER, LOCK

SN: A50001--UP

124шт.

12

01010-81250

BOLT

SN: A50001--UP

8шт.

13

01602-21236

WASHER, LOCK

SN: A50001--UP

8шт.

14

425-03-11180

PLATE

SN: A50001--UP

2шт.

15

427-03-21430

SUPPORT, LEFT

SN: A50001--UP

1шт.

16

427-03-21440

SUPPORT, RIGHT

SN: A50001--UP

1шт.

17

427-03-11630

PLATE

SN: A50001--UP

2шт.

18

427-03-11210

PACKING

SN: A50001--UP

2шт.

19

01010-81260

BOLT

SN: A50001--UP

8шт.

20

01602-21236

WASHER, LOCK

SN: A50001--UP

8шт.

21

01435-01016

BOLT

SN: A50001--UP

2шт.

22

01643-31232

WASHER

SN: A50001--UP

10шт.

23

427-03-21460

SHROUD

SN: A50001--UP

1шт.

24

427-03-21480

AFTERCOOLER ASSEMBLY

SN: A50001--UP

2шт.

25

427-03-21470

BRACKET

SN: A50001--UP

1шт.

26

01010-81225

BOLT

SN: A50001--UP

28шт.

27

01643-31232

WASHER

SN: A50001--UP

28шт.

28

01010-81220

BOLT

SN: A50001--UP

6шт.

29

01643-31232

WASHER

SN: A50001--UP

6шт.

30

427-03-11230

STAY, CROSS

SN: A50001--UP

1шт.

31

01010-81230

BOLT

SN: A50001--UP

28шт.

32

01643-31232

WASHER

SN: A50001--UP

28шт.

33

08036-21214

CLIP

SN: A50001--UP

4шт.

34

20Y-03-11330

CLIP

SN: A50001--UP

1шт.

35

427-03-21450

HOSE

SN: A50001--UP

1шт.

36

427-03-21490

PLATE

SN: A50001--UP

2шт.

Выбрано товаров: 37